GM Service Manual Online
For 1990-2009 cars only

Tail Lamp Replacement Oldsmobile

Removal Procedure

    Important: Vehicles that are equipped with a multi-disc CD changer do not require removal of the rear compartment trim in order to service the right taillamp. A taillamp access cover has been added to the rear compartment side trim. All other taillamps require removal of the rear compartment side trim.

  1. Remove the rear compartment sill plate/rear trim. Rear to Rear Compartment Side Trim Replacement - Right Side .

  2. Object Number: 281574  Size: SH
  3. Remove the nuts (1).
  4. Remove the screws that retain the taillamp bezel at the inner edge of the taillamp (2).
  5. Disconnect the connector (3).
  6. Remove the taillamp (2) from the vehicle.
  7. Remove the grommet from the rear end panel.
  8. Remove the socket from the lamp by completing the following procedure:
  9. 7.1. Release the tang.
    7.2. Turn the socket in a counterclockwise direction.
  10. Remove the bulb from the socket.

Installation Procedure

  1. Install the bulb to the socket.
  2. Turn the socket in a clockwise direction in order to install the socket to the lamp.
  3. Install the grommet.

  4. Object Number: 281574  Size: SH

    Notice: There should be a 4 mm (5/32 in) gap between the taillamp and the rear applique panel.

  5. Install the lamp (2) to the vehicle.
  6. Install the connector (3).
  7. Install the nuts (1) and the screws at the inner edge of the taillamp (2).
  8. Install the rear compartment trim. Rear to Rear Compartment Side Trim Replacement - Right Side .

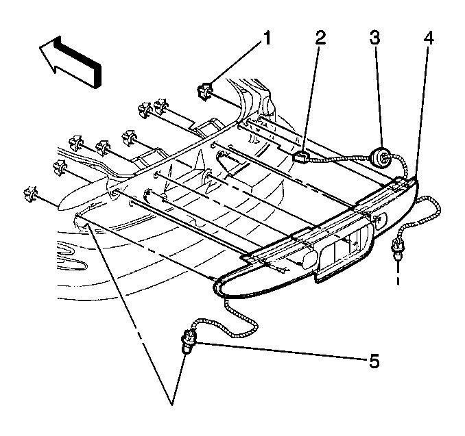
Tail Lamp Replacement Buick

Removal Procedure

  1. Remove the rear compartment sill plate/rear trim. Refer to Rear Compartment Side Trim Replacement - Right Side .

  2. Object Number: 281576  Size: SH
  3. Remove the nuts (1).
  4. Remove the taillamp assembly (4) from the vehicle.
  5. Remove the sockets (5) from the taillamp (4) by completing the following procedure:
  6. 4.1. Release the tang.
    4.2. Turn the socket (5) in a counterclockwise direction.
  7. Remove the bulbs from the sockets (5).

Installation Procedure


    Object Number: 281576  Size: SH
  1. Install the bulbs to the sockets (5).
  2. Install the sockets to the taillamp assembly (4).
  3. Install the taillamp assembly (4) to the vehicle.
  4. Install the nuts (1).
  5. Install the rear compartment trim. Refer to Rear Compartment Side Trim Replacement - Right Side .