GM Service Manual Online
For 1990-2009 cars only

Removal Procedure

  1. Remove the right side of the rear compartment trim. Refer to one of the following procedures: Rear Compartment Side Trim Replacement - Right Side in Body Rear End.

  2. Object Number: 258873  Size: SH
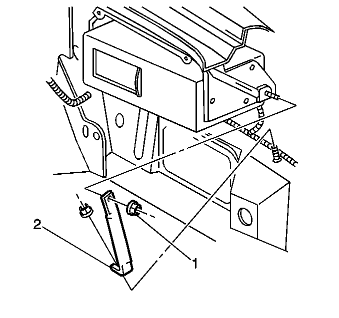
  3. Remove the 3 upper fasteners (2).

  4. Object Number: 258876  Size: SH
  5. Remove the side fastener (1).

  6. Object Number: 258878  Size: SH
  7. Disconnect the electrical connectors (2, 3).
  8. Remove the CD changer.

  9. Remove the CD changer from the mounting bracket. Refer to CD Changer From Bracket Removal .

Installation Procedure

  1. Install the CD changer to the mounting bracket. Refer to CD Changer From Bracket Removal .

  2. Object Number: 258878  Size: SH
  3. Connect the electrical connectors (2, 3).
  4. Install the CD changer (1) to the studs (4).

  5. Object Number: 258876  Size: SH

    Notice: Use the correct fastener in the correct location. Replacement fasteners must be the correct part number for that application. Fasteners requiring replacement or fasteners requiring the use of thread locking compound or sealant are identified in the service procedure. Do not use paints, lubricants, or corrosion inhibitors on fasteners or fastener joint surfaces unless specified. These coatings affect fastener torque and joint clamping force and may damage the fastener. Use the correct tightening sequence and specifications when installing fasteners in order to avoid damage to parts and systems.

  6. Install the side fasteners (1).
  7. Tighten
    Tighten the retainers to 7 N·m (62 lb in).


    Object Number: 258873  Size: SH
  8. Install the upper fasteners (2).
  9. Tighten
    Tighten the retainers to 7 N·m (62 lb in).

  10. Install the right side of the rear compartment trim. Refer to one of the following procedures: Rear Compartment Side Trim Replacement - Right Side in Body Rear End.