GM Service Manual Online
For 1990-2009 cars only

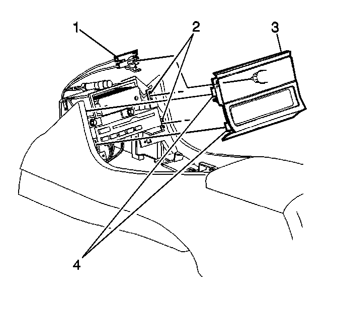
Console Trim Plate Replacement Buick

Removal Procedure


    Object Number: 282995  Size: SH
  1. Carefully pull outward on the upper trim plate (3) in order to remove the upper trim plate from the console assembly.
  2. Disconnect the electrical connectors (1).

Installation Procedure


    Object Number: 282995  Size: SH
  1. Connect the electrical connectors (1).
  2. Align the tabs (4) on the upper console trim plate (3) with the retainers (2) on the instrument panel opening. Push the trim plate inward.