GM Service Manual Online
For 1990-2009 cars only

Door Body Side Molding Replacement Oldsmobile

Removal Procedure


    Object Number: 281987  Size: SH
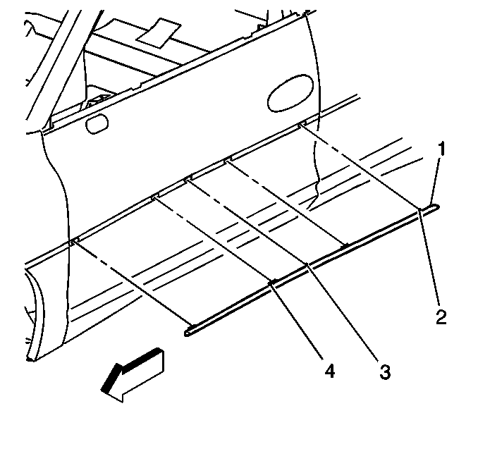
  1. Using a flat bladed tool, gently pry the front door moldings (1) in order to release the clips (4).

  2. Object Number: 281986  Size: SH
  3. Using a flat bladed tool, gently pry the rear door moldings (1) in order to release the clips (3).
  4. Remove the door molding(s) (1).

Installation Procedure


    Object Number: 281986  Size: SH
  1. Install the rear door molding(s) (1) over the locating pin (2).

  2. Object Number: 281987  Size: SH
  3. Install the front door molding(s) (1) over the locating pin (2).
  4. Press the molding(s) (1) in order to engage the clips (4).

Door Body Side Molding Replacement Buick

Removal Procedure


    Object Number: 281985  Size: SH
  1. Using a flat bladed tool, gently pry the door molding (1) in order to release the clips (3).
  2. Remove the door molding (1).

Installation Procedure


    Object Number: 281985  Size: SH
  1. Install the door molding (1) over the locating clip (3).
  2. Press the molding (1) in order to engage the clips (2).