GM Service Manual Online
For 1990-2009 cars only

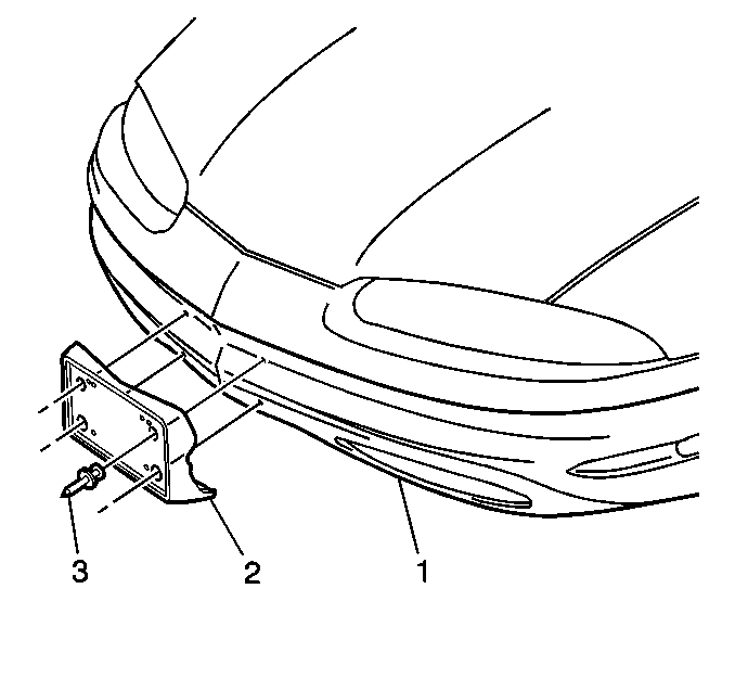
Removal Procedure


    Object Number: 282611  Size: SH
  1. Drill out the rivets (3) that retain the license plate bracket (2).
  2. Remove the license plate bracket (2).

Installation Procedure


    Object Number: 282611  Size: SH
  1. Install the license plate bracket (2).
  2. Install the new rivets (3) in order to retain the license plate bracket (2).