GM Service Manual Online
For 1990-2009 cars only
Makes
🢒
Buick
🢒
1999
🢒
Riviera
🢒
Body and Accessories
🢒
Body Front End
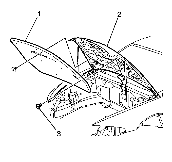
🢒 Hood Insulator Replacement
Removal Procedure
Remove the push-in retainers (3) from the hood insulator (1).
Remove the hood insulator (1).
Installation Procedure
Install the hood insulator (1).
Install the push-in retainers (3).