GM Service Manual Online
For 1990-2009 cars only

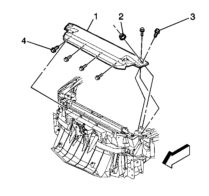
Removal Procedure


    Object Number: 283575  Size: SH
  1. Remove the bolts (4) that retain the front of the upper radiator support (1).
  2. Remove the following components from the outer ends of the upper radiator support (1):
  3. • The 2 bolts (3)
    • The 1 nut (2)
  4. Remove the rear strap push-in retainer and the strap.
  5. Remove the upper radiator support (1).

Installation Procedure


    Object Number: 283575  Size: SH
  1. Install the upper radiator support (1).
  2. Install the strap with push-in retainers.
  3. Install the 2 bolts (3) and 1 nut (2) at the outer ends of the upper radiator support (1).
  4. Tighten
    Tighten the bolts (3) and the nut (2) to 10.5 N·m (93 lb in).

  5. Install the bolts (4) in order to retain the front of the upper radiator support (1).
  6. Tighten
    Tighten the bolts (4) and the nut (2) to 10.5 N·m (93 lb in).