GM Service Manual Online
For 1990-2009 cars only

Removal Procedure

    Caution: Disconnect the power window switch when working inside the driver door. When operated, the Express Up/Down Feature allows the door window to move very quickly, without stopping, which could cause personal injury.


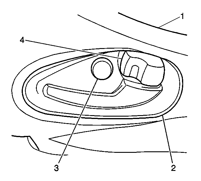
    Object Number: 501187  Size: SH
  1. Remove the bezel finish cover (3) from the door handle bezel (2).
  2. Using a thin-bladed tool, unsnap the upper tab.

  3. Remove 1 screw from the door handle bezel.
  4. Unsnap the door handle bezel (2).
  5. Lift off the bezel over the door handle in order to remove the bezel.

  6. Object Number: 284104  Size: SH
  7. Remove the 2 screws from the lower door under the map pocket.
  8. Lift the trim panel (1) upward in order to disengage the hooks (2) on the backside of the panel.
  9. Disconnect the electrical connectors.
  10. Remove the door trim panel (1).

Installation Procedure

  1. Place the door trim panel to the door inner panel.

  2. Object Number: 284104  Size: SH
  3. Connect the electrical connectors.
  4. Engage the hooks (2) on the backside of the trim panel (1) into the door inner panel in order to install the trim panel.
  5. Notice: Use the correct fastener in the correct location. Replacement fasteners must be the correct part number for that application. Fasteners requiring replacement or fasteners requiring the use of thread locking compound or sealant are identified in the service procedure. Do not use paints, lubricants, or corrosion inhibitors on fasteners or fastener joint surfaces unless specified. These coatings affect fastener torque and joint clamping force and may damage the fastener. Use the correct tightening sequence and specifications when installing fasteners in order to avoid damage to parts and systems.

  6. Install the 2 fasteners under the map pocket.
  7. Tighten
    Tighten the two fasteners under the map pocket to 1.9 N·m (17 lb in).


    Object Number: 501187  Size: SH
  8. Snap the door handle bezel (2) into position on the trim panel.
  9. Install the 1 fastener into the door handle bezel.
  10. Tighten
    Tighten the fastener to the door handle bezel to 3 N·m (27 lb in).

  11. Install the bezel finish cover (3).