GM Service Manual Online
For 1990-2009 cars only

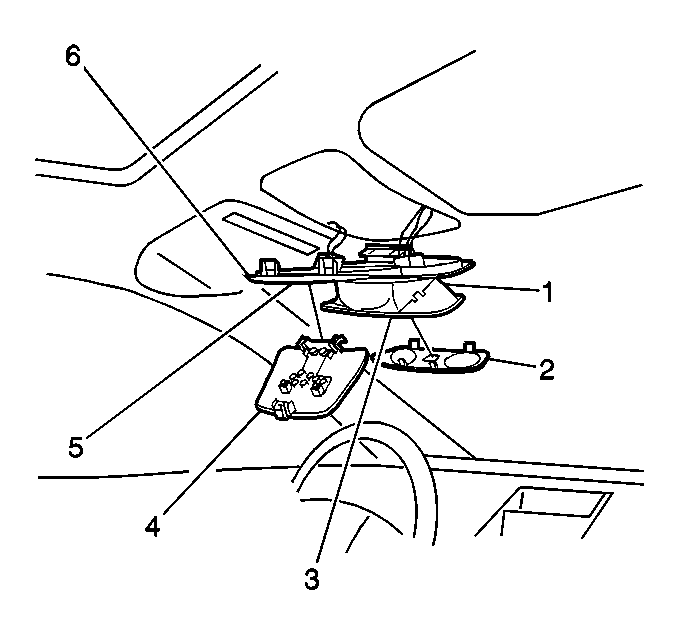
Removal Procedure


    Object Number: 288683  Size: SH
  1. Insert a narrow flat-bladed tool into the notch of the lens (2) in order to remove the front courtesy/reading lamp lens.
  2. Use a narrow flat-bladed tool in order to disengage the snap legs at the front and the rear of the lamp (1).
  3. Remove the lamp assembly (1).

  4. Use a narrow flat-bladed tool in order to disengage the tabs that retain the overhead compartment bezel (6) to the roof.
  5. One tab is at the front of the roof and 2 tabs are at the rear of the roof.

  6. Remove the fasteners that retain the lamp switches (5) to the bezel (6).
  7. Disengage the tabs that retain the sunroof switch (3) to the bezel (6).
  8. If you replace the sunroof switch, use a cut and splice process. Refer to Repair Procedures Cell 5 in Electrical Diagnosis.

Installation Procedure


    Object Number: 288683  Size: SH
  1. Install the sunroof switch (3) to the bezel (6).
  2. Install the fasteners that retain the switches (3,5).
  3. Install the overhead compartment bezel (6) to the roof.
  4. Install the lamp assembly (1).
  5. Install the courtesy lamp/reading lamp lens (2).