GM Service Manual Online
For 1990-2009 cars only

Headlining Trim Panel Replacement Buick

Removal Procedure

    Notice: Use care when removing and installing the headliner. If reusing the headliner lay the headliner down flat on a clean surface. Excessive bending will damage the headliner.

  1. Remove the shoulder belt bolts from the B-pillar. Refer to Seat Belt Replacement - Driver or Passenger in Seat Belts.
  2. Remove the upper B-pillar trim. Refer to Upper Pillar Garnish Molding Replacement .
  3. Remove the courtesy lamp. Refer to Garage Door Opener Replacement .
  4. Remove the front upper pinchweld lace.
  5. Remove the windshield garnish molding trim. Refer to Windshield Pillar Garnish Molding Replacement .
  6. Remove the rear seat back. Refer to Rear Seat Back Replacement in Seats.
  7. Remove the rear quarter trim panels. Refer to Rear Quarter Trim Panel Replacement .
  8. Remove the body lock pillar trim panels. Refer to Body Lock Pillar Trim Replacement .

  9. Object Number: 289190  Size: SH
  10. Remove the assist handles (2).
  11. Disconnect the electrical connectors to the following components:
  12. • The headliner harness
    • The courtesy lamp
    • The sunshade (4)
  13. Remove the sunshades (4). Refer to Sunshade Replacement .
  14. Remove the map light bezel.

  15. Object Number: 381596  Size: SH
  16. Remove the inside rear view mirror (2). Refer to Inside Rearview Mirror Replacement .
  17. Disconnect the electrical connectors to the mirror (1) and the map light.
  18. Recline the front seat backs, full rearward.
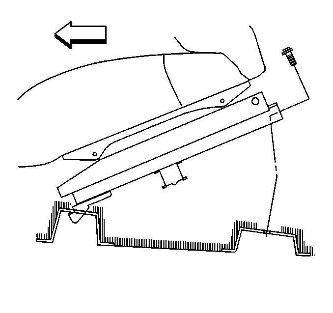
  19. Remove the headliner (1) through the passenger door.

Installation Procedure


    Object Number: 289193  Size: SH

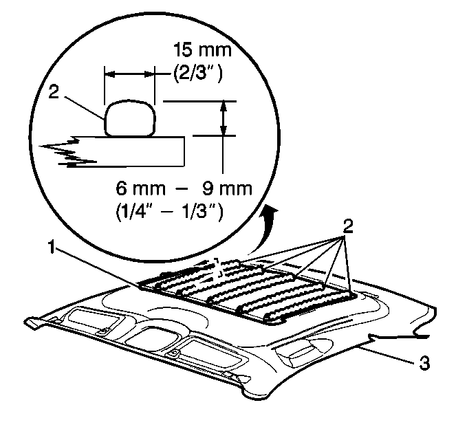
    Notice: If cardboard sound insulator is removed from the roof, reinstall using adhesive. Apply five 6 mm (¼ in) beads of adhesive where it was previously removed.

  1. Install the headliner (1) through the front passenger door.
  2. Connect the connectors to the mirror and to the map light.
  3. Install the map light bezel.

  4. Object Number: 289190  Size: SH
  5. Connect the connectors to the following components:
  6. • The headliner harness
    • The courtesy lamp
    • The sunshade (4)
  7. Install the sunshade (4). Refer to Sunshade Replacement .
  8. Install the assist handles (2). Refer to Assist Handle Replacement .

  9. Object Number: 421867  Size: SH
  10. Install the courtesy lamps (1).
  11. Install the rear body lock pillar moldings. Refer to Body Lock Pillar Trim Replacement .
  12. Install the rear quarter trim panels. Refer to Rear Quarter Trim Panel Replacement .
  13. Install the windshield garnish moldings. Refer to Windshield Pillar Garnish Molding Replacement .
  14. Install the front upper pinchweld lace.
  15. Install the upper B-pillar trim panels. Refer to Upper Pillar Garnish Molding Replacement .
  16. Incline the front seat backs to the upright position.
  17. Install the rear seat back. Refer to Rear Seat Back Replacement in Seats.
  18. Install the shoulder belt and fasteners. Refer to Seat Belt Replacement - Driver or Passenger in Seat Belts.

Headlining Trim Panel Replacement Oldsmobile

Removal Procedure


    Object Number: 287828  Size: SH
  1. Remove the front passenger seat. Refer to Seat Replacement in Seats.
  2. Recline the front drivers seat to the full recline position.

  3. Object Number: 185433  Size: SH
  4. Remove the lower pillar garnish moldings. Refer to Lower Pillar Garnish Molding Replacement .

  5. Object Number: 185437  Size: SH
  6. Remove the driver and passenger shoulder belt guide and bolt. Refer to Seat Belt Replacement - Driver or Passenger in Seat Belts.

  7. Object Number: 289241  Size: SH
  8. Remove the upper pillar garnish moldings (3). Refer to Upper Pillar Garnish Molding Replacement .
  9. Remove the windshield pillar garnish moldings (1). Refer to Windshield Pillar Garnish Molding Replacement .
  10. Remove the pinch weld lace (2).

  11. Object Number: 501189  Size: SH
  12. Remove the sail panels (1). Refer to Sail Panel Replacement .

  13. Object Number: 289231  Size: SH
  14. Remove the rear assist handles (4). Refer to Assist Handle Replacement .
  15. Disconnect the headliner electrical harness connector at the sail panel.

  16. Object Number: 289234  Size: SH
  17. Remove the sunshades (1). Refer to Sunshade Replacement .
  18. Remove the right front assist handle. Refer to Assist Handle Replacement .

  19. Object Number: 289261  Size: SH
  20. Remove the map light lens (3), housing (2), bezel (1). Refer to Garage Door Opener Replacement in Garage Door Opener.

  21. Object Number: 289190  Size: SH
  22. Carefully remove the headliner (1) through the passenger rear door, with the aid from an assistant.

Installation Procedure


    Object Number: 289190  Size: SH
  1. Install the headliner (1) into the vehicle through the rear passenger door, with the aid from an assistant.

  2. Object Number: 289193  Size: SH

    Notice: If cardboard sound insulator is removed from the roof, reinstall using adhesive. Apply five 6 mm (¼ in) beads of adhesive where it was previously removed.

  3. Apply the glue to the headliner in order to secure the cardboard to the roof.

  4. Object Number: 289231  Size: SH
  5. Install the rear assist handles (4). Refer to Assist Handle and Rear Coat Hook Replacement .
  6. Install the front assist handles. Refer to Assist Handle Replacement .

  7. Object Number: 289261  Size: SH
  8. Install the map light bezel (1). Refer to Garage Door Opener Replacement in Garage Door Opener.

  9. Object Number: 289234  Size: SH
  10. Install the sunshades (1). Refer to Sunshade Replacement .
  11. Connect the headliner electrical connector at the sail panel.

  12. Object Number: 501189  Size: SH
  13. Install the sail panels (1). Refer to Sail Panel Replacement .
  14. Install the windshield pillar garnish moldings (1). Refer to Windshield Pillar Garnish Molding Replacement .

  15. Object Number: 289241  Size: SH
  16. Install the upper pillar garnish moldings (3). Refer to Upper Pillar Garnish Molding Replacement .
  17. Install the upper pinch weld laces.

  18. Object Number: 185437  Size: SH
  19. Install the upper seat belt guide and bolts. Refer to Seat Belt Replacement - Driver or Passenger in Seat Belts.

  20. Object Number: 185433  Size: SH
  21. Install the lower pillar garnish moldings. Refer to Lower Pillar Garnish Molding Replacement

  22. Object Number: 287828  Size: SH
  23. Install the front passenger seat. Refer to Seat Replacement in Seats.
  24. Incline the drivers seat to the original position.