GM Service Manual Online
For 1990-2009 cars only

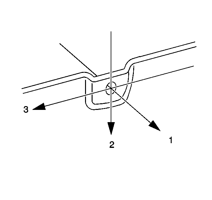
Description

Measurement

1

Width to center line

2

Height to datum line

3

Length to zero line


Object Number: 408950  Size: SH

Some replacement components are sold with the mounting holes or with the features intentionally missing. In such cases, ensure that you perform accurate measurements before drilling or cutting into the component.