GM Service Manual Online
For 1990-2009 cars only
Makes
🢒
Buick
🢒
1999
🢒
Riviera
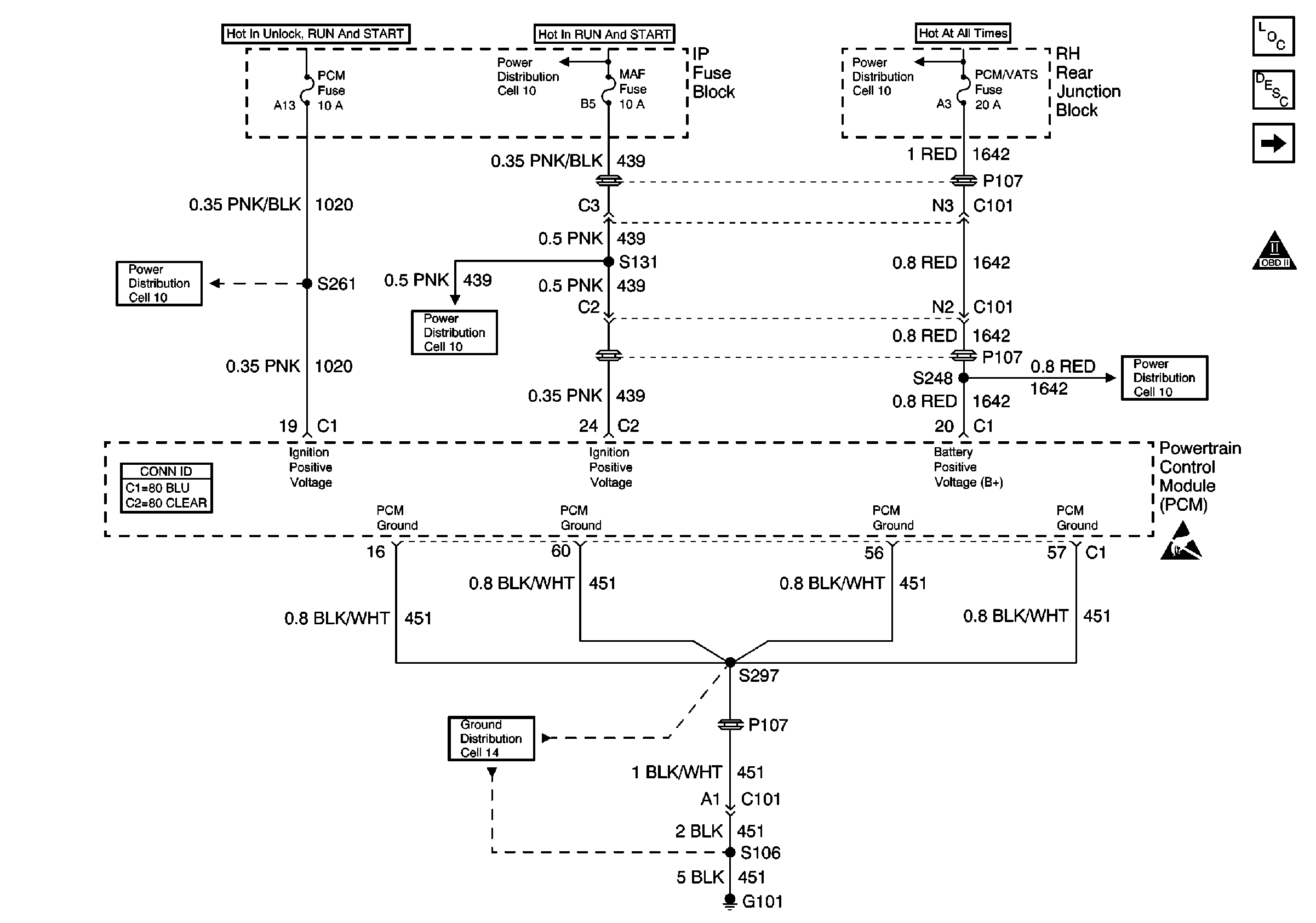
🢒 Cell 20: PCM Power and Grounds
Cell 20: PCM Power and Grounds
Cell 20: PCM Power and Grounds
Engine Controls Components
Powertrain Control Module Description
Cell 20: MIL Control, DLC
OBDII Symbol Description Notice
Power Distribution Schematics
Engine Controls Schematic References
Engine Controls Schematic References
Power Distribution Schematics
Power Distribution Schematics
Ground Distribution Schematics
Power Distribution Schematics
Powertrain Control Module Connector End Views
Handling ESD Sensitive Parts Notice