GM Service Manual Online
For 1990-2009 cars only
Makes
🢒
Buick
🢒
1999
🢒
Riviera
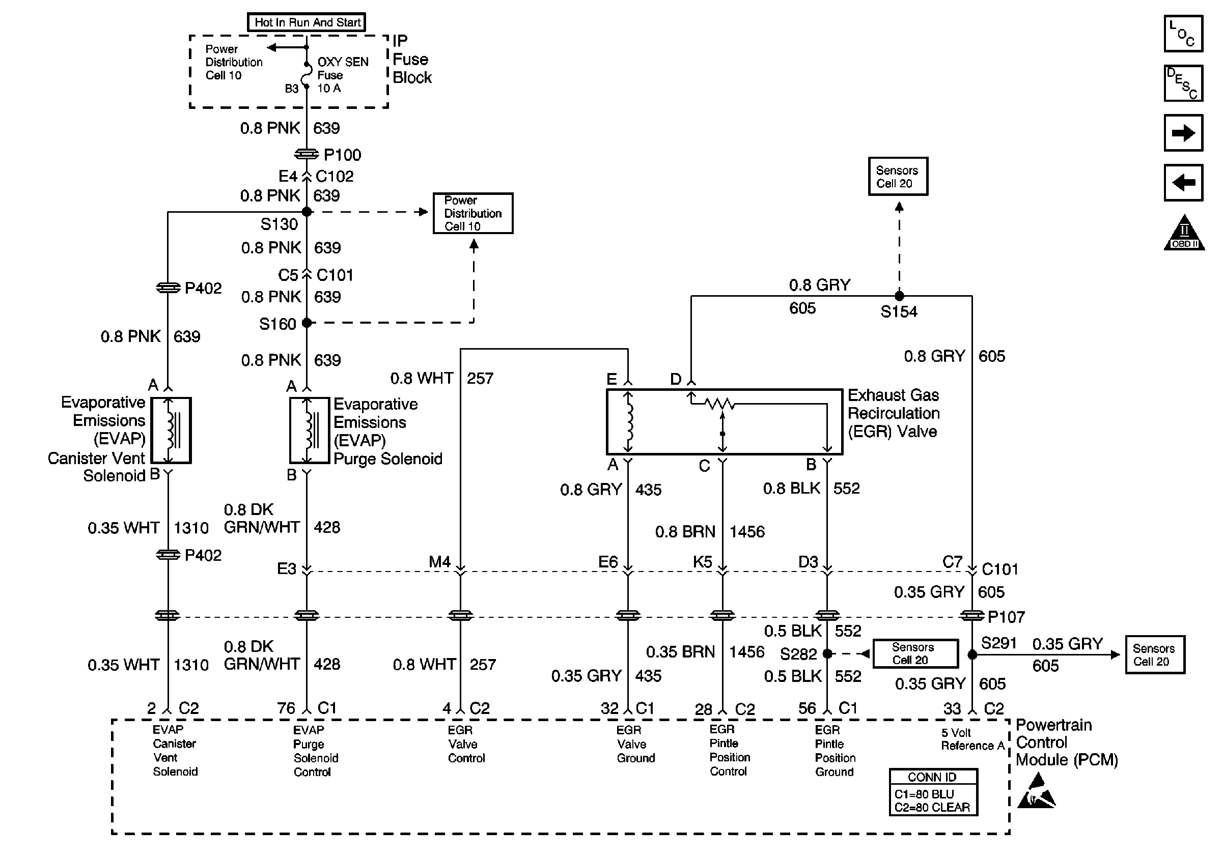
🢒 Cell 20: EVAP Control, EGR Valve
Cell 20: EVAP Control, EGR Valve
Cell 20: EVAP Control, EGR Valve
Engine Controls Components
Powertrain Control Module Description
Cell 20: MAF, IAC, Knock Sensors
Cell 20: Sensors
OBDII Symbol Description Notice
Power Distribution Schematics
Power Distribution Schematics
Cell 20: Sensors
Cell 20: Sensors
Cell 20: Sensors
Powertrain Control Module Connector End Views
Handling ESD Sensitive Parts Notice