GM Service Manual Online
For 1990-2009 cars only
Makes
🢒
Buick
🢒
1999
🢒
Riviera
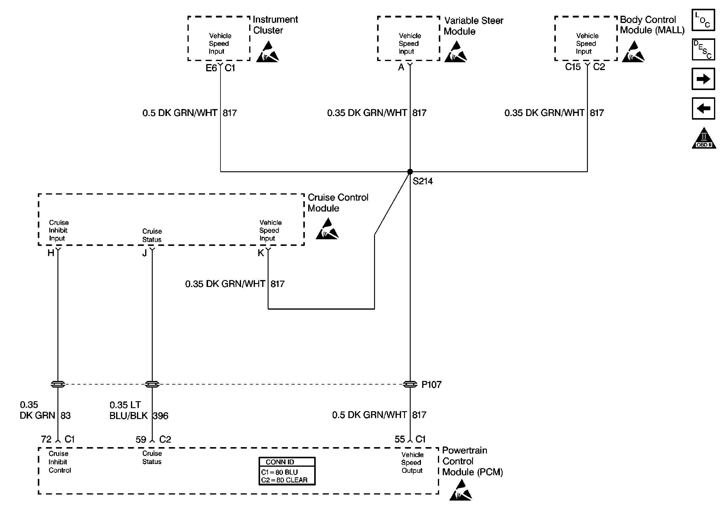
🢒 Cell 20: Cruise Control Module
Cell 20: Cruise Control Module
Cell 20: Cruise Control Module
Engine Controls Components
Powertrain Control Module Description
Cell 20: Generator, Oil Level Switch, EBTCM
Cell 20: Heated Oxygen Sensors
OBDII Symbol Description Notice
Instrument Panel, Gages, and Console Connector End Views
Body Control Module Components
Handling ESD Sensitive Parts Notice
Handling ESD Sensitive Parts Notice
Handling ESD Sensitive Parts Notice
Handling ESD Sensitive Parts Notice
Powertrain Control Module Connector End Views
Handling ESD Sensitive Parts Notice