GM Service Manual Online
For 1990-2009 cars only
Makes
🢒
Buick
🢒
1999
🢒
Riviera
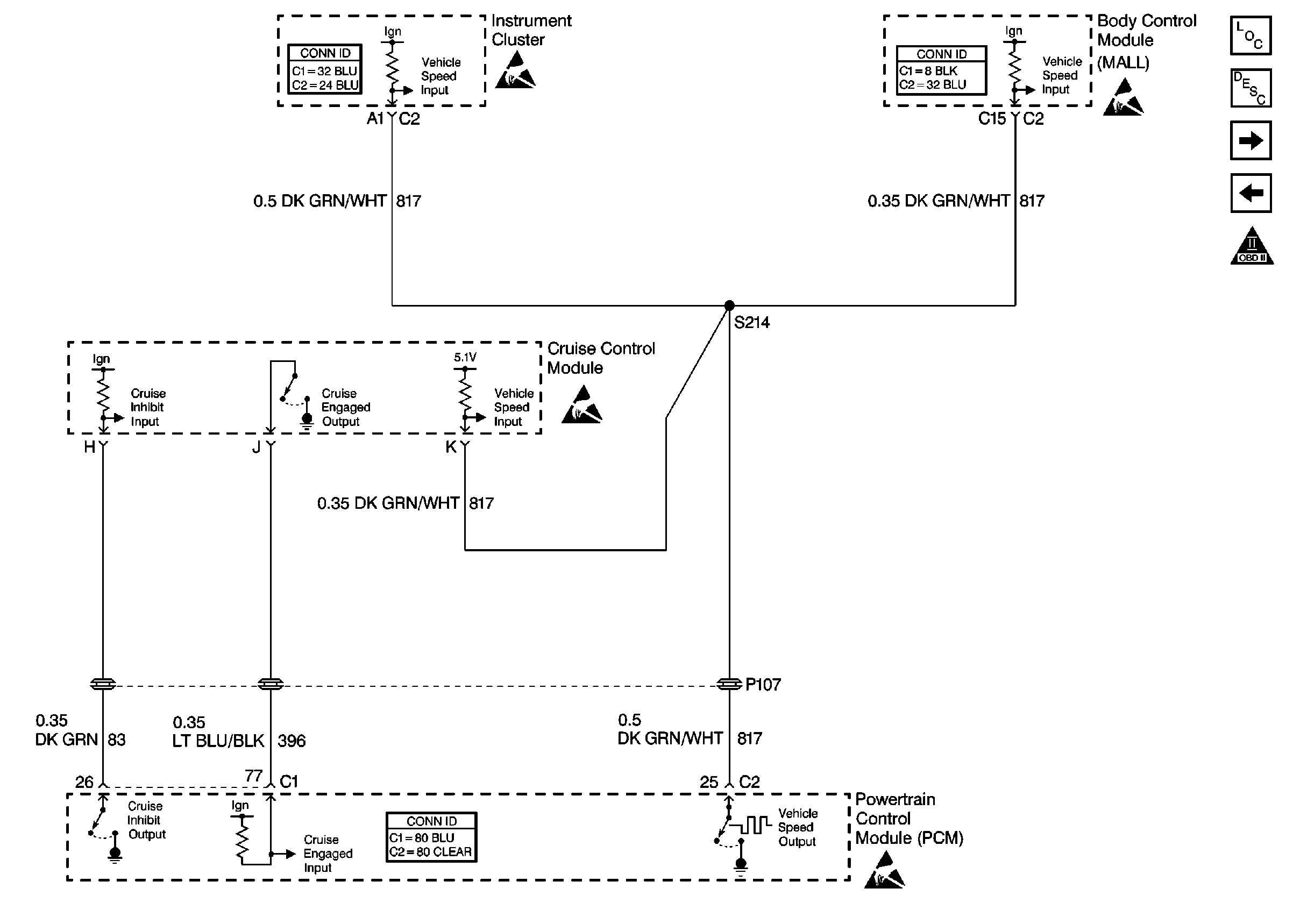
🢒 Cell 21: Cruise Control Module
Cell 21: Cruise Control Module
Cell 21: Cruise Control Module
Engine Controls Components
Powertrain Control Module Description
Cell 21: Engine Oil Level Switch, Generator, EBTCM
Cell 21: PSP, IAC Valve, Coolant Level Switch
OBD II Symbol Description Notice
Handling ESD Sensitive Parts Notice
Handling ESD Sensitive Parts Notice
Handling ESD Sensitive Parts Notice
Handling ESD Sensitive Parts Notice
Powertrain Control Module Connector End Views