GM Service Manual Online
For 1990-2009 cars only

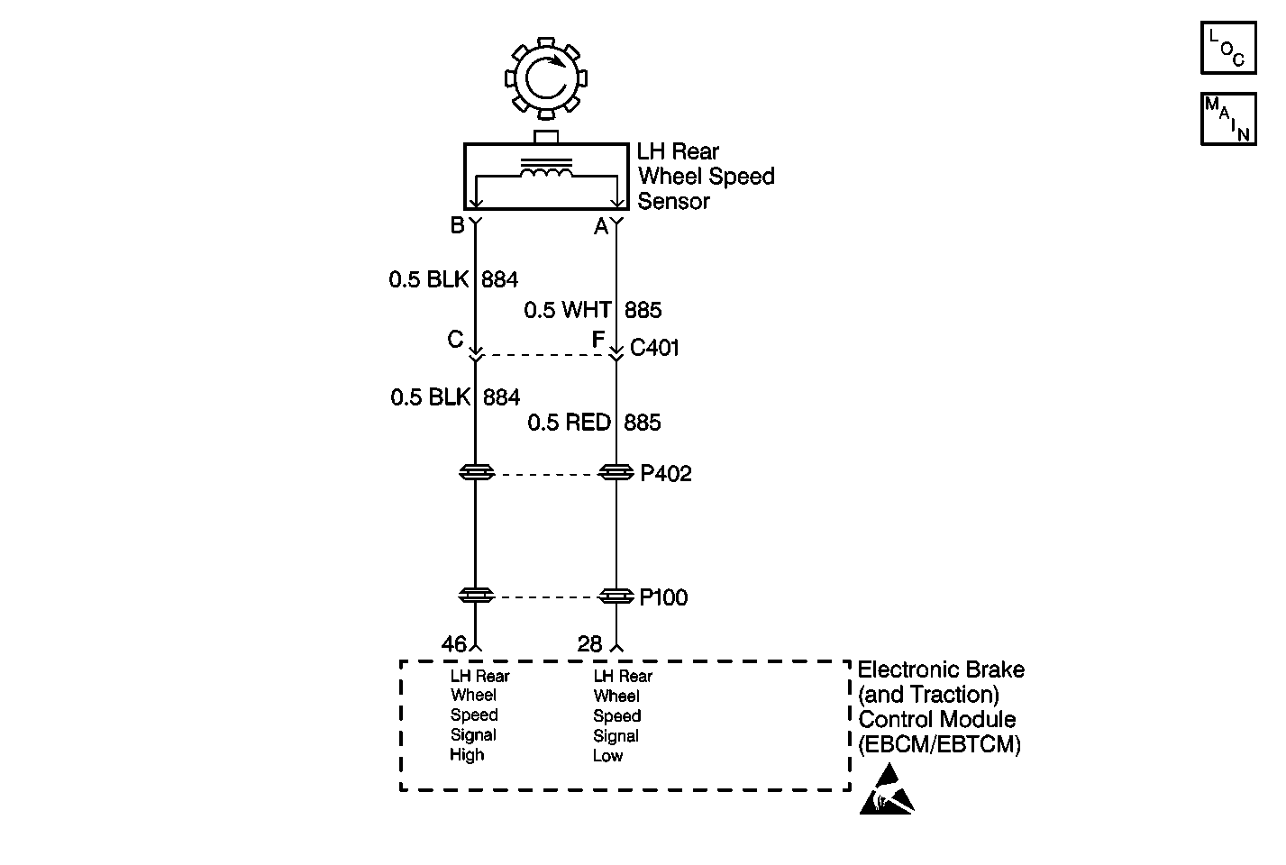
Object Number: 188499  Size: MF
ABS Components
Cell 44: Stoplamp/BTSI Switch, Inlet/Outlet Solenoid Valve, and WHEEl Speed Sensors
Handling ESD Sensitive Parts Notice

Circuit Description

The wheel speed sensor creates an AC voltage as each wheel turns. The frequency of the voltage is proportional to the wheel speed.

The voltage is magnetically induced. The voltage is caused by a toothed sensor ring (mounted on the drive axle) which passes the stationary pickup coil of the wheel speed sensor.

The EBCM/EBTCM uses the wheel speed sensor signal to calculate the following values:

    • The vehicle reference speeds
    • The speed of each wheel
    • The acceleration
    • The slip values

Use these values in order to determine when antilock or traction control (when equipped) is required.

Conditions for Setting the DTC

The EBCM/EBTCM performs two basic checks on the wheel speed sensors:

    • Sensor continuity
    • Sensor output

When the ignition is first turned to RUN, the EBCM/EBTCM performs the wheel speed sensor continuity check.

Action Taken When the DTC Sets

The following actions will be taken when the DTC sets:

    • A malfunction DTC is stored
    • The ABS is disabled
    • The ANTILOCK indicator lamp is turned ON

Conditions for Clearing the DTC

The DTC will be cleared under following conditions:

    • Conditions for the malfunction are no longer present. Use the Scan Tool clear DTCs function.
    • 100 ignition switch key cycles have passed with no malfunctions detected

Diagnostic Aids

Any condition that causes a lack of continuity in the front wheel speed circuit could result in a DTC C1235 being set.

The following conditions may cause a lack of continuity in the front wheel speed circuit:

    • An open
    • A short to ground
    • A short between the 2 wheel speed sensor circuits in the wiring harness between the speed sensor and the EBCM/EBTCM.

An open or short to ground across the wheel speed sensor coil could also trigger this code.

Step

Action

Value(s)

Yes

No

1

Was the ABS Diagnostic System Check performed?

--

Go to Step 2

Go to Diagnostic System Check - ABS

2

  1. Inspect the LH rear wheel speed sensor wiring and the connectors for damage.
  2. Inspect the LH rear wheel speed sensor for looseness or damage.

Is the sensor or the wiring physically damaged?

--

Go to Step 3

Go to Step 4

3

Repair or replace the components as necessary. Refer to Wiring Repairs in Wiring Systems or Rear Wheel Bearing and Hub Replacement in Rear Suspension.

Is the repair complete?

--

Go to Diagnostic System Check - ABS

--

4

  1. Disconnect the LH rear wheel speed sensor connector.
  2. Use the J 39200 in order to measure the resistance between terminals A and B of the wheel speed sensor.

Is the resistance within the specified range?

850-1350 ohms

Go to Step 5

Go to Step 6

5

  1. Use the J 39200 in order to measure the resistance between terminal A of the LH rear wheel speed sensor and the vehicle ground.
  2. Use the J 39200 in order to measure the resistance between terminal B of the LH rear wheel speed sensor and the vehicle ground.

Is the resistance within the specified range for both measurements A and B?

OL (Infinite)

Go to Step 7

Go to Step 6

6

Replace the LH rear wheel speed sensor. Refer to Rear Wheel Bearing and Hub Replacement in Rear Suspension.

Is the repair complete?

--

Go to Diagnostic System Check - ABS

--

7

  1. Turn the ignition switch to the OFF position.
  2. Disconnect the EBCM/EBTCM connector.
  3. Use the J 39200 in order to measure the resistance between EBCM/EBTCM terminal 46 and the vehicle ground.

Is the resistance within the specified range?

OL (Infinite)

Go to Step 9

Go to Step 8

8

Repair the short to ground in CKT 884. Refer to Wiring Repairs in Wiring Systems.

Is the repair complete?

--

Go to Diagnostic System Check - ABS

--

9

Use the J 39200 in order to measure the resistance between the EBCM/EBTCM terminal 28 and the vehicle ground.

Is the resistance within the specified range?

OL (Infinite)

Go to Step 11

Go to Step 10

10

Repair the short to ground in CKT 885. Refer to Wiring Repairs in Wiring Systems.

Is the repair complete?

--

Go to Diagnostic System Check - ABS

--

11

  1. Reconnect the LH rear wheel speed sensor.
  2. Use the J 39200 in order to measure the resistance between the EBCM/EBTCM terminals 28 and 46.

Is the resistance within the specified range?

850-1350 ohms

Go to Step 15

Go to Step 12

12

  1. Connect a fused jumper wire between the EBCM/EBTCM terminal 46 and the vehicle ground.
  2. Disconnect the LH rear wheel speed sensor connector.
  3. Use the J 39200 in order to measure the resistance between the LH rear wheel speed sensor harness connector terminal B and the vehicle ground.

Is the resistance less than the specified value?

2 ohms

Go to Step 13

Go to Step 14

13

Repair the open or high resistance in CKT 885. Refer to Wiring Repairs in Wiring Systems.

Is the repair complete?

--

Go to Diagnostic System Check - ABS

--

14

Repair the open or high resistance in CKT 884. Refer to Wiring Repairs in Wiring Systems.

Is the repair complete?

--

Go to Diagnostic System Check - ABS

--

15

  1. Turn the ignition switch to the RUN position.
  2. Use the J 39200 in order to measure the voltage between the EBCM/EBTCM terminal 46 and the vehicle ground.

Is the voltage greater than the specified value?

1 V

Go to Step 16

Go to Step 17

16

Repair the short to the voltage in CKT 884. Refer to Wiring Repairs in Wiring Systems.

Is the repair complete?

--

Go to Diagnostic System Check - ABS

--

17

Use the J 39200 in order to measure the voltage between the EBCM/EBTCM terminal 28 and the vehicle ground.

Is the voltage greater than the specified value?

1 V

Go to Step 18

Go to Step 19

18

Repair the short to the voltage in CKT 885. Refer to Wiring Repairs in Wiring Systems.

Is the repair complete?

--

Go to Diagnostic System Check - ABS

--

19

Replace the EBCM/EBTCM. Refer to Electronic Brake and Traction Control Module Replacement .

Is the repair complete?

--

Go to Diagnostic System Check - ABS

--