GM Service Manual Online
For 1990-2009 cars only

DTC P1860 TCC PWM Solenoid Circuit Electrical 3.1L VIN M


Object Number: 29639  Size: MF
Handling ESD Sensitive Parts Notice
OBD II Symbol Description Notice
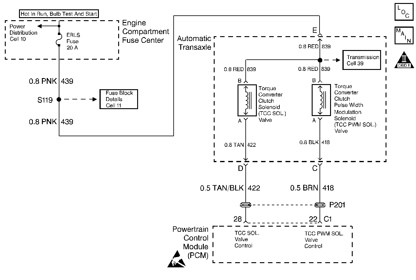
Automatic Transmission Controls Schematics 3.1L VIN M
Automatic Transmission Components 3.1L VIN M
Automatic Transmission Components 3.1L VIN M

Circuit Description

The Torque Converter Clutch Pulse Width Modulation Solenoid Valve (TCC PWM Sol Valve) controls the fluid acting on the converter clutch valve. The clutch valve controls the application and the release of the TCC. When you command the TCC PWM Sol Valve OFF, the Powertrain Control Module (PCM) receives high voltage. When you command the TCC PWM Sol Valve ON, the PCM receives low voltage.

If the PCM detects a received voltage that is outside the calibration limits, then DTC P1860 sets. DTC P1860 is a type A DTC .

Conditions for Setting the DTC

    • No System Voltage Malfunction DTC P0560
    • The engine speed is more than 500 RPM.
    • Not in fuel shut off
    • The PCM commands the solenoid to greater than 90%, and the voltage on circuit 418 remains low (0 volts).
    • The PCM commands the solenoid to less than 10%, and the voltage on ciruit 418 remains high (B+).
    • All conditions are met for 5 seconds.

Action Taken When the DTC Sets

    • The PCM inhibits TCC operation.
    • The PCM inhibits 4th gear if the transmission is in the hot mode.
    • The PCM illuminates the Malfunction Indicator Lamp (MIL).

Conditions for Clearing the MIL/DTC

    • The PCM turns OFF the MIL after three consecutive ignition cycles without a failure reported.
    • A scan tool can clear the DTC from the PCM history. The PCM clears the DTC from the PCM history if the vehicle completes 40 warm-up cycles without a failure reported.
    • The PCM cancels the DTC default actions when the fault no longer exists and the ignition is OFF long enough in order to power down the PCM.

Diagnostic Aids

  1. Inspect the wiring for poor electrical connections at the PCM. Inspect the wiring at the transmission 7-way connector. Inspect the wiring at the 2-way TCC connector. Look for the following conditions:
  2.  - A bent terminal
     - A backed out terminal
     - A damaged terminal
     - Poor terminal tension
     - A chafed wire
     - A broken wire inside the insulation
  3. When diagnosing for an intermittent short or open condition, massage the wiring harness while watching the test equipment for a change.
  4. Ensure that the transmission fluid is at the proper level.

Test Description

The numbers below refer to the step numbers on the diagnostic table.

  1. This step isolates the engine harness from the transmission harness. Use a test lamp in order to verify the circuitry.

  2. This step verifies that circuit 418 is not open or shorted to power.

  3. This step verifies that the TCC PWM solenoid is not shorted across its windings or increased its resistance.

DTC P1860 Torque Converter Clutch (PWM) Solenoid Electrical

Step

Action

Value(s)

Yes

No

1

Was the Powertrain On-Board Diagnostic (OBD) System Check performed?

--

Go to Step 2

Go to Powertrain On Board Diagnostic (OBD) System Check

2

  1. Install the scan tool.
  2. With the engine OFF, turn the ignition switch to the RUN position.
  3. Important: Before clearing the DTCs, use the scan tool in order to record the Freeze Frame and Failure Records for reference. The Clear Info function erases the Freeze Frame and Failure Records from the PCM.

  4. Record the DTC Freeze Frame and Failure Records.

Are DTCs P0753, P0758, and P0740 set?

--

Go to Step 3

Go to Step 6

3

  1. Remove the ERLS fuse.
  2. Inspect the fuse for an open.

Refer to Troubleshooting Procedures, Section 8.

Did you find and correct a problem?

--

Go to Step 4

Go to Step 5

4

Repair the short to ground in circuit 439. Refer to Troubleshooting Procedures, Section 8.

Did you find and correct a problem?

--

Go to Step 19

--

5

Repair the open in circuit 439. Refer to Troubleshooting Procedures, Section 8.

Did you find and correct a problem?

--

Go to Step 19

--

6

  1. Turn the ignition switch OFF.
  2. Disconnect the transmission 7-way connector.
  3. Install the J 38835 Transmission Electrical Jumper to the engine harness connector.
  4. Connect a test lamp from terminal E to terminal C of the jumper.
  5. With the engine OFF, turn the ignition ON.
  6. Additional DTCs will set.

Is the test lamp OFF?

--

Go to Step 7

Go to Step 8

7

Inspect circuit 418 for an open. Refer to Troubleshooting procedures, Section 8.

Did you find and correct a problem?

--

Go to Step 19

Go to Step 18

8

  1. Select A/T Outputs, TCC PWM Solenoid.
  2. Cycle the TCC PWM solenoid ON and OFF three times.
  3. Important: When the TCC PWM solenoid is ON, the test lamp will be brilliant. When the TCC PWM solenoid is OFF, the test lamp will pulsate.

Does the solenoid cycle ON and OFF as commanded?

--

Go to Step 12

Go to Step 9

9

Inspect circuit 418 for a short to ground. Refer to Troubleshooting Procedures, Section 8.

Did you find and correct a problem?

--

Go to Step 19

Go to Step 10

10

Is the test lamp always OFF?

--

Go to Step 11

--

11

Inspect circuit 418 for a short to power. Refer to Troubleshooting Procedures, Section 8.

Did you find and correct a problem?

--

Go to Step 19

Go to Step 18

12

  1. Turn the ignition switch OFF.
  2. Disconnect the Transmission Jumper from the engine harness.
  3. Connect the J 38835 Transmission Electrical Jumper to the transmission harness 7-way connector.
  4. Connect an ohmmeter from terminal E to terminal C of the jumper.

Is the measured resistance within the specified range?

10ohms to 15ohms

Go to Step 18

Go to Step 13

13

Is the resistance greater than the specified value?

100ohms

Go to Step 14

Go to Step 15

14

  1. Inspect the RED wire circuit 839 for an open.
  2. Inspect the BLK wire circuit 418 for an open.

Refer to Troubleshooting Procedures, Section 8.

Did you find and correct a problem?

--

Go to Step 19

Go to Step 17

15

Connect an ohmmeter from terminal C of the jumper to ground.

Is the measured resistance less than the specified value?

100ohms

Go to Step 16

Go to Step 17

16

Inspect the BLK wire circuit 418 for a short to ground. Refer to Troubleshooting Procedures, Section 8.

Did you find and correct a problem?

--

Go to Step 19

--

17

Replace the TCC PWM Sol. Valve. Refer to Solenoids and Wiring Harness, in On-Vehicle Service.

Is the replacement complete?

--

Go to Step 19

--

18

Replace the PCM. Refer to Powertrain Control Module Replacement/Programming , Section 6

Is the replacement complete?

--

Go to Step 19

--

19

In order to verify your repair, perform the following procedure:

  1. Select DTC.
  2. Select Clear Info.
  3. Operate the vehicle under the following conditions:
  4. • The ignition switch is ON.
    • The engine speed is more than 500 RPM.
    • The vehicle is not in fuel shut off.
    • Drive the vehicle for a TCC ON cycle.
    • The system voltage must be 10-16 volts.
    • The PCM commands the solenoid to greater than 90%, and the voltage on circuit 418 increases to B+.
    • The PCM commands the solenoid to less than 10%, and the voltage on circuit 418 decreases to 0 volts.
    • All conditions are met for 5 seconds.
  5. Select Specific DTC. Enter DTC P1860.

Has the test run and passed?

--

System OK

Begin the diagnosis again. Go to Step 1

DTC P1860 TCC PWM Solenoid Circuit Electrical 2.4L VIN T


Object Number: 65630  Size: MF
Handling ESD Sensitive Parts Notice
OBD II Symbol Description Notice
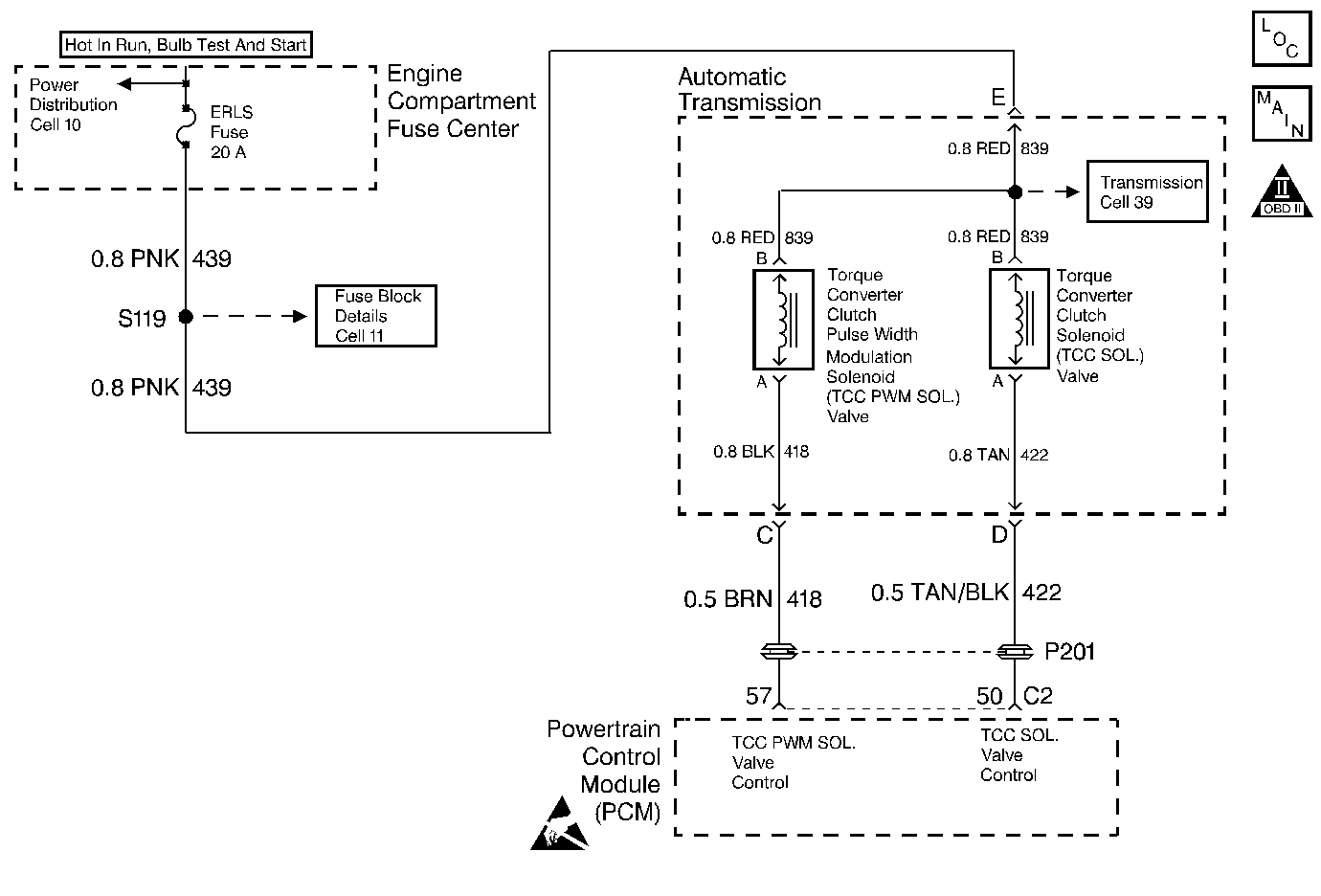
Automatic Transmission Controls Schematics 2.4L VIN T
Automatic Transmission Components 2.4L VIN T

Circuit Description

The Torque Converter Clutch Pulse Width Modulation Solenoid Valve (TCC PWM Sol Valve) controls the fluid acting on the converter clutch valve. The clutch valve controls the application and the release of the TCC. When you command the TCC PWM Sol Valve OFF, the Powertrain Control Module (PCM) receives high voltage. When you command the TCC PWM Sol Valve ON, the PCM receives low voltage.

DTC P1860 sets anytime the received voltage is outside of the calibration limits. DTC P1860 is a type A DTC .

Conditions for Setting the DTC

    • The engine speed is more than 500 RPM.
    • Not in fuel shut off
    • The PCM commands 1st gear.
    • The PCM commands the solenoid valve to greater than 90%, and the voltage on circuit 418 remains low (0 V).
    • The PCM commands the solenoid valve to less than 10%, and the voltage on circuit 418 remains high (B+).
    • All conditions are met for 5 seconds.

Action Taken When the DTC Sets

    • The PCM inhibits TCC operation.
    • The PCM inhibits 4th gear if the transmission is in the hot mode
    • The PCM illuminates the Malfunction Indicator Lamp (MIL).

Conditions for Clearing the MIL/DTC

    • The PCM turns OFF the MIL after three consecutive ignition cycles without a failure reported.
    • A scan tool can clear the DTC from the PCM history. The PCM clears the DTC from the PCM history if the vehicle completes 40 warm-up cycles without a failure reported.
    • The PCM cancels the DTC default actions when the fault no longer exists and the ignition is OFF long enough in order to power down the PCM.

Diagnostic Aids

  1. Inspect the wiring for poor electrical connections at the PCM. Inspect the wiring at the transmission 7-way connector. Inspect the wiring at the 2-way TCC connector. Look for the following conditions:
  2.  - A bent terminal
     - A backed out terminal
     - A damaged terminal
     - Poor terminal tension
     - A chafed wire
     - A broken wire inside the insulation
  3. When diagnosing for an intermittent short or open condition, massage the wiring harness while watching the test equipment for a change.
  4. Ensure that the transmission fluid is at the proper level.

Test Description

The numbers below refer to the step numbers on the diagnostic table.

  1. This step isolates the engine harness from the transmission harness. Use a test lamp in order to verify the circuitry.

  2. This step verifies that circuit 418 is not open or shorted to power.

  3. This step verifies that the TCC PWM solenoid is not shorted across its windings or increased its resistance.

DTC P1860 Torque Converter Clutch (PWM) Solenoid Electrical

Step

Action

Value(s)

Yes

No

1

Was the Powertrain On-Board Diagnostic (OBD) System Check performed?

--

Go to Step 2

Go to Powertrain On Board Diagnostic (OBD) System Check

2

  1. Install the scan tool.
  2. With the engine OFF, turn the ignition switch to the RUN position.
  3. Important: Before clearing the DTCs, use the scan tool in order to record the Freeze Frame and Failure Records for reference. The Clear Info function will erase the data.

  4. Record the DTC Freeze Frame and Failure Records.

Are DTCs P0740, P0753, and P0758 set?

--

Go to Step 3

Go to Step 6

3

  1. Remove the ERLS fuse.
  2. Inspect the fuse for an open.

Refer to Troubleshooting Procedures, Section 8.

Did you find and correct a problem?

--

Go to Step 4

Go to Step 5

4

Repair the short to ground in circuit 439. Refer to Troubleshooting Procedures, Section 8.

Did you find and correct a problem?

--

Go to Step 19

--

5

Repair the open in circuit 439. Refer to Troubleshooting Procedures, Section 8.

Did you find and correct a problem?

--

Go to Step 19

--

6

  1. Turn the ignition switch OFF.
  2. Disconnect the transmission 7-way connector.
  3. Install the J 38835 Transmission Electrical Jumper to the engine harness connector.
  4. Connect a test lamp from terminal E to terminal C of the jumper.
  5. With the engine OFF, turn the ignition ON.
  6. Additional DTCs will set.

Is the test lamp OFF?

--

Go to Step 7

Go to Step 8

7

Inspect circuit 418 for an open. Refer to Troubleshooting procedures, Section 8.

Did you find and correct a problem?

--

Go to Step 19

Go to Step 18

8

  1. Select A/T Outputs, TCC PWM Solenoid.
  2. Cycle the TCC PWM solenoid ON and OFF three times.
  3. Important: When the TCC PWM solenoid is ON, the test lamp will be brilliant. When the TCC PWM solenoid is OFF, the test lamp will pulsate.

Does the solenoid cycle ON and OFF as commanded?

--

Go to Step 12

Go to Step 9

9

Inspect circuit 418 for a short to ground. Refer to Troubleshooting Procedures, Section 8.

Did you find and correct a problem?

--

Go to Step 19

Go to Step 10

10

Is the test lamp always OFF?

--

Go to Step 11

--

11

Inspect circuit 418 for a short to power. Refer to Troubleshooting Procedures, Section 8.

Did you find and correct a problem?

--

Go to Step 19

Go to Step 18

12

  1. Turn the ignition switch OFF.
  2. Disconnect the Transmission Jumper from the engine harness.
  3. Connect the J 38835 Transmission Electrical Jumper to the transmission harness 7-way connector.
  4. Connect an ohmmeter from terminal E to terminal C of the jumper.

Is the measured resistance within the specified range?

10-15ohms

Go to Step 18

Go to Step 13

13

Is the resistance greater than the specified value?

100ohms

Go to Step 14

Go to Step 15

14

  1. Inspect the RED wire circuit 839 for an open.
  2. Inspect the BLK wire circuit 418 for an open.

Refer to Troubleshooting Procedures, Section 8.

Did you find and correct a problem?

--

Go to Step 19

Go to Step 17

15

Connect an ohmmeter from terminal C of the jumper to ground.

Is the measured resistance less than the specified value?

100ohms

Go to Step 16

Go to Step 17

16

Inspect the BLK wire circuit 418 for a short to ground. Refer to Troubleshooting Procedures, Section 8.

Did you find and correct a problem?

--

Go to Step 19

--

17

Replace the TCC PWM Sol. Valve. Refer to Solenoids and Wiring Harness, in On-Vehicle Service.

Is the replacement complete?

--

Go to Step 19

--

18

Replace the PCM. Refer to Powertrain Control Module/EEPROM Replacement/Programming , Section 6

Is the replacement complete?

--

Go to Step 19

--

19

In order to verify your repair, perform the following procedure:

  1. Select DTC.
  2. Select Clear Info.
  3. Operate the vehicle under the following conditions:
  4. • The ignition switch is ON.
    • The engine speed is more than 500 RPM.
    • The vehicle is not in fuel shut off.
    • Drive the vehicle for a TCC ON cycle.
    • The system voltage is 10-16 volts.
    • The PCM commands the solenoid valve to greater than 90%, and the voltage on circuit 418 increases to B+.
    • The PCM commands the solenoid valve to less than 10%, and the voltage on circuit 418 decreases to 0 volts.
    • All conditions are met for 5 seconds.
  5. Select Specific DTC. Enter DTC P1860.

Has the test run and passed?

--

System OK

Begin the diagnosis again. Go to Step 1