GM Service Manual Online
For 1990-2009 cars only

DTC P0711 TFT Sensor Circuit Range/Performance 3.1L VIN M Only


Object Number: 29630  Size: MF
Handling ESD Sensitive Parts Notice
OBD II Symbol Description Notice
Automatic Transmission Controls Schematics 3.1L VIN M
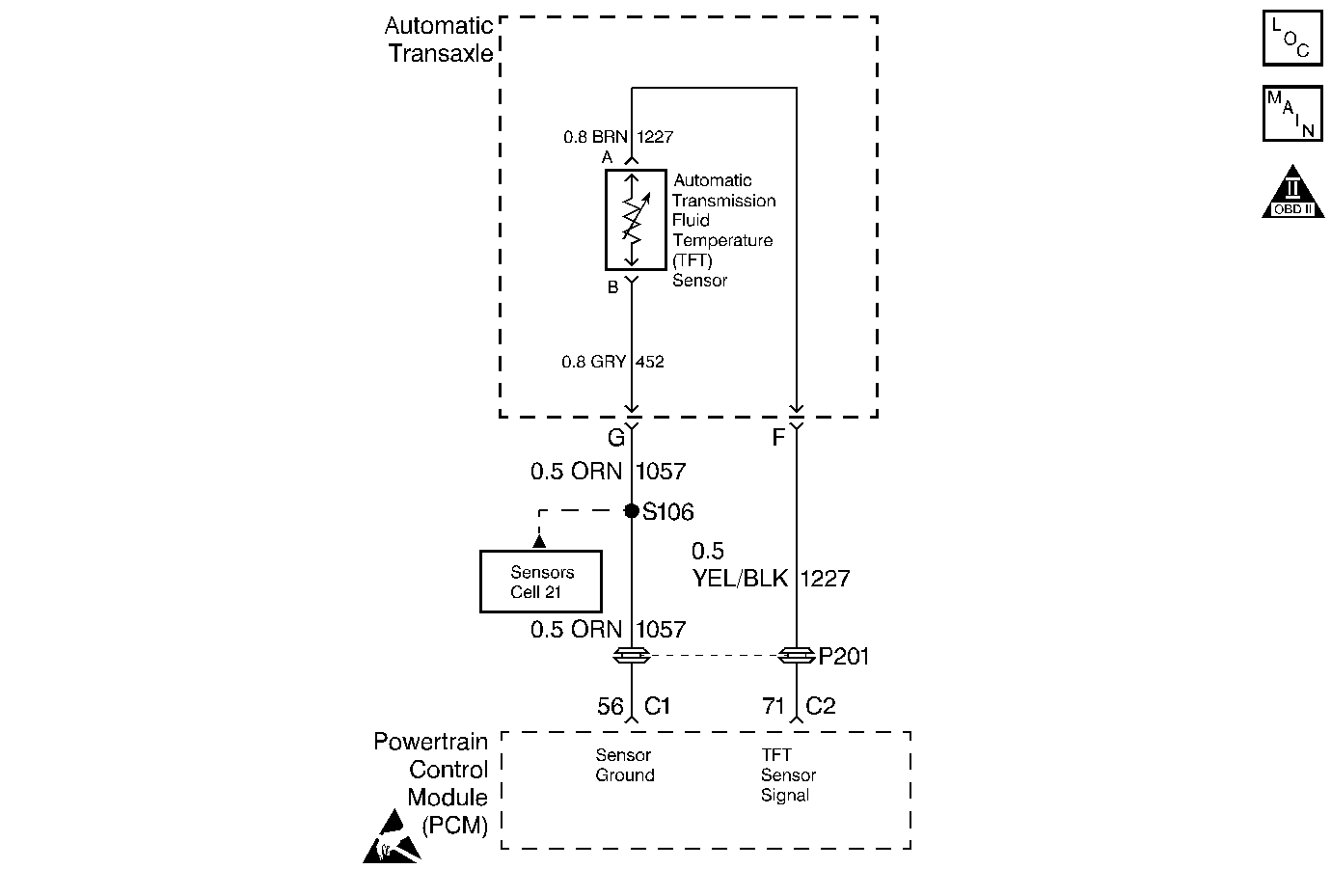
Automatic Transmission Components 3.1L VIN M

Circuit Description

The Automatic Transmission Fluid Temperature (TFT) sensor is a negative coefficient thermistor. The TFT sensor resistance changes with temperature. The Powertrain Control Module (PCM) provides a 5 volt reference to the sensor on circuit 1227. A short to ground on circuit 1227 causes low signal voltage. The TFT signal operating range is -40 to 151°C (-40 to 304°F).

If the PCM detects a TFT signal voltage input of less than 0.200 volts (151°C or 304°F), then DTC P0711 sets. DTC P0711 is a type B DTC.

Conditions for Setting the DTC

    • No VSS DTCs P0502 or P0503.
    • No System Voltage Malfunction DTC P0560.
    • No Transmission Voltage Malfunction DTC P0560.
    • No Transmission Component Slipping DTC P1870.
    • The TFT at start up is -40 to 21° (-40 to 69°F)
    • The engine run time is 5 minutes or more.
    • The vehicle speed is 8 km/h (5 mph) or more for 7 minutes or more cumulative the ignition cycle.
    • The TCC slip speed is 120 RPM or more for 7 minutes, cumulative the ignition cycle.
    • The ECT is 70°C (158°F) or more.
    • The ECT has changed 50°C (90°F) or more since start up.
    • The TFT voltage is 0.20-4.92 volts.
    • All of the above must be true and one of the following fail cases must be true:
    • Fail Case 1:
        The change in TFT is 1.5°C (3°C) or less since start up for 7 minutes or more.
    • Fail Case 2:
        The change in TFT is 20°C (36°F) or more within 0.2 seconds for 10 times or more within 10 seconds.

Action Taken When the DTC Sets

    • If the engine run time is less than 3 minutes and the Intake Air Temperature (IAT) DTC P0112, P0113, P1111, or P1112 is set, then the default Automatic Transmission Fluid Temperature (TFT) is 0°C (32°F).
    • If the engine run time is less than 3 minutes and no IAT DTC is set, then the default TFT sets to the IAT saved at start up.
    • If the engine run time is greater than 3 minutes and the Engine Coolant Temperature (ECT) DTC P0117, P0118, P1114, or P1115 is set, then the default TFT is 131°C (268°F).
    • If the engine run time is greater than 3 minutes, no ECT DTC is set, and the ECT is less than 45°C (113°F), then the default TFT is 12°C (54°F).
    • If the engine run time is greater than 3 minutes, no ECT DTC is set, and the ECT is greater than 115°C (239°F), then the default TFT is 131°C (268°F).
    • If the engine run time is greater than 3 minutes, the ECT is 45-115°C (113-239°F), and the IAT DTC P0112, P0113, P1111, or P1112 is set, then the default TFT sets to equal the ECT.
    • If the engine run time is greater than 3 minutes, the ECT is 45-115°C (113-239°F), and the IAT start up is less than 0°C (32°F), then the default TFT sets to the ECT minus 10°C (18°F).
    • If the engine run time is greater than 3 minutes, the ECT is 45-115°C (113-239°F), and the IAT start up is less than 28°C (82°F), then the default TFT sets to the ECT plus 10°C (18°F).
    • If the engine run time is greater than 3 minutes, the ECT is 45-115°C (113-239°F), and the IAT at start up is 0-28°C (32-82°F), then the default TFT sets to equal the ECT.
    • The PCM illuminates the Malfunction Indicator Lamp (MIL) after two consecutive trips with a failure reported.

Conditions for Clearing the MIL/DTC

    • The PCM turns OFF the MIL after three consecutive ignition cycles without a failure reported.
    • A scan tool can clear the DTC from the PCM history. The PCM clears the DTC from the PCM history if the vehicle completes 40 warm-up cycles without a failure reported.
    • The PCM cancels the DTC default actions when the fault no longer exists and the ignition is OFF long enough in order to power down the PCM.

Diagnostic Aids

    • Inspect the wiring for poor electrical connections at the PCM. Inspect the wiring at the TCC brake switch. Look for the following conditions:
       - A bent terminal
       - A backed out terminal
       - A damaged terminal
       - Poor terminal tension
       - A chafed wire
       - A broken wire inside the insulation
    • Test the TFT sensor at various temperature levels in order to evaluate the possibility of a skewed (mis-scaled) sensor. Refer to Temperature vs Resistance table.
    • When diagnosing for an intermittent short or open condition, massage the wiring harness while watching the test equipment for a change.

Test Description

An example test description follows:

  1. This step tests for an open circuit.

  2. This step tests for a short to ground.

  3. This step compares the TFT to the TFT sensor resistance in order to determine faulty sensor or PCM exists.

P0711

Step

Action

Value(s)

Yes

No

1

Was the Powertrain On-Board Diagnostic (OBD) System Check performed?

--

Go to Step 2

Go to OBD System Check

2

Did you perform the transmission fluid checking procedure? Refer to Transmission Fluid Check .

--

Go to Step 3

Go to Transmission Fluid Check

3

  1. Install the scan tool.
  2. With the engine OFF, turn the ignition switch to the RUN position.
  3. Important: Before clearing the DTCs, use the scan tool in order to record the Freeze Frame and Failure Records for reference. The Clear Info function erases the stored Freeze Frame and Failure Records from the PCM.

  4. Record the DTC Freeze Frame and Failure Records.
  5. Record the Freeze Frame and Failure Records.
  6. Select TFT on the scan tool.

Does the scan tool display a TFT less than the specified value?

-34°C (-30°F)

Go to Step 4

Go to Step 5

4

Inspect circuits 1227 and 1057 for an open. Refer to Troubleshooting Procedures, Section 8.

Did you find a problem?

--

Go to Step 10

Go to Step 7

5

Does the scan tool display a TFT more than the specified value?

145°C (293°F)

Go to Step 6

Go to Step 7

6

Inspect circuits 1227 and 1057 for a short to ground. Refer to Troubleshooting Procedures, Section 8.

Did you find a problem?

--

Go to Step 10

Go to Step 7

7

  1. Allow the vehicle to cool overnight.
  2. Select TFT and TFT Sensor (volts) on the scan tool.
  3. Start and run the engine.
  4. Watch the scan tool display as the vehicle warms up for at least 5 minutes.

Does the scan tool display TFT and voltage as specified in the Temperature to Resistance to Voltage chart?

--

Go to Step 9

Go to Step 8

8

Replace the TFT Sensor. Refer to Solenoids and Wiring Harness, in On-Vehicle Service.

Is the replacement complete?

--

Go to Step 10

--

9

Replace the PCM. Refer to PCM replacement, section 6.

Is the replacement complete?

--

Go to Step 10

--

10

In order to verify your repair, perform the following procedure:

  1. Select DTC.
  2. Select Clear Info.
  3. Operate the vehicle under the following conditions:
  4. • TFT Sensor voltage is 0.20-4.92 volts.
    • The TFT rises 3°C (5.5°F) or more since start up, within 5 seconds.
    • The TFT does not rise more than 20°C (36°F) within 0.2 seconds for more than 7 seconds.
  5. Select Specific DTC. Enter DTC P0711.

Has the test run and passed?

--

System OK

Begin the diagnosis again. Go to Step 1