GM Service Manual Online
For 1990-2009 cars only
Figure 1:

Upper Intake Manifold and Components


Object Number: 1513586  Size: LF
(305)Thermostat Bypass Hose Clamp
(305)Thermostat Bypass Hose Clamp
(306)Thermostat Bypass Hose
(307)Thermostat Bypass Pipe Seal
(308)Thermostat Bypass Pipe Bolt
(309)Thermostat Bypass Pipe
(310)Thermostat Bypass Pipe Nut
(311)Thermostat Bypass Pipe Bolt
(317)Oil Cooler Hose Clamp
(317)Oil Cooler Hose Clamp
(318)Oil Cooler Hose
(319)Oil Cooler Pipe
(320)Oil Cooler Pipe Bolt
(500)Upper Intake Manifold
(501)Upper Intake Manifold Stud
(504)MAP Sensor Bolt
(505)MAP Sensor Clip
(506)MAP Sensor
(507)MAP Sensor Seal
(508)Upper Intake Manifold Bolt
(509)Spark Plug Support Bracket
(510)EVAP Purge Valve Seal
(511)EVAP Purge Valve
(512)EVAP Purge Valve Bolt
(513)Throttle Body Seal
(514)Throttle Body
(515)Throttle Body Bolt
(516)Upper Intake Manifold Gasket
(525)Valve Rocker Cover Seal
(526)Valve Rocker Cover
(530)Oil Fill Cap
(531)PCV Valve
(532)PCV Valve Grommet
(533)PCV Tube
(534)PCV Tube Clip
(535)PCV Tube Bolt
(550)Throttle Body Stud
(551)EVAP Purge Valve Spacer Plate
(552)EVAP Purge Valve Spacer Plate Seal
(556)PCV Valve Retainer
(557)PCV Valve Retainer Rivet
(558)Oil Fill Cap Seal
(611)EGR Pipe Bolt
(612)EGR Pipe
(613)EGR Valve Bolt
(614)EGR Valve
(615)EGR Valve Gasket
(617)Exhaust Crossover Pipe Stud
(618)Exhaust Crossover Pipe Nut
(619)Exhaust Crossover Pipe Heat Shield
(620)Exhaust Crossover Pipe Heat Shield Bolt
(621)Exhaust Crossover
(700)Ignition Coil Assembly
(701)Ignition Coil Assembly Stud
(702)Ignition Coil Assembly Nut
(703)Ignition Coil Assembly Bolt
Figure 2:

Lower Intake Manifold, Cylinder Head, and Components


Object Number: 1513608  Size: LF
(200)Cylinder Head
(200)Cylinder Head
(201)Valve Seal
(201)Valve Seal
(202)Valve Spring
(202)Valve Spring
(203)Valve Spring Cap
(203)Valve Spring Cap
(204)Valve Stem Key
(205)Valve Pushrod
(206)Valve Rocker Arm
(207)Valve Rocker Arm Bolt
(208)Cylinder Head Bolt
(209)Cylinder Head Bolt
(212)Spark Plug
(213)Exhaust Valve
(214)Intake Valve
(215)Cylinder Head Gasket
(215)Cylinder Head Gasket
(216)Cylinder Head Locating Pin
(228)Drive Belt Tensioner Bolt
(229)Drive Belt Tensioner
(230)Generator Bracket Bolt
(231)Generator Bracket Bolt
(232)Generator Bracket Bolt
(233)Generator Bracket
(234)Engine Lift Front Bracket
(238)Heater Inlet Pipe Stud
(239)Heater Inlet Pipe
(240)Heater Inlet Pipe Nut
(241)Heater Inlet Pipe Seal
(242)Cylinder Head Expansion Plug
(242)Cylinder Head Expansion Plug
(243)Valve Guide
(243)Valve Guide
(244)Valve Seat
(245)Valve Seat
(246)Valve Pushrod
(249)Engine Mount Strut and A/C Compressor Bracket Bolt - Short
(250)Engine Mount Strut and A/C Compressor Bracket
(251)Engine Mount Strut and A/C Compressor Bracket Bolt - Long
(252)Engine Mount Strut and Engine Lift Bracket
(253)Engine Mount Strut and Engine Lift Bracket Bolt
(312)Engine Coolant Thermostat
(313)Engine Coolant Thermostat Seal
(314)Water Outlet
(315)Water Outlet Bolt
(316)Water Outlet Fitting
(517)Fuel Rail Bolt
(518)Fuel Rail
(519)Fuel Injector Seal
(519)Fuel Injector Seal
(520)Lower Intake Manifold Bolt
(521)Lower Intake Manifold
(522)Lower Intake Manifold Bolt
(523)Lower Intake Manifold Gasket
(524)Lower Intake Manifold Seal
(525)Valve Rocker Cover Seal
(526)Valve Rocker Cover
(527)Valve Rocker Cover Bolt
(528)Valve Rocker Cover Bolt Grommet
(529)PCV Tube
(548)Fuel Injector Retaining Clip
(549)Fuel Injector
(553)Fuel Schrader Valve
(554)Fuel Service Port Cap
(600)Exhaust Manifold - Right
(601)Exhaust Manifold - Left
(602)Exhaust Manifold Heat Shield - Right - Upper
(603)Exhaust Manifold Heat Shield Bolt
(603)Exhaust Manifold Heat Shield Bolt
(604)Exhaust Manifold Gasket
(604)Exhaust Manifold Gasket
(605)Exhaust Manifold Stud
(606)Heated Oxygen Sensor
(607)Exhaust Manifold Nut
(608)Exhaust Manifold Heat Shield
(616)Exhaust Manifold Heat Shield - Right - Lower
(700)Coolant Temperature Sensor
(704)Spark Plug Wire Harness - Front
(705)Spark Plug Wire Support
(715)Spark Plug Wire Harness - Rear
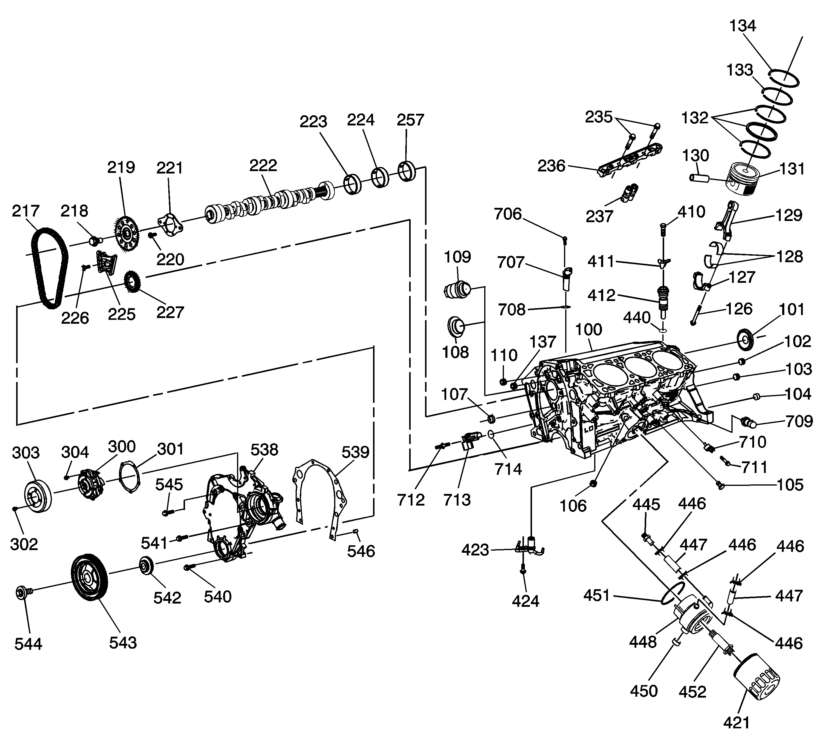
Figure 3:

Engine Block and Components


Object Number: 1513656  Size: LF
(100)Engine Block
(101)Camshaft Rear Bearing Hole Plug
(102)Engine Block Oil Gallery Plug Assembly - Rear
(103)Engine Block Oil Gallery Plug Assembly - Rear
(104)Transmission Locating Pin
(105)Engine Block Coolant Drain Hole Plug
(106)Oil Filter Bypass Hole Plug Assembly
(107)Engine Block Oil Gallery Plug Assembly - Front
(108)Engine Block Heater Plug
(109)Engine Block Heater
(110)Engine Block Oil Gallery Plug - Front
(126)Connecting Rod Bearing Cap Bolt
(127)Connecting Rod Bearing Cap
(128)Connecting Rod Bearing
(129)Connecting Rod
(130)Piston Pin
(131)Piston
(132)Piston Ring - Oil Control
(133)Piston Ring - Compression
(134)Piston Ring - Compression
(137)Engine Block Oil Gallery Plug - Front
(217)Timing Chain
(218)Camshaft Sprocket Bolt
(219)Camshaft Sprocket
(220)Camshaft Thrust Plate Bolt
(221)Camshaft Thrust Plate
(222)Camshaft
(223)Camshaft Bearing - 1
(224)Camshaft Bearing - 2 and 3
(225)Timing Chain Dampener
(226)Timing Chain Dampener Bolt
(227)Crankshaft Sprocket
(235)Valve Lifter Guide Bolt
(236)Valve Lifter Guide
(237)Valve Lifter
(257)Camshaft Bearing - 4
(300)Water Pump
(301)Water Pump Gasket
(302)Water Pump Pulley Bolt
(303)Water Pump Pulley
(304)Water Pump Bolt
(410)Oil Pump Drive Bolt
(411)Oil Pump Drive Clamp
(412)Oil Pump Drive
(421)Oil Filter
(423)Piston Oil Nozzle
(424)Piston Oil Nozzle Bolt
(440)Oil Pump Drive Seal
(445)Oil Cooler Fitting
(446)Oil Cooler Hose Clamp
(446)Oil Cooler Hose Clamp
(446)Oil Cooler Hose Clamp
(446)Oil Cooler Hose Clamp
(447)Oil Cooler Hose
(447)Oil Cooler Hose
(448)Oil Cooler
(450)Oil Cooler Plug
(451)Oil Cooler Seal
(452)Oil Cooler Connector
(538)Engine Front Cover
(539)Engine Front Cover Gasket
(540)Engine Front Cover Bolt
(541)Engine Front Cover Bolt
(542)Crankshaft Front Oil Seal
(543)Crankshaft Balancer
(544)Crankshaft Balancer Bolt
(545)Engine Front Cover Bolt
(546)Engine Front Cover Locating Pin
(706)Camshaft Sensor Bolt
(707)Camshaft Sensor
(708)Camshaft Sensor Seal
(709)Engine Oil Pressure Switch
(710)Knock Sensor
(711)Knock Sensor Bolt
(712)Crankshaft Position Sensor Stud
(713)Crankshaft Position Sensor
(714)Crankshaft Position Sensor Seal
Figure 4:

Crankshaft and Components


Object Number: 1513662  Size: LF
(111)Crankshaft Rear Oil Seal Assembly
(112)Flywheel
(114)Flywheel Bolt
(115)Crankshaft Upper Bearing
(116)Crankshaft Upper Bearing
(117)Crankshaft Upper Bearing
(118)Crankshaft
(119)Crankshaft Balancer Key
(120)Crankshaft Lower Bearing
(121)Crankshaft Lower Bearing
(122)Crankshaft Bearing Cap
(123)Crankshaft Bearing Cap Stud
(124)Crankshaft Bearing Cap
(125)Crankshaft Bearing Cap Bolt
(126)Connecting Rod Bearing Cap Bolt
(136)Crankshaft Bearing Cap
(400)Oil Pan
(401)Oil Pan Gasket
(402)Oil Pan Bolt
(403)Oil Pan Drain Plug
(404)Crankshaft Oil Deflector Nut
(405)Crankshaft Oil Deflector
(406)Oil Pump Locating Pin
(407)Oil Pump Shaft
(408)Oil Pump
(409)Oil Pump Bolt
(413)Oil Level Indicator Tube
(414)Oil Level Indicator Tube Bolt
(415)Oil Level Indicator
(416)Oil Pan Drain Plug Seal
(417)Oil Level Indicator Seal
(426)Oil Pan Bolt
(441)Oil Pan Support Bracket - to Transmission Bell Housing
(442)Oil Pan Support Bracket Bolt - Oil Pan
(443)Oil Pan Support Bracket - to Transmission Tail Shaft
(444)Oil Pan Support Bracket Bolt - Engine Block
(445)Oil Level Indicator Tube O-ring