GM Service Manual Online
For 1990-2009 cars only
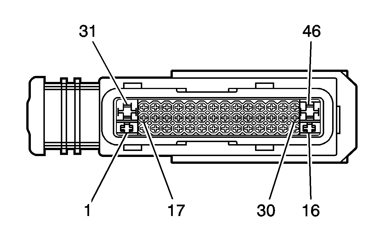
Connector 1: Electronic Brake Control Module (EBCM)
Connector 2: Steering Wheel Speed Position Sensor (JL4)
Connector 3: Wheel Speed Sensor (WSS) - LF
Connector 4: Wheel Speed Sensor (WSS) - LR
Connector 5: Wheel Speed Sensor (WSS) - RF
Connector 6: Wheel Speed Sensor (WSS) - RR
Connector 7: Yaw Rate and Lateral Acceleration Sensor (JL4)

Electronic Brake Control Module (EBCM)


Object Number: 1538768  Size: CH

Connector Part Information

  • OEM: 15487791
  • Service: See Catalog
  • Description: 46-Way F Receptacle 1.5, 2.8, 4.8 Series Sealed (BK)

Terminal Part Information

  • Pins: 1,16
  • Terminal: 60012931/Tray 21
  • Core/Insulation Crimp: C/1
  • Release Tool/Test Probe: 12122378/J-35616-4A
  • Pins: 5, 11, 12, 13, 19, 24, 27, 28, 29, 34, 35, 39, 41, 42, 43, 44
  • Terminal: 60000631/Tray 21
  • Core/Insulation Crimp: 2/1
  • Release Tool/Test Probe: 15314260/J-35616-14
  • Pins: 7, 18, 23, 38
  • Terminal: 60000611/Tray 21
  • Core/Insulation Crimp: 8/8
  • Release Tool/Test Probe: 15314260/J-35616-14
  • Pins: 31, 46
  • Terminal: 60040461/Tray 21
  • Core/Insulation Crimp: D/3
  • Release Tool/Test Probe: 12093647/J-35616-40

Electronic Brake Control Module (EBCM)

Pin

Wire Color

Circuit No.

Function

1

BK/WH

251

Ground

2-4

--

--

Not Used

5

D-GN/WH

2087

5-Volt Reference (JL4)

6

--

--

Not Used

7

L-BU

910

Yaw Rate Sensor Signal (JL4)

8-10

--

--

Not Used

11

L-BU

1122

Class 2 Serial Data

12

OG

885

Left Rear Wheel Speed Sensor Low Reference

13

TN

884

Left Rear Wheel Speed Sensor Signal

14-15

--

--

Not Used

16

PK

1039

Ignition 1 Voltage

17

--

--

Not Used

18

TN/BK

464

Delivered Torque Signal

19

D-GN

2087

5-Volt Reference (JL4)

20-22

--

--

Not Used

23

L-GN

1338

Lateral Accelerometer Signal (JL4)

24

TN

833

Right Front Wheel Speed Sensor Low Reference

25-26

--

--

Not Used

27

L-BU

830

Left Front Wheel Speed Sensor Signal

28

YE

873

Left Front Wheel Speed Sensor Low Reference

29

L-BU/WH

2088

Low Reference (JL4)

30

--

--

Not Used

31

BK/WH

251

Ground

32-33

--

--

Not Used

34

L-GN

1763

Steering Wheel Position Signal A (JL4)

35

L-BU

1764

Steering Wheel Position Signal B (JL4)

36-37

--

--

Not Used

38

OG/BK

463

Requested Torque Signal

39

D-GN

872

Right Front Wheel Speed Sensor Signal

40

--

--

Not Used

41

L-GN

526

Stop Lamp Supply Voltage

42

BN

882

Right Rear Wheel Speed Sensor Signal

43

WH

883

Right Rear Wheel Speed Sensor Low Reference

44

L-BU

2088

Low Reference (JL4)

45

--

--

Not Used

46

RD/BK

1442

Battery Positive Voltage

Steering Wheel Speed Position Sensor (JL4)


Object Number: 40427  Size: CH

Connector Part Information

  • OEM: 12064978
  • Service: 12125678
  • Description: 6-Way F Micro-Pack 100 Series (GY)

Terminal Part Information

  • Terminal: 12144647/Tray 3
  • Core/Insulation Crimp: See Terminal Repair Kit
  • Release Tool/Test Probe: See Terminal Repair Kit

Steering Wheel Speed Position Sensor (JL4)

Pin

Wire Color

Circuit No.

Function

1

D-GN

2087

5-Volt Reference

2

L-BU

2088

Low Reference

3-4

--

--

Not Used

5

L-GN

1763

Steering Wheel Position Signal A

6

L-BU

1764

Steering Wheel Position Signal B

Wheel Speed Sensor (WSS) - LF


Object Number: 537107  Size: CH

Connector Part Information

  • OEM: 12052644
  • Service: See Catalog
  • Description: 2-Way F Metri-Pack 150 Series Sealed (GY)

Terminal Part Information

  • Terminal: 12048074/Tray 2
  • Core/Insulation Crimp: E/1
  • Release Tool/Test Probe: 12094429/J-35616-2A

Wheel Speed Sensor (WSS) - LF

Pin

Wire Color

Circuit No.

Function

A

L-BU

830

Left Front Wheel Speed Sensor Signal

B

YE

873

Left Front Wheel Speed Sensor Low Reference

Wheel Speed Sensor (WSS) - LR


Object Number: 537107  Size: CH

Connector Part Information

  • OEM: 12052644
  • Service: See Catalog
  • Description: 2-Way F Metri-Pack 150 Series Sealed (GY)

Terminal Part Information

  • Terminal: 12048074/Tray 2
  • Core/Insulation Crimp: E/1
  • Release Tool/Test Probe: 12094429/J-35616-2A

Wheel Speed Sensor (WSS) - LR

Pin

Wire Color

Circuit No.

Function

A

WH

883

Left Rear Wheel Speed Sensor Low Reference (F46)

A

BN

882

Left Rear Wheel Speed Sensor Signal (w/o F46)

B

BK

882

Left Rear Wheel Speed Sensor Signal (F46)

B

WH

883

Left Rear Wheel Speed Sensor Low Reference (w/o F46)

Wheel Speed Sensor (WSS) - RF


Object Number: 537107  Size: CH

Connector Part Information

  • OEM: 12052644
  • Service: See Catalog
  • Description: 2-Way F Metri-Pack 150 Series Sealed (GY)

Terminal Part Information

  • Terminal: 12048074/Tray 2
  • Core/Insulation Crimp: E/1
  • Release Tool/Test Probe: 12094429/J-35616-2A

Wheel Speed Sensor (WSS) - RF

Pin

Wire Color

Circuit No.

Function

A

D-GN

872

Right Front Wheel Speed Sensor Signal

B

TN

833

Right Front Wheel Speed Sensor Low Reference

Wheel Speed Sensor (WSS) - RR


Object Number: 537107  Size: CH

Connector Part Information

  • OEM: 12052644
  • Service: See Catalog
  • Description: 2-Way F Metri-Pack 150 Series Sealed (GY)

Terminal Part Information

  • Terminal: 12048074/Tray 2
  • Core/Insulation Crimp: E/1
  • Release Tool/Test Probe: 12094429/J-35616-2A

Wheel Speed Sensor (WSS) - RR

Pin

Wire Color

Circuit No.

Function

A

WH

883

Right Rear Wheel Speed Sensor Low Reference (F46)

A

BN

882

Right Rear Wheel Speed Sensor Signal (w/o F46)

B

BK

882

Right Rear Wheel Speed Sensor Signal (F46)

B

WH

883

Right Rear Wheel Speed Sensor Low Reference (w/o F46)

Yaw Rate and Lateral Acceleration Sensor (JL4)


Object Number: 647974  Size: CH

Connector Part Information

  • OEM: 15326822
  • Service: 88987186
  • Description: 5-Way F GT 150 Series Sealed 4.0 (BK)

Terminal Part Information

  • Terminal: 12191819/Tray 8
  • Core/Insulation Crimp: See Terminal Repair Kit
  • Release Tool/Test Probe: See Terminal Repair Kit

Yaw Rate and Lateral Acceleration Sensor (JL4)

Pin

Wire Color

Circuit No.

Function

A

--

--

Not Used

B

D-GN

2087

5-Volt Reference

C

L-BU

910

Yaw Rate Sensor Signal

D

L-BU

2088

Low Reference

E

BK/L-GN

1338

Lateral Accelerometer Signal