Removal Procedure
- Open the liftgate.
- Remove the liftgate water deflector. Refer to
Liftgate Water Deflector Replacement
.
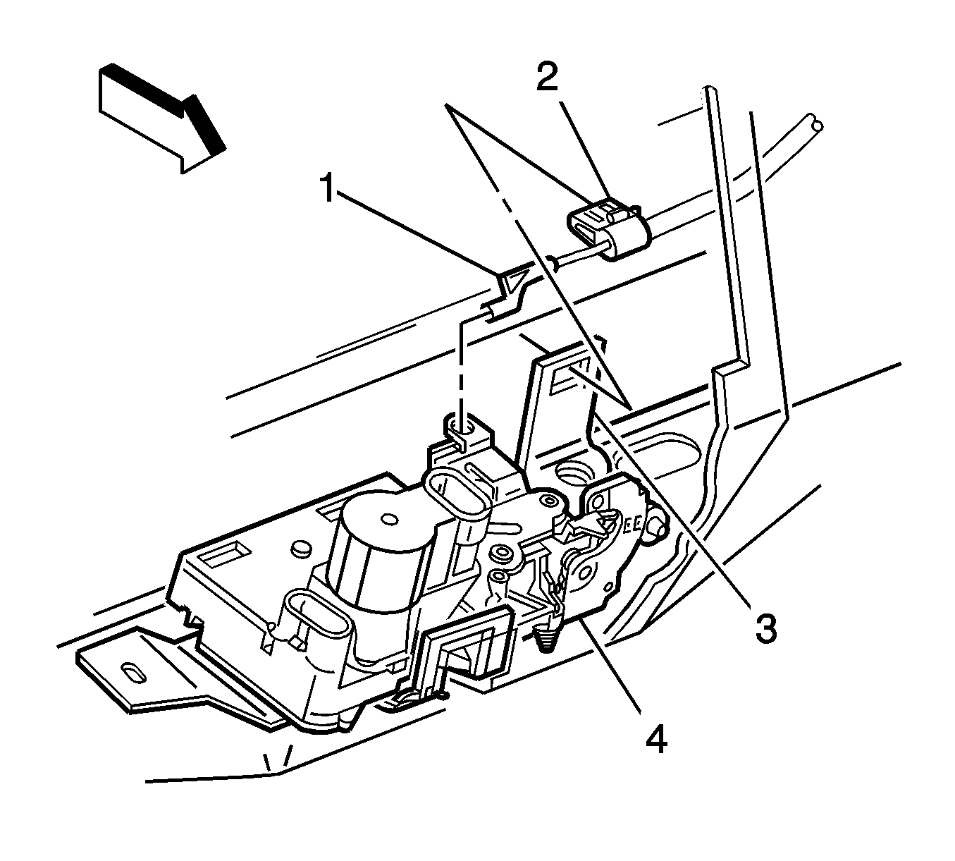
- Disconnect the electrical connector from
the liftgate latch.
- Remove the liftgate latch retaining bolts.
- Using a small flat-bladed tool, remove the latch cable clip (2)
from the liftgate latch.
- Release the latch cable retainer and remove latch cable from liftgate
latch.
- Remove the liftgate latch from the liftgate.
Installation Procedure
- Install the liftgate latch to the liftgate
- Secure the lock cylinder cable (1) into the liftgate latch.
- Install the latch cable to the liftgate latch and engage latch cable retainer (2).
- Connect the electrical connector to the liftgate latch.
Notice: Refer to Fastener Notice in the Preface section.
- Install the liftgate latch retainer bolts.
Tighten
Tighten the bolts to 10 N·m (89 lb in).
- Install the liftgate water deflector. Refer to
Liftgate Water Deflector Replacement
.
- Close the liftgate.