GM Service Manual Online
For 1990-2009 cars only

Front Bumper Impact Bar Replacement Pontiac

Removal Procedure

  1. Remove the front bumper fascia. Refer to Front Bumper Fascia Replacement .

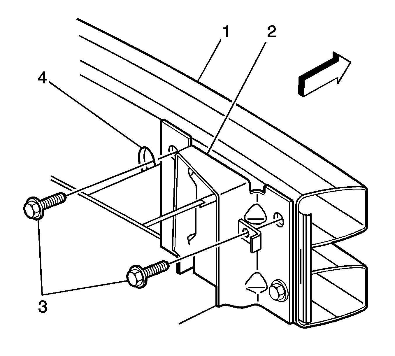
  2. Object Number: 1479970  Size: SH

    Important: When removing the left front impact bar bolts, secure the horn bracket until the repair is completed.

  3. Remove the front impact bar bolts (3) from the rail (2).
  4. Remove the front impact bar (1) from the frame rail.

Installation Procedure


    Object Number: 1479970  Size: SH
  1. Align the front impact bar (1) to the frame rail.
  2. Position the left front horn to the frame rail and impact bar.
  3. Notice: Refer to Fastener Notice in the Preface section.

  4. Install the front impact bar bolts (3) to the frame rail.
  5. Tighten
    Tighten the bolts to 50 N·m (37 lb ft).

  6. Install the front bumper fascia. Refer to Front Bumper Fascia Replacement .

Front Bumper Impact Bar Replacement Buick

Removal Procedure


    Object Number: 1479976  Size: SH
  1. Remove the front bumper fascia (1). Refer to Front Bumper Fascia Replacement .

  2. Object Number: 1479970  Size: SH

    Important: When removing the left front impact bar bolts, secure the horn bracket until the repair is completed.

  3. Remove the front impact bar bolts (3) from the rail (2).
  4. Remove the front impact bar (1) from the frame rail.

Installation Procedure


    Object Number: 1479970  Size: SH
  1. Align the front impact bar to the frame rail.
  2. Position the left front horn to the frame rail and impact bar.
  3. Notice: Refer to Fastener Notice in the Preface section.

  4. Install the front impact bar bolts to the frame rail.
  5. Tighten
    Tighten the bolts to 50 N·m (37 lb ft).


    Object Number: 1479976  Size: SH
  6. Install the front bumper fascia (1). Refer to Front Bumper Fascia Replacement .

Front Bumper Impact Bar Replacement Chevrolet

Removal Procedure


    Object Number: 1479974  Size: SH
  1. Remove the front bumper fascia (1). Refer to Front Bumper Fascia Replacement .

  2. Object Number: 1479970  Size: SH

    Important: When removing the left front impact bar bolts, secure the horn bracket until the repair is completed.

  3. Remove the front impact bar bolts (3) from the rail (2).
  4. Remove the front impact bar (1) from the frame rail.

Installation Procedure


    Object Number: 1479970  Size: SH
  1. Align the front impact bar to the frame rail.
  2. Position the left front horn to the frame rail and impact bar.
  3. Notice: Refer to Fastener Notice in the Preface section.

  4. Install the front impact bar bolts to the frame rail.
  5. Tighten
    Tighten the bolts to 50 N·m (37 lb ft).


    Object Number: 1479974  Size: SH
  6. Install the front bumper fascia (1). Refer to Front Bumper Fascia Replacement .