GM Service Manual Online
For 1990-2009 cars only

Removal Procedure

  1. Raise and support the vehicle. Refer to Lifting and Jacking the Vehicle .
  2. Remove the rubber grommet from the rear exhaust hanger.
  3. Lower the automatic level control compressor assembly. Refer to Automatic Level Control Air Compressor Air Filter Replacement .

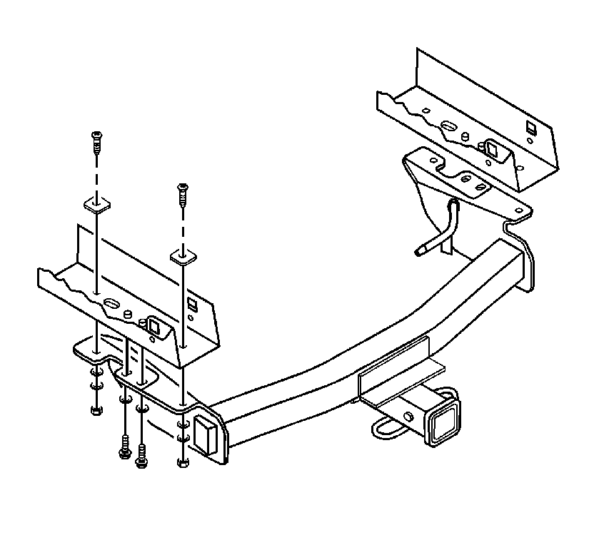
  4. Object Number: 880018  Size: SH
  5. Remove the trailer hitch assembly from the vehicle.

Installation Procedure

    Notice: Refer to Fastener Notice in the Preface section.


    Object Number: 880018  Size: SH
  1. Install the trailer hitch onto the vehicle.
  2. Tighten

        • Tighten all 0.5 in diameter carriage bolts to 101 N·m (75 lb ft).
        • Tighten all M10 bolts to 54 N·m (40 lb ft).
  3. Install the automatic level control compressor assembly onto the vehicle. Refer to Automatic Level Control Air Compressor Air Filter Replacement .
  4. Install the rubber grommet onto the rear exhaust hanger.
  5. Lower the vehicle.