GM Service Manual Online
For 1990-2009 cars only

Quarter Window Replacement With A20 Power

Removal Procedure


    Object Number: 1232904  Size: SH

    Important: Before removing a stationary window, apply a layer of masking tape around the perimeter of the painted surfaces and inner trim of the window.

  1. Remove the body side rear upper finish panel. Refer to Body Lock Pillar Upper Trim Panel Replacement in Interior Trim.
  2. Remove the rear corner upper finish panel. Refer to Upper Rear Trim Finish Panel Replacement in Interior Trim.
  3. Open the bodyside window to the full open position.
  4. Disconnect the electrical connector (4) from the power window actuator (5).
  5. Disconnect the actuator arm from the rear window hinge.
  6. Remove the bodyside window hinge nuts (2).
  7. Remove the bodyside window (1) from the opening.
  8. Inspect the quarter window weatherstrip. Replace the weatherstrip, if damaged. Refer to Rear Quarter Window Weatherstrip Replacement in Body Rear End.
  9. Remove the hinge screw (3) from the window (1).

Installation Procedure

    Notice: Refer to Fastener Notice in the Preface section.


    Object Number: 1232904  Size: SH
  1. Install the bodyside window hinge screw (3) to the window  (1).
  2. Tighten
    Tighten the screw (3) to 1.6 N·m (1.4 lb in).

  3. Install the bodyside window to the bodyside opening.
  4. Install the bodyside window hinge nuts (2).
  5. Tighten
    Tighten the nuts (2) to 10 N·m (89 lb in).

  6. Secure the window hinge to the actuator arm.
  7. Connect the electrical connector (4) to the power window actuator (5).
  8. Inspect the bodyside window for proper operation.
  9. Close the bodyside window.
  10. Remove the masking tape from around the perimeter of the painted surfaces and inner trim of the window.
  11. Install the rear corner upper finish panel. Refer to Upper Rear Trim Finish Panel Replacement in Interior Trim.
  12. Install the body side rear upper finish panel. Refer to Body Lock Pillar Upper Trim Panel Replacement in Interior Trim.

Quarter Window Replacement Without A20 Manual

Tools Required

J 34946 Window Pin Remover

Removal Procedure

  1. Install the bodyside window garnish molding. Refer to Upper Rear Trim Finish Panel Replacement .
  2. Install the body side rear upper garnish molding. Refer to Body Lock Pillar Upper Trim Panel Replacement .

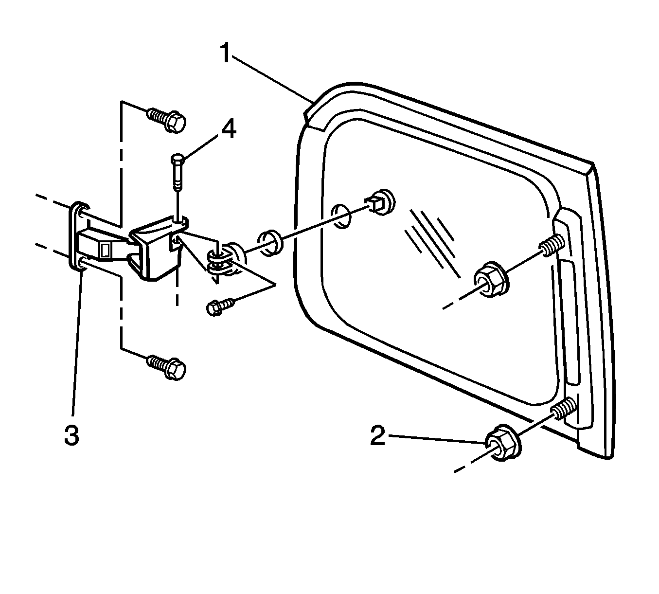
  3. Object Number: 1232910  Size: SH

    Important: Before removing a bodyside window, apply a layer of masking tape around the perimeter of the painted surfaces and inner trim of the window.

  4. Open the bodyside window to the full open position.
  5. Use J 34946 or equivalent in order to remove the latch hinge pin.
  6. Remove the bodyside window latch hinge pin (4) from the latch (3).

  7. Remove the bodyside window hinge nuts (2) from the body.
  8. Remove the bodyside window from the opening.
  9. Remove the bodyside window latch hinge screw from the window.
  10. Remove the retainers.
  11. Remove the bushings.

Installation Procedure


    Object Number: 1232910  Size: SH
  1. Install the bushings.
  2. Notice: Refer to Fastener Notice in the Preface section.

  3. Install the retainers.
  4. Install the bodyside window latch hinge screw to the window.
  5. Tighten
    Tighten the screw (2) to 1.6 N·m (1.4 lb in).

  6. Install the bodyside window in the opening.
  7. Install the bodyside window hinge nuts (2) to the body.
  8. Tighten
    Tighten the nuts (2) to 3.5 N·m (1.6 lb in).

  9. Use J 34946 or equivalent in order to install the latch hinge pin.
  10. Install the bodyside window latch hinge pin (4) to the latch (3).
  11. Inspect the bodyside window for proper operation.
  12. Close the bodyside window.
  13. Install the body side rear upper garnish molding. Refer to Body Lock Pillar Upper Trim Panel Replacement .
  14. Install the bodyside window garnish molding. Refer to Upper Rear Trim Finish Panel Replacement .
  15. Remove the masking tape from around the perimeter of the painted surfaces and inner trim of the window.