GM Service Manual Online
For 1990-2009 cars only
Makes
🢒
Buick
🢒
2005
🢒
Terraza Ext.
🢒
Preface
🢒
Cautions and Notices
🢒 Clutch Housing Assemble
Special Tools
•
83 90 114
Sleeve
•
83 90 312
Drift, Bearing Race Input Shaft
•
87 91 311
Sleeve, Bearing Driver Shaft
•
87 92 210
Support, Differential Bearing
•
87 92 236
Support
•
J 44809
Output Shaft Seal Installer
Press in the new differential bearing race using the
J 44809
. Use the
87 92 236
as a base for the pressing operation.
Install the new axle using the
J 44809
.
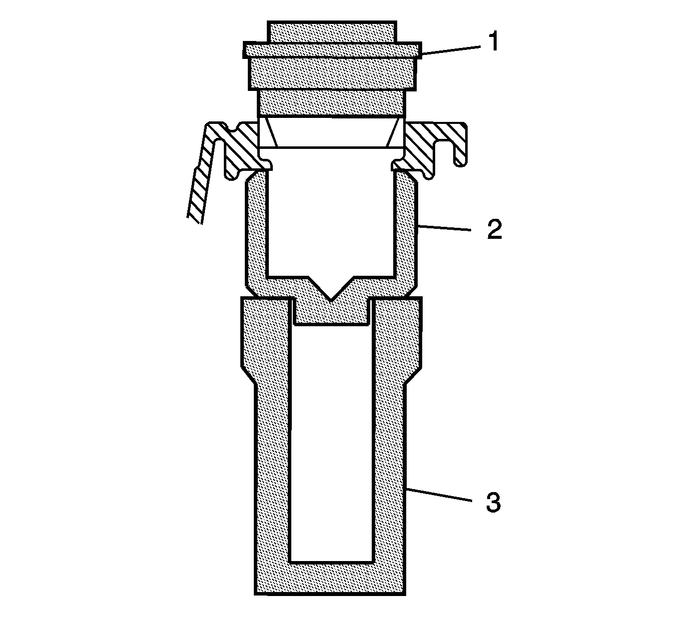
Press in the new input shaft bearing race using the
83 90 312
(1). Use the
83 90 114
(2) and the
87 91 311
(3) as a base for the pressing operation.