GM Service Manual Online
For 1990-2009 cars only
Makes
🢒
Cadillac
🢒
2003
🢒
CTS
🢒
Steering
🢒
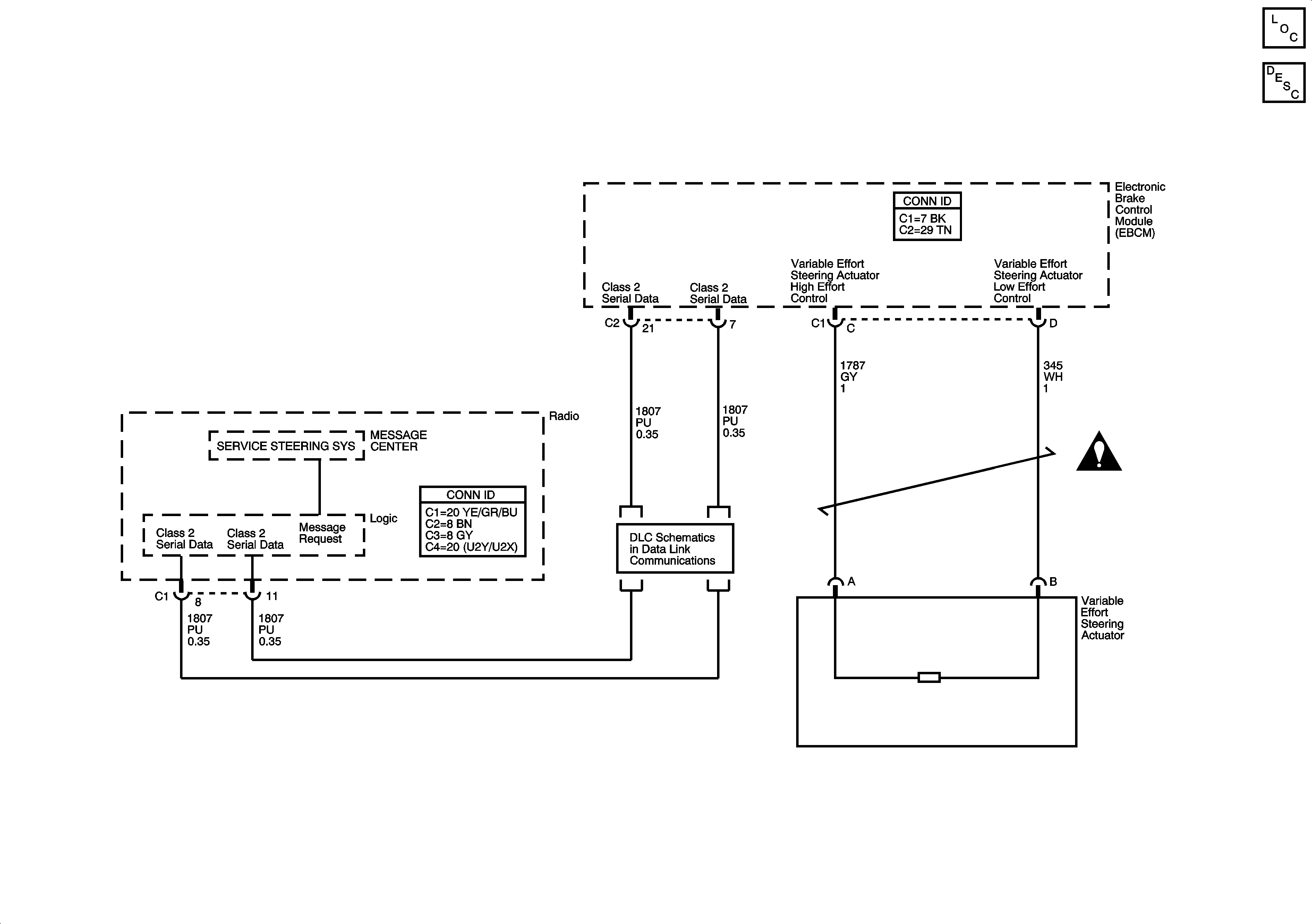
Variable Effort Steering
🢒 Steering Assist Schematics
Class 2 (LHD) 1 of 2