GM Service Manual Online
For 1990-2009 cars only
Makes
🢒
Cadillac
🢒
2003
🢒
CTS
🢒
Body and Accessories
🢒
Roof
🢒 Power Sunroof Disassembled View
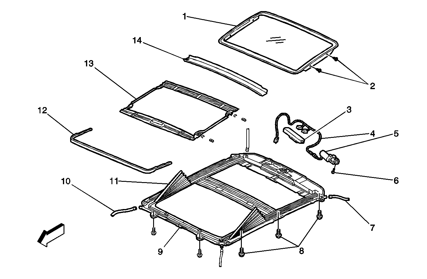
Sunroof Disassembled View
(1)
Sunroof Window
(2)
Sunroof Window Screws
(3)
Sunroof Control Module
(4)
Sunroof Wiring Harness
(5)
Sunroof Motor/Actuator
(6)
Sunroof Motor/Actuator Bolts
(7)
Sunroof Drain Hose-Rear
(8)
Sunroof Module Assembly Bolts
(9)
Sunroof Module Assembly
(10)
Sunroof Drain Hose-Front
(11)
Sunroof Panel Side Opening Closeout Cover
(12)
Sunroof Air Deflector
(13)
Sunroof Sunshade Panel
(14)
Sunroof Drain Channel