GM Service Manual Online
For 1990-2009 cars only

Engine Coolant Inlet Pipe Replacement LA3, LY9

Tools Required

J 38185 Hose Clamp Pliers

Removal Procedure

  1. Drain the cooling system. Refer to Cooling System Draining and Filling .
  2. Remove the surge tank outlet hose/pipe. Refer to Radiator Surge Tank Outlet Hose/Pipe Replacement .
  3. Remove the crankcase vent housing. Refer to Crankcase Vent Housing Replacement in Engine Mechanical-2.6L and 3.2L.
  4. Remove the water crossover. Refer to Engine Coolant Crossover Pipe Replacement .

  5. Object Number: 815452  Size: SH
  6. Remove the 2 bolts securing the coolant inlet pipe to the engine block.

  7. Object Number: 789008  Size: SH
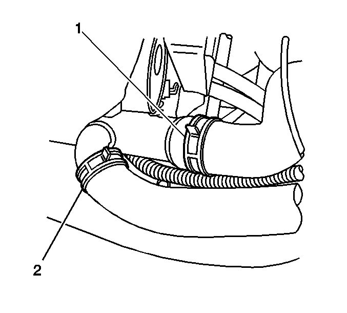
  8. Position the J 38185 to the clamps in order to remove the following from the coolant inlet pipe:
  9. • The radiator outlet hose (1)
    • The coolant bypass outlet hose (2)

    Object Number: 785768  Size: SH
  10. Disconnect the 2 cable harness clips (1) securing the engine wiring harness (4) to the engine control module (ECM) bracket (2) and position aside.
  11. Remove the afterboil coolant pump. Refer to Afterboil Coolant Pump Replacement .
  12. Remove the 2 bolts securing the coolant bypass inlet hose/pipe to the coolant inlet pipe.
  13. Remove the bolt securing the engine rear lift bracket to the cylinder head.
  14. Remove the engine rear lift bracket from the cylinder head.

  15. Object Number: 785741  Size: SH
  16. Remove the bolt (3) securing the coolant inlet pipe (4) to the ECM bracket (2).
  17. Lift the coolant inlet pipe (4) upward from the engine.
  18. Remove the coolant inlet pipe seal (1).

Installation Procedure


    Object Number: 785741  Size: SH
  1. Insert the coolant inlet pipe seal (1) into the coolant inlet pipe seal groove.
  2. Position the coolant inlet pipe (4) to the rear of the engine block.
  3. Notice: Refer to Fastener Notice in the Preface section.

  4. Install the 2 bolts (5) securing the coolant inlet pipe (4) to the engine block.
  5. Tighten
    Tighten the coolant inlet pipe bolts to 20 N·m (15 lb ft).

  6. Position the engine rear lift bracket to the cylinder head.
  7. Install the bolt securing the engine rear lift bracket to the cylinder head.
  8. Tighten
    Tighten the engine rear lift bracket bolt to 20 N·m (15 lb ft).

  9. Install the bolt (3) securing the coolant inlet pipe (4) to the ECM bracket (2).
  10. Tighten
    Tighten the coolant inlet pipe support bolt to 20 N·m (15 lb ft).

  11. Install the 2 bolts securing the coolant bypass inlet hose/pipe to the coolant inlet pipe.
  12. Tighten
    Tighten the coolant bypass inlet hose/pipe bolt to 9 N·m (80 lb in).

  13. Install the afterboil coolant pump. Refer to Afterboil Coolant Pump Replacement .

  14. Object Number: 785768  Size: SH
  15. Connect the 2 cable harness clips (1) securing the engine wiring harness (4) to the ECM bracket (2).

  16. Object Number: 789008  Size: SH
  17. Position the J 38185 to the clamps in order to connect the following to the coolant inlet pipe:
  18. • The radiator outlet hose (1)
    • The coolant bypass outlet hose (2)
  19. Install the water crossover. Refer to Engine Coolant Crossover Pipe Replacement .
  20. Install the crankcase vent housing. Refer to Crankcase Vent Housing Replacement in Engine Mechanical-2.6L and 3.2L.
  21. Install the surge tank outlet hose/pipe. Refer to Radiator Surge Tank Outlet Hose/Pipe Replacement .
  22. Fill the cooling system. Refer to Cooling System Draining and Filling .

Engine Coolant Inlet Pipe Replacement LY7

Removal Procedure

  1. Raise and support the vehicle. Refer to Lifting and Jacking the Vehicle .

  2. Object Number: 945302  Size: SH
  3. Remove the coolant pipe to generator bracket bolt.
  4. Lower the vehicle.
  5. Drain the cooling system. Refer to Cooling System Draining and Filling .
  6. Disconnect the radiator outlet hose from the coolant pipe. Refer to Radiator Outlet Hose Replacement .
  7. Remove the wiring harnesses from the coolant inlet pipe.
  8. Remove the coolant pipe to thermostat bolt.
  9. Remove the coolant pipe to cylinder head bolt.
  10. Remove the coolant pipe.

Installation Procedure


    Object Number: 945302  Size: SH
  1. Install the coolant pipe.
  2. Loose assemble all the coolant pipe bolts.
  3. Notice: Refer to Fastener Notice in the Preface section.

  4. Install the coolant pipe to thermostat bolt.
  5. Tighten
    Tighten the coolant pipe to thermostat bolt to 23 N·m (17 lb ft).

  6. Install the coolant pipe to cylinder head bolt.
  7. Tighten
    Tighten the coolant pipe to cylinder head bolt to 50 N·m (37 lb ft).

  8. Raise and support the vehicle. Refer to Lifting and Jacking the Vehicle .
  9. Install the coolant pipe to generator bracket bolt.
  10. Tighten
    Tighten the coolant pipe to generator bracket bolt to 23 N·m (17 lb ft).

  11. Connect the radiator outlet hose to the coolant pipe. Refer to Radiator Outlet Hose Replacement .
  12. Install the wiring harnesses to the coolant inlet pipe.
  13. Fill the cooling system. Refer to Cooling System Draining and Filling .