GM Service Manual Online
For 1990-2009 cars only
Makes
🢒
Cadillac
🢒
2004
🢒
CTS
🢒
Engine
🢒
Engine Controls - 2.6L and 3.2L
🢒 Evaporative Emissions Hose Routing Diagram
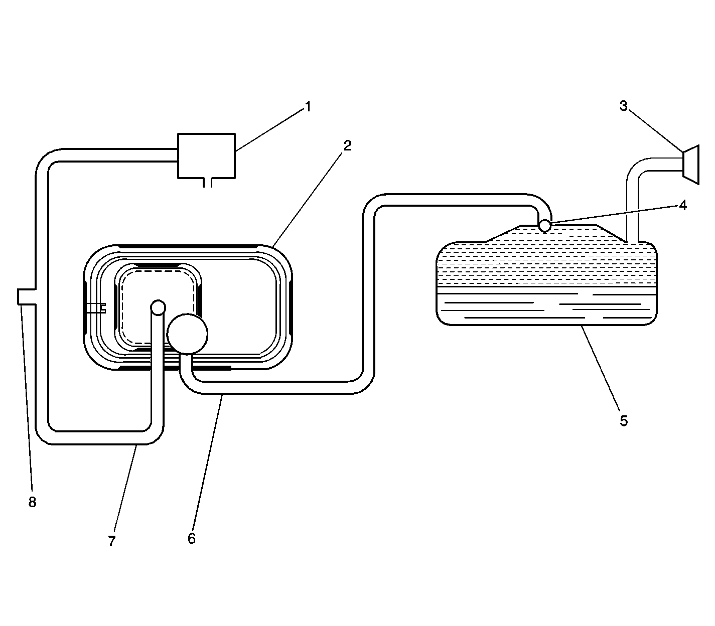
EVAP System Overview - Typical
(1)
EVAP Canister Purge Valve
(2)
EVAP Canister and EVAP Canister Vent Valve
(3)
Fuel Fill Neck/Fill Cap
(4)
Rollover Valve/Fuel Tank Pressure (FTP) Sensor
(5)
Fuel Tank
(6)
EVAP Vapor Pipe
(7)
EVAP Purge Pipe
(8)
EVAP Service Port