GM Service Manual Online
For 1990-2009 cars only
Makes
🢒
Cadillac
🢒
2004
🢒
CTS
🢒
Engine
🢒
Engine Controls - 5.7L
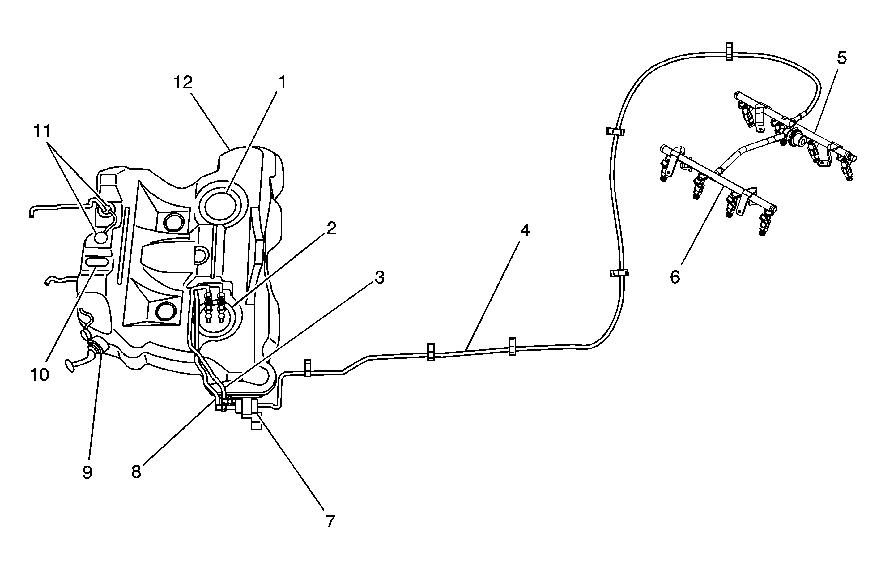
🢒 Fuel Hose/Pipes Routing Diagram
(1)
Fuel Sender Assembly
(2)
Fuel Pump, Jet Pump, and Fuel Sender Assembly
(3)
Fuel Feed Hose
(4)
Fuel Feed Pipe
(5)
Fuel Pulse Dampener
(6)
Fuel Rail and Injectors
(7)
Fuel Filter
(8)
Fuel Return Hose
(9)
Fuel Filler Tube
(10)
Fuel Tank Pressure (FTP) Sensor
(11)
Fuel Level Vent Valve (FLVV)
(12)
Fuel Tank