GM Service Manual Online
For 1990-2009 cars only

Removal Procedure

  1. Remove the rear sail panels. Refer to Sail Panel Replacement in Interior Trim.
  2. Remove the rear assist handles. Refer to Assist Handle Replacement in Interior Trim.
  3. Remove the rear roof mounted dome lamp. Refer to Dome Lamp Replacement in Lighting Systems.
  4. Carefully lower the rear of the headliner to access the antenna module.

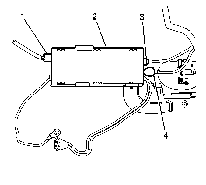
  5. Object Number: 708271  Size: SH
  6. Disconnect the coax cables (3,4).
  7. Disconnect the electrical connector (1).
  8. Slide the diversity antenna module  (2) off the mounting bracket.

Installation Procedure


    Object Number: 708271  Size: SH
  1. Install the diversity antenna module (2) on to the mounting bracket.
  2. Connect all the electrical connectors (1, 3, 4).
  3. Install the rear roof mounted dome lamp. Refer to Dome Lamp Replacement in Lighting Systems.
  4. Install the rear assist handles. Refer to Assist Handle Replacement in Interior Trim.
  5. Install the rear sail panels. Refer to Sail Panel Replacement in Interior Trim.