GM Service Manual Online
For 1990-2009 cars only

Parking Brake Release Handle Assembly Replacement LHD

Removal Procedure

  1. Remove the knee bolster. Refer to Knee Bolster Replacement Instrument Panel, Gages, and Console.

  2. Object Number: 786887  Size: SH
  3. Remove the park brake release handle mounting screws.
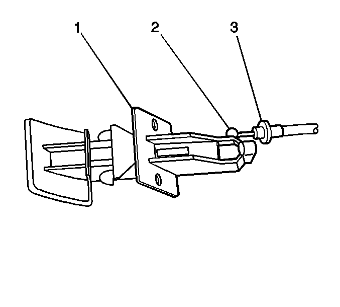
  4. Remove the park brake release cable housing (3) from the park brake release handle assembly (1).
  5. Remove the park brake release handle (2) from the park brake release cable (1).
  6. Remove the park brake release handle from the vehicle.

Installation Procedure


    Object Number: 786887  Size: SH
  1. Install the park brake release handle (2) to the park brake release cable (1).
  2. Install the park brake release cable housing (3) to the park brake release handle assembly (1).
  3. Install the park brake release handle assembly (1) to the knee bolster.
  4. Notice: Refer to Fastener Notice in the Preface section.

  5. Install the park brake release handle mounting screws.
  6. Tighten
    Tighten the park brake release handle mounting screws to 2 N·m (18 lb in).

  7. Install the knee bolster. Refer to Knee Bolster Replacement in Instrument Panel, Gages, and Console.

Parking Brake Release Handle Assembly Replacement RHD

Removal Procedure

  1. Remove the knee bolster. Refer to Knee Bolster Replacement in Instrument Panel, Gages, and Console.

  2. Object Number: 786887  Size: SH
  3. Remove the park brake release handle mounting screws.
  4. Remove the park brake release cable housing (3) from the park brake release handle assembly (1).
  5. Remove the park brake release cable (2) from the park brake release handle assembly (1).

Installation Procedure


    Object Number: 786887  Size: SH
  1. Install the park brake release cable (2) to the park brake release handle assembly (1).
  2. Install the park brake release cable housing (3) to the park brake release handle assembly (1).
  3. Install the park brake release handle assembly (1) to the knee bolster.
  4. Notice: Refer to Fastener Notice in the Preface section.

  5. Install the park brake release handle mounting screws.
  6. Tighten
    Tighten the park brake release handle mounting screws to 2 N·m (18 lb in).

  7. Install the knee bolster. Refer to Knee Bolster Replacement in Instrument Panel, Gages, and Console.