| Table 1: | Auxiliary RCA Video Jacks (Export w/U2Y/U2X) |
| Table 2: | Radio C4 (Export w/U2Y/U2X) |
| Table 3: | Traffic Information Receiver (Export w/U2Y/U2X) |
| Table 4: | TV Antenna Module (Export w/U2Y/U2X) |
| |||||||
|---|---|---|---|---|---|---|---|
Connector Part Information |
| ||||||
Pin | Wire Color | Circuit No. | Function | ||||
A | BARE | 814 | Drain Wire | ||||
B | WH | 2058 | Auxiliary Audio Right Signal | ||||
C | PU | 2056 | Auxiliary Video High Signal | ||||
D | -- | -- | Not Used | ||||
E | YE | 2059 | Auxiliary Audio Left Signal | ||||
F | BARE | 814 | Drain Wire | ||||
G-H | -- | -- | Not Used | ||||
| |||||||
|---|---|---|---|---|---|---|---|
Connector Part Information |
| ||||||
Pin | Wire Color | Circuit No. | Function | ||||
1-5 | -- | -- | Not Used | ||||
6 | OG | 2047 | Video Red Signal (+) | ||||
7 | TN | 5146 | Video Red Signal (-) | ||||
8 | D-BU | 2048 | Video Green Signal (+) | ||||
9 | BN | 5145 | Video Green Signal (-) | ||||
10 | D-GN | 2049 | Video Blue Signal (+) | ||||
11 | GY | 5144 | Video Blue Signal (-) | ||||
12-14 | -- | -- | Not Used | ||||
15 | BN | 2355 | Navigation Display Serial Data Low (Japan w/U2X) | ||||
16 | OG | 2354 | Navigation Display Serial Data High (Japan w/U2X) | ||||
17-19 | -- | -- | Not Used | ||||
20 | L-GN | 2045 | Video Synchronization Signal (+) | ||||
21 | TN/BK | 5147 | Video Synchronization Signal (-) | ||||
22 | -- | -- | Not Used | ||||
| |||||||
|---|---|---|---|---|---|---|---|
Connector Part Information |
| ||||||
Pin | Wire Color | Circuit No. | Function | ||||
A | OG | 2354 | Navigation Display Serial Data High | ||||
B | BN | 2355 | Navigation Display Serial Data Low | ||||
C | BARE | 514 | Drain Wire | ||||
D | PK | 5165 | SW Antenna Enable | ||||
E | RD/WH | 3240 | Battery Positive Voltage | ||||
F | BK/WH | 851 | Ground | ||||
| |||||||
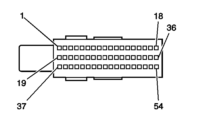
|---|---|---|---|---|---|---|---|
Connector Part Information |
| ||||||
Pin | Wire Color | Circuit No. | Function | ||||
1-2 | -- | -- | Not Used | ||||
3 | PU | 1807 | Class 2 Serial Data | ||||
4 | -- | -- | Not Used | ||||
5 | BN/WH | 367 | Left Audio Signal (+) (U2K) | ||||
6 | D-GN/WH | 368 | Right Audio Signal (+) (U2K) | ||||
7 | TN/WH | 372 | Audio Common (U2K) | ||||
8-9 | -- | -- | Not Used | ||||
10 | BARE | 814 | Drain Wire | ||||
11 | L-GN | 2045 | Video Synchronization Signal (+) | ||||
12 | TN/BK | 5147 | Video Synchronization Signal (-) | ||||
13 | D-GN | 2049 | Video Blue Signal (+) | ||||
14 | GY | 5144 | Video Blue Signal (-) | ||||
15 | D-BU | 2048 | Video Green Signal (+) | ||||
16 | BN | 5145 | Video Green Signal (-) | ||||
17 | OG | 2047 | Video Red Signal (+) | ||||
18 | TN | 5146 | Video Red Signal (-) | ||||
19 | BK/WH | 851 | Ground | ||||
20 | RD/WH | 3240 | Battery Positive Voltage | ||||
21-46 | -- | -- | Not Used | ||||
47 | YE | 2059 | Auxiliary Audio Left Signal | ||||
48 | WH | 2058 | Auxiliary Audio Right Signal | ||||
49 | BARE | 814 | Drain Wire | ||||
50-51 | -- | -- | Not Used | ||||
52 | PU | 2056 | Auxiliary Video High Signal | ||||
53 | BARE | 814 | Drain Wire | ||||
54 | -- | -- | Not Used | ||||