GM Service Manual Online
For 1990-2009 cars only
Figure 1:

ECM, Ignition Coils and Throttle Body Assembly


Object Number: 1378796  Size: LF
(1)Ignition Coil Bank 1
(2)Ignition Coil Bank 1 Connector
(3)Ignition Coil Bank 2 Connector
(4)Ignition Coil Bank 2
(5)Throttle Body Assembly
(6)Throttle Body Assembly Connector
(7)Engine Control Module (ECM) Connector C2
(8)Engine Control Module (ECM) Connector C1
(9)Engine Control Module (ECM) Case Ground
(10)Engine Control Module (ECM)
Figure 2:

IMRC, IMTV Solenoids and MAF Sensor


Object Number: 1378799  Size: LF
(1)Intake Manifold Runner Control (IMRC) Solenoid
(2)Intake Manifold Runner Control (IMRC) Solenoid Connector
(3)Mass Air Flow (MAF) and Intake Air Temperature (IAT) Sensor Connector
(4)Mass Air Flow (MAF) and Intake Air Temperature (IAT) Sensor
(5)Intake Manifold Tuning Valve (IMTV) Solenoid Connector
(6)Intake Manifold Tuning Valve (IMTV) Solenoid
Figure 3:

Crankshaft Position (CKP) and Camshaft Position (CMP) Sensors


Object Number: 1378802  Size: LF
(1)Crankshaft Position (CKP) Sensor Connector
(2)Crankshaft Position (CKP) Sensor
(3)Camshaft Position (CMP) Sensor
(4)Camshaft Position (CMP) Sensor Connector
Figure 4:

Knock Sensors


Object Number: 1378804  Size: LF
(1)Knock Sensor (KS) Bank 1 Connector
(2)Knock Sensor (KS) Bank 2 Connector
(3)Knock Sensor (KS) Bank 2
(4)Knock Sensor (KS) Bank 1
Figure 5:

Heated Oxygen Sensors (HO2S) (1 of 2)


Object Number: 1378806  Size: LF
(1)Heated Oxygen Sensor (HO2S) Bank 1 Sensor 1 Connector
(2)Heated Oxygen Sensor (HO2S) Bank 2 Sensor 1 Connector
(3)Heated Oxygen Sensor (HO2S) Bank 2 Sensor 1
(4)Heated Oxygen Sensor (HO2S) Bank 1 Sensor 1
Figure 6:

Heated Oxygen Sensors (HO2S) (2 of 2)


Object Number: 1378811  Size: LF
(1)Heated Oxygen Sensor (HO2S) Bank 1 Sensor 2
(2)Heated Oxygen Sensor (HO2S) Bank 1 Sensor 2 Connector
(3)Heated Oxygen Sensor (HO2S) Bank 2 Sensor 2 Connector
(4)Heated Oxygen Sensor (HO2S) Bank 2 Sensor 2
Figure 7:

EVAP Canister Purge Solenoid Valve, ECT and EOP Sensors


Object Number: 1378813  Size: LF
(1)EVAP Canister Purge Solenoid Valve Connector
(2)EVAP Canister Purge Solenoid Valve
(3)Engine Coolant Temperature (ECT) Sensor Connector
(4)Engine Coolant Temperature (ECT) Sensor
(5)Engine Oil Pressure (EOP) Sensor
(6)Engine Oil Pressure (EOP) Sensor Connector
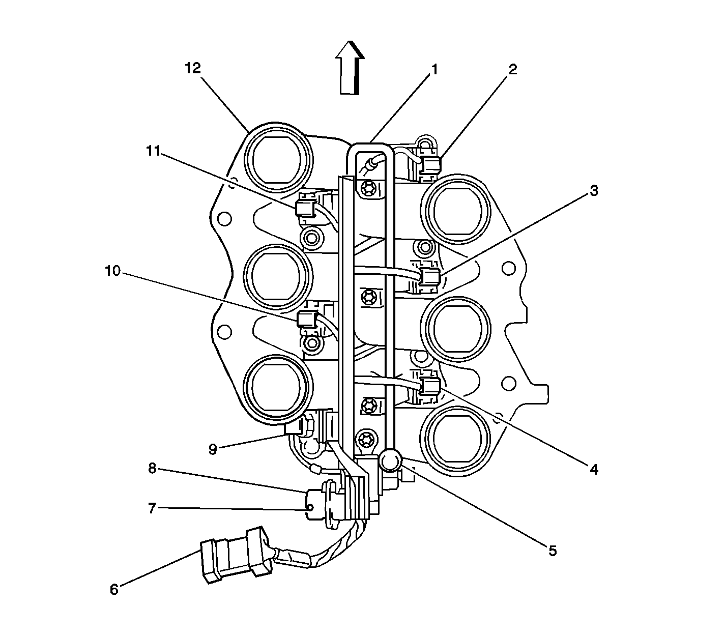
Figure 8:

Top of the Engine - Fuel Rail and Injectors


Object Number: 803104  Size: LF
(1)Fuel Rail
(2)Fuel Injector 1
(3)Fuel Injector 3
(4)Fuel Injector 5
(5)Fuel Pressure Service Port
(6)C112
(7)Fuel Pressure Regulator Atmosphere Vent Port
(8)Fuel Pressure Regulator
(9)Fuel Injector 6
(10)Fuel Injector 4
(11)Fuel Injector 2
(12)Intake Manifold (Bottom View)
Figure 9:

After Boil Coolant Pump and Coolant Bypass Valve Solenoid


Object Number: 1378819  Size: LF
(1)Engine Control Module (ECM)
(2)After Boil Coolant Pump Connector
(3)After Boil Coolant Pump
(4)Coolant Bypass Valve Solenoid Connector
(5)Coolant Bypass Valve Solenoid
(6)Radiator (Upper Right Corner)
Figure 10:

Brake Pedal, Accelerator Pedal, Brake Pedal Position Sensor and APP Sensors


Object Number: 1334064  Size: LF
(1)Accelerator Pedal Position (APP) Sensor
(2)Accelerator Pedal
(3)Brake Pedal
(4)Brake Pedal Position Sensor
Figure 11:

Transmission Control Module (TCM) (w/M82)


Object Number: 1334163  Size: LF
(1)Fuse Block - Underhood
(2)Transmission Control Module (TCM)
Figure 12:

EVAP Canister Vent Solenoid Valve


Object Number: 1378817  Size: LF
(1)EVAP Canister
(2)EVAP Canister Vent Solenoid Valve Connector
(3)EVAP Canister Vent Solenoid Valve
Figure 13:

Fuel Tank Subsystem Components


Object Number: 1378267  Size: LF
(1)Secondary Fuel Sender Assembly
(2)Secondary Fuel Sender Assembly Connector
(3)Secondary Fuel Sender Assembly (Removed from Fuel Tank)
(4)Fuel Pump and Sender Assembly (Removed from Fuel Tank)
(5)Fuel Pump and Sender Assembly
(6)Fuel Pump and Sender Assembly Connector
(7)Fuel Tank Pressure Sensor
(8)Fuel Tank Pressure Sensor Connector
Figure 14:

Body to Engine Inlines


Object Number: 1552989  Size: LF
(1)C101
(2)Battery