GM Service Manual Online
For 1990-2009 cars only
Makes
🢒
Cadillac
🢒
2004
🢒
CTS
🢒
Transmission/Transaxle
🢒
Automatic Transmission - 5L40-E
🢒 Torque Converter Clutch/Cruise Control Release Switch Replacement
Removal Procedure
Remove the left closeout/insulator panel. Refer to
Instrument Panel Insulator Panel Replacement - Left Side
in Instrument Panel, Gages and Console.
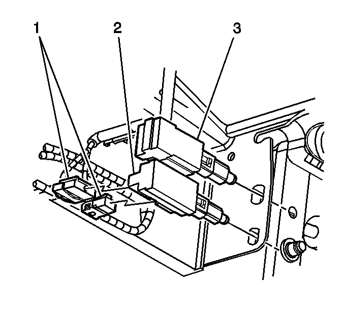
Remove the torque converter clutch/cruise release switch (3) by pulling the upper switch out of the retainer.
Disconnect the electrical connector from the torque converter clutch/cruise release switch (3).
Installation Procedure
Connect the electrical connector to the torque converter clutch/cruise release switch (3).
Install the torque converter clutch/cruise release switch (3) into the upper retainer.
Adjust the torque converter clutch/cruise release switch. Refer to
Torque Converter Clutch/Cruise Control Release Switch Adjustment
.
Install the left closeout/insulator panel. Refer to
Instrument Panel Insulator Panel Replacement - Left Side
in Instrument Panel, Gages and Console.