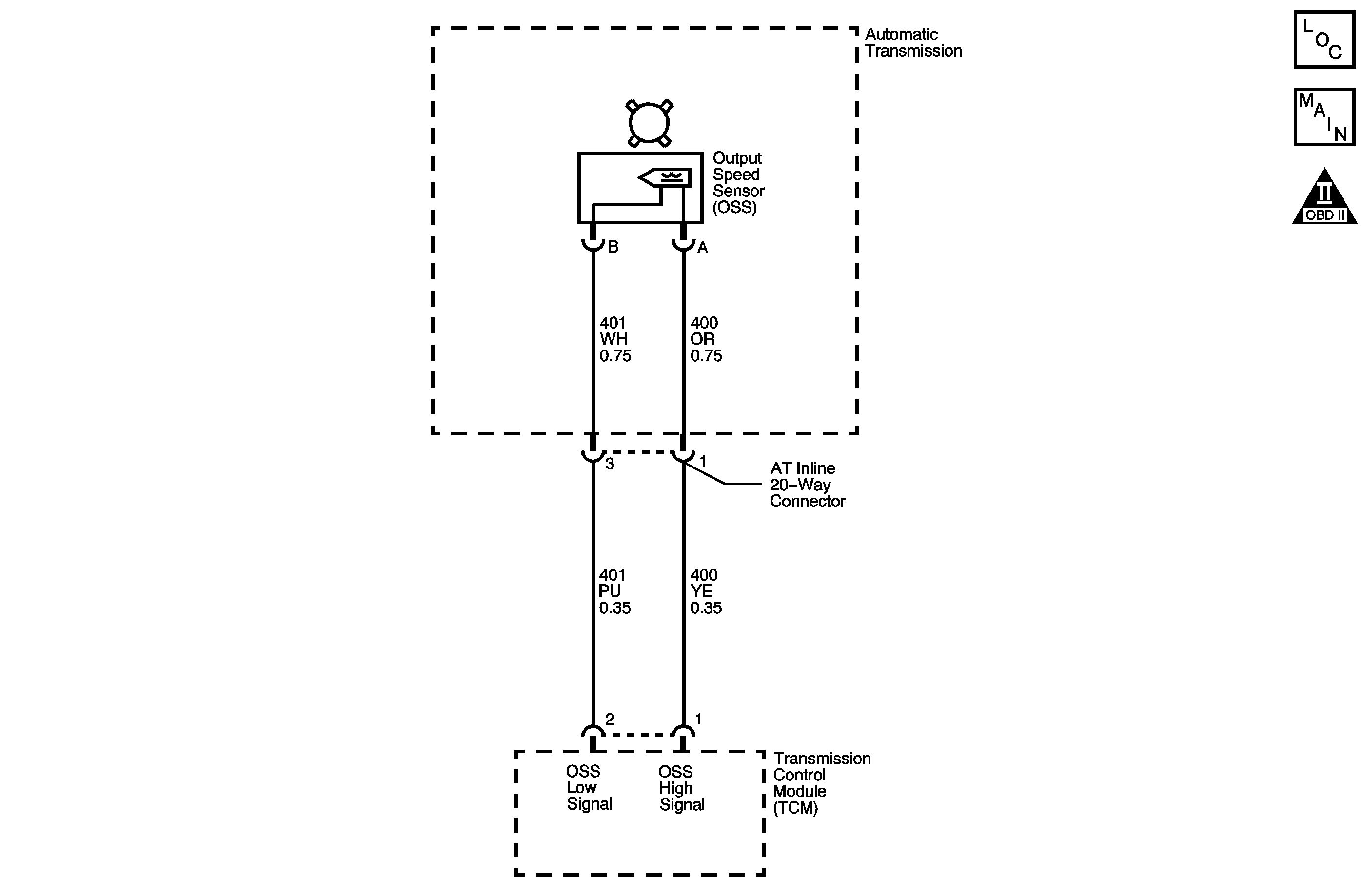
The output speed sensor (OSS) assembly provides vehicle speed information to the transmission control module (TCM). The OSS sensor assembly is a permanent magnet generator. The sensor is mounted in the transmission case facing the rear internal gear which is splined to the output shaft assembly. As the output shaft and internal gear rotate, the toothed rotor of the internal gear produces AC voltage as the rotor teeth pass through the magnetic field of the sensor. The AC voltage level and the number of pulses increase as the speed of the vehicle increases. The TCM converts the voltage to vehicle speed. The TCM uses the output shaft speed signal to determine shift timing and torque converter clutch (TCC) scheduling.
If the TCM detects no vehicle speed when there is engine speed in a drive gear range, then DTC P0722 sets. DTC P0722 is a type B DTC.
| • | No throttle system DTC P0120. |
| • | No ISS DTCs P0716 or P0717. |
| • | No OSS DTC P0723. |
| • | No engine torque DTC P2637. |
| • | The engine run time is greater than 5 seconds. |
| • | The throttle position is greater than 12 percent. |
| • | The engine torque is greater than 70 N·m(52 lb ft). |
| • | The transmission input shaft speed is 1,500-6,800 RPM. |
The transmission output shaft speed is less than 100 RPM for 3 seconds.
| • | The TCM illuminates the malfunction indicator lamp (MIL) during the second consecutive trip in which the Conditions for Setting the DTC are met. |
| • | The TCM commands maximum line pressure. |
| • | The TCM freezes transmission adaptive functions. |
| • | The TCM calculates vehicle speed from the automatic transmission input shaft speed sensor and commanded gear. |
| • | At the time of the first failure, the TCM records the operating conditions when the Conditions for Setting the DTC are met. The TCM stores this information as a Failure Record. |
| • | At the time of the second failure, the ECM records the operating conditions when the Conditions for Setting the DTC are met. The ECM stores this information as a Freeze Frame. |
| • | The TCM stores DTC P0722 in TCM history. |
| • | The ECM turns OFF the MIL after the sixth consecutive drive trip in which the TCM does not send a MIL illumination request. |
| • | A scan tool can clear the MIL/DTC. |
| • | The TCM clears the DTC from TCM history if the vehicle completes 40 warm-up cycles without an emission related diagnostic fault occurring. |
| • | The TCM cancels the default actions when the ignition is OFF long enough in order to power down the TCM. |
Ensure the OSS sensor is properly torqued to the transmission housing.
The numbers below refer to the step numbers on the diagnostic table.
The resistance measurement will not change if either the OSS high signal circuit or the OSS low signal circuit, but not both, is shorted to ground. The vehicle speed detector in the TCM and the OSS are matched in such a way that an open or a short to ground in the OSS low signal circuit will not usually cause a loss of speed signal or a DTC P0722 to set.
This step isolates the short between the OSS and the wiring.
The DMM will detect AC voltage if the OSS high signal circuit is shorted to ground.
Refer to the latest procedures for TCM reprogramming.
Step | Action | Value(s) | Yes | No | ||||||||||
|---|---|---|---|---|---|---|---|---|---|---|---|---|---|---|
1 | Did you perform the Diagnostic System Check - Automatic Transmission? | -- | Go to Step 2 | |||||||||||
2 |
Notice: In order to avoid damage to the drive axles, support the lower control arms in the normal horizontal position. Do not run the vehicle in gear with the wheels hanging down at full travel.
Important:
Does the scan tool display transmission output speed above the specified value? | 100 RPM | Go to Intermittent Conditions in Engine Controls - 2.6L and 3.2L or Intermittent Conditions in Engine Controls - 3.6L (LY7) | Go to Step 3 | ||||||||||
Is the resistance within the specified range? | 325-575 ohms | Go to Step 5 | Go to Step 4 | |||||||||||
4 | Test the OSS high signal circuit and the OSS low signal circuit for the following conditions:
Refer to Testing for Continuity in Wiring Systems. Did you find and correct a condition? | -- | Go to Step 12 | Go to Step 9 | ||||||||||
5 | Measure the resistance between the OSS high signal circuit at the TCM connector and ground. Is the resistance greater than the specified value? | 50K ohms | Go to Step 8 | Go to Step 6 | ||||||||||
Is the resistance greater than the specified value? | 50K ohms | Go to Step 9 | Go to Step 7 | |||||||||||
7 | Repair the short to ground in the OSS high signal circuit. Refer to Wiring Repairs in Wiring Systems. Did you complete the repair? | -- | Go to Step 12 | -- | ||||||||||
Is the AC voltage equal to or greater than the specified value? | 0.5 V | Go to Step 11 | Go to Step 9 | |||||||||||
9 |
Did you find and correct a condition? | -- | Go to Step 12 | Go to Step 10 | ||||||||||
10 | Replace the OSS. Refer to Output Speed Sensor Replacement . Did you complete the repair? | -- | Go to Step 12 | -- | ||||||||||
Replace the TCM. Refer to Transmission Control Module Replacement . Is the action complete? | -- | Go to Step 12 | -- | |||||||||||
12 | Perform the following procedure in order to verify the repair:
Has the test run and passed? | -- | Go to Step 13 | Go to Step 2 | ||||||||||
13 | With the scan tool, observe the stored information, capture info and DTC info. Does the scan tool display any DTCs that you have not diagnosed? | -- | Go to Diagnostic Trouble Code (DTC) List in Engine Controls - 2.6L and 3.2L or Diagnostic Trouble Code (DTC) List in Engine Controls - 3.6L (LY7) | System OK |