Tools Required
J 38778
Door Trim Pad Clip Remover
Removal Procedure
- Remove the screw cover from the sail panel.
Important: The upper sail panel is secured with a fastener. Use a magnetic-tipped screwdriver in order to remove the fastener.
- Remove the fastener.
- Pull downward on the lower front portion of the sail panel in order to release the integral clip.
- Release the sail panel plastic push-in retainer using the
J 38778
, or equivalent.
- Pull outward at the top in order to release the other integral clip.
- Pull the sail panel from the C-pillar.
- Remove the lower shoulder belt fastener.
- Disengage the shoulder belt and escutheon from the sail panel.
- Route the rear outboard shoulder belt from the sail panel.
- Remove the shoulder belt from the sail panel.
- Remove the sail panel.
Installation Procedure
- Position the sail panel to the C-pillar.
- Route the outboard shoulder belt and escutheon through the sail panel.
Important: Ensure the shoulder belt is free of twists.
- Straighten the belt, if needed, prior to securing the shoulder belt floorpan fastener. Refer to
Rear Seat Belt Retractor Replacement
.
- Position the upper sail panel downward next to the end of the rear shelf trim panel.
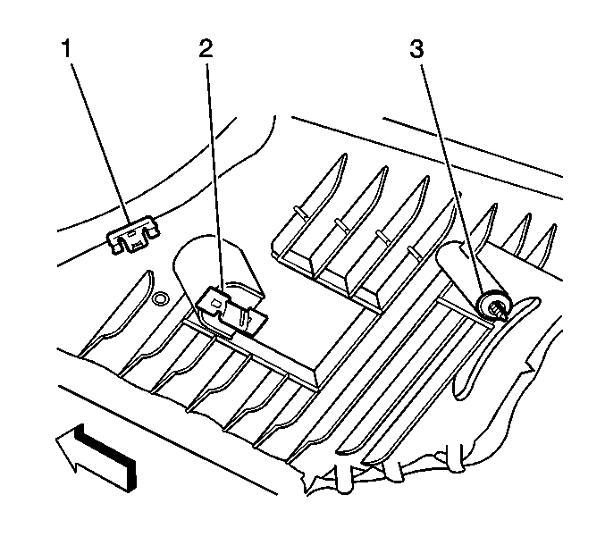
- Insert the upper metal integral clip (1) on the trim panel to the slot located in the headliner.
- Insert the lower metal integral clip (2) to the sheet metal.
- Position the plastic push-in retainer (3) to the hole in the sheet metal.
- Press inward at the plastic retainer in order to secure.
Notice: Use the correct fastener in the correct location. Replacement fasteners
must be the correct part number for that application. Fasteners requiring
replacement or fasteners requiring the use of thread locking compound or sealant
are identified in the service procedure. Do not use paints, lubricants, or
corrosion inhibitors on fasteners or fastener joint surfaces unless specified.
These coatings affect fastener torque and joint clamping force and may damage
the fastener. Use the correct tightening sequence and specifications when
installing fasteners in order to avoid damage to parts and systems.
- Install the fastener with a magnetic-tipped screwdriver.
Tighten
Tighten the screw to 2 N·m (18 lb in).
- Secure the seat belt escutheon to the sail panel.
- Install the screw cover to the sail panel.