GM Service Manual Online
For 1990-2009 cars only
Makes
🢒
Cadillac
🢒
2004
🢒
CTS
🢒
Transmission/Transaxle
🢒
Automatic Transmission - 5L40-E/5L50-E
🢒 Direct and Reverse Clutch Disassemble
Tools Required
•
J 38734
Intermediate Spring Compressor Adapter
•
J 45139
Compressor Plate
Remove the reverse clutch backing plate retainer (420).
Remove the backing plate (419).
Remove the clutch plates (418, 417). Refer to
Clutch Plate Selection Specifications
.
Remove the apply plate (416).
Remove the reverse clutch spacer (415).
Remove the direct clutch backing plate retainer ring (414).
Remove the backing plate (413).
Remove the clutch plates (412, 411). Refer to
Clutch Plate Selection Specifications
.
Remove the apply plate (410).
Use
J 38734
and
J 45139
to compress the direct and reverse piston spring.
Remove the direct and reverse clutch spring retainer ring (409).
Remove
J 38734
and
J 45139
.
Remove the spring retainer (408).
Remove the spring (407).
Important:
It may be necessary to use air pressure to remove the piston.
Remove the direct clutch piston (406).
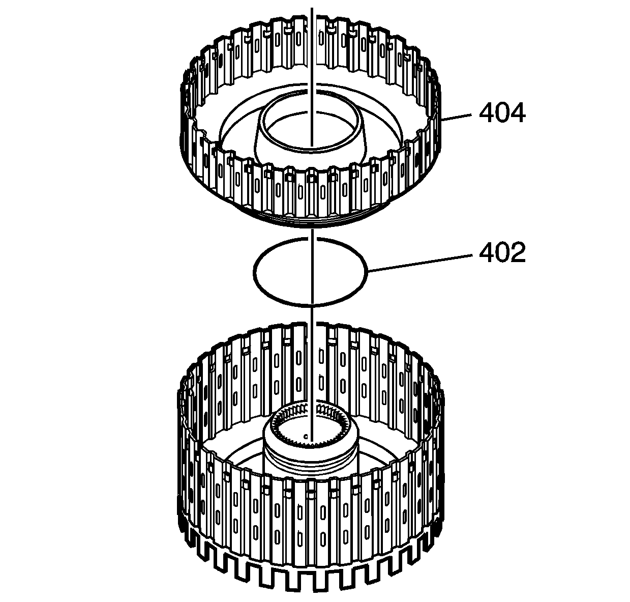
Remove the reverse clutch piston (404).
Remove the reverse clutch piston inner seal (402).