GM Service Manual Online
For 1990-2009 cars only

Tools Required

J 33163 Valve Tray Set


    Object Number: 1331354  Size: SH
  1. Position the control valve body on the work table so that the main valve body is facing up.
  2. Remove 6 bolts (1) and one bolt (2) retaining the reverse signal pipe and transmission fluid pressure (TFP) switch to the main valve body.

  3. Object Number: 1331367  Size: SH
  4. Remove the reverse signal pipe (2) from the main valve body (3).
  5. Remove the TFP switch (1) from the main valve body (3).

  6. Object Number: 1332352  Size: SH
  7. Remove 2 bolts (1) retaining the modulated main pressure solenoid G valve body.
  8. Important: To help prevent confusing parts on reassembly, use J 33163 to store the removed control valve assembly valves, springs, and stops.

  9. Remove the modulated main pressure solenoid G body assembly (2).
  10. Remove the modulated main pressure solenoid G retainer (5) from the bottom of the valve body.
  11. Remove the modulated main pressure solenoid G (3).
  12. Remove 2 O-rings (4) from the modulated main pressure solenoid G (3).

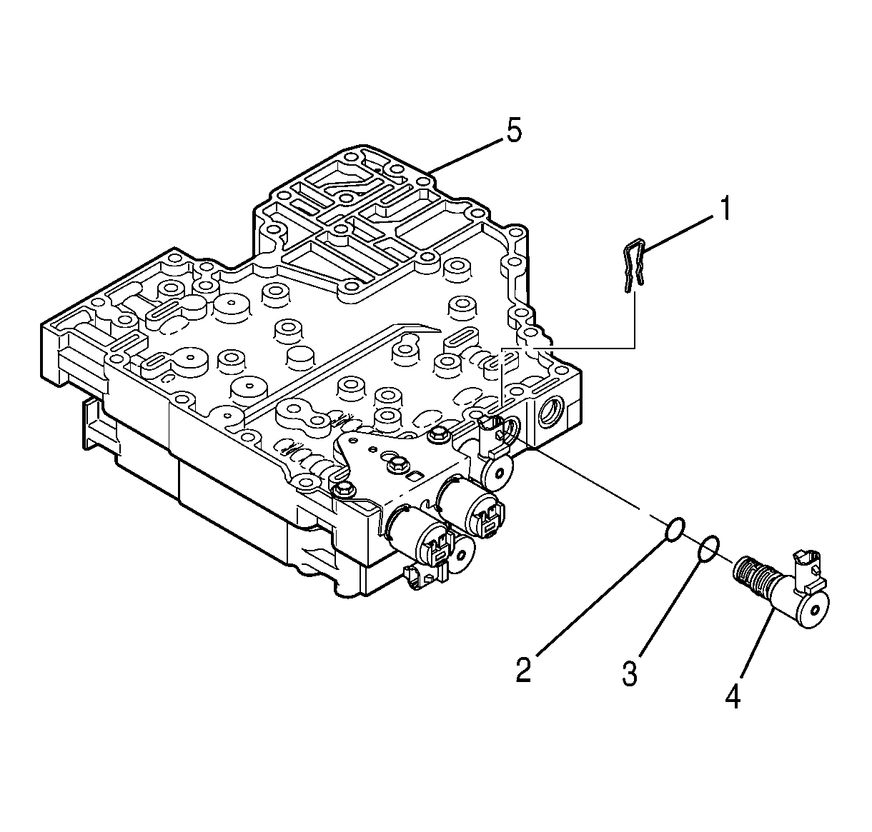
  13. Object Number: 1331372  Size: SH
  14. Remove the torque converter clutch pulse width modulated (TCC PWM) solenoid retainer (1).
  15. Remove the TCC PWM solenoid (7), sleeve (4), valve (3), and spring (2).
  16. Remove the O-rings (5, 6) from the TCC PWM solenoid (7).

  17. Object Number: 1331377  Size: SH
  18. Remove the shift solenoid D retainer (1).
  19. Remove the shift solenoid D (4).
  20. Remove the O-rings (2, 3) from the shift solenoid D (4).

  21. Object Number: 1331380  Size: SH
  22. Remove the shift solenoid E retainer (1).
  23. Remove the shift solenoid E (4).
  24. Remove the O-rings (2, 3) from the shift solenoid E (4).

  25. Object Number: 1331541  Size: SH
  26. Remove 3 bolts (1) that retain the pressure control valve retaining bracket (2) to the main valve body (3).

  27. Object Number: 1331385  Size: SH
  28. Remove the pressure control valve retaining bracket (1), 2 accumulator springs (2), and 2 accumulator plugs (3).
  29. Remove the pressure control solenoid A (15), valve (13), spring (12), if present, valve (11), and spring (10).
  30. Remove the pressure control solenoid B (9), valve (7), valve (6), and spring (5).
  31. Remove the O-ring (14) from the pressure control solenoid A (15).
  32. Remove the O-ring (8) from the pressure control solenoid B (9).

  33. Object Number: 1331386  Size: SH
  34. Position the control valve body on the work table so that the shift valve body (1) is facing up.
  35. Remove the shift solenoid C retainer (2).
  36. Remove the shift solenoid C (5).
  37. Remove the O-rings (3, 4) from the shift solenoid C (5).

  38. Object Number: 1331387  Size: SH
  39. Remove 11 bolts (1) retaining the shift valve body and the main valve body together.
  40. Position the control valve body on the work table so that the main valve body is facing up.
  41. Reinstall 4 bolts (1) so that the bolts are partially threaded into the shift valve body and protrude from the main valve body.
  42. Position the control valve body on edge so that the top and bottom are vertical.
  43. Gently tap the bolts until the module separates.

  44. Object Number: 1331397  Size: SH
  45. Position the control valve assembly on the work table so that the shift valve body (1) is facing up.
  46. Separate the shift valve body assembly (1), the separator plate (2), and the main valve body assembly (4).