GM Service Manual Online
For 1990-2009 cars only

If a tire goes flat, avoid further tire and wheel damage by driving slowly to a level place. Turn on your hazard warning flashers.

Caution: Changing a tire can be dangerous. The vehicle can slip off the jack and roll over or fall on you or other people. You and they could be badly injured or even killed. Find a level place to change your tire. To help prevent the vehicle from moving:

  1. Set the parking brake firmly.
  2. Put an automatic transmission shift lever in PARK (P), or shift a manual transmission to FIRST (1) or REVERSE (R).
  3. Turn off the engine and do not restart while the vehicle is raised.
  4. Do not allow passengers to remain in the vehicle.
Put the wheel blocks at the front and rear of the tire farthest away from the one being changed. That would be the tire on the other side, at the opposite end of the vehicle.


Object Number: 809231  Size: B3

The following steps will tell you how to use the jack and change a tire.

Removing the Spare Tire and Tools

The equipment you'll need is in the trunk.

To gain access to the spare tire and jacking equipment, do the following:


    Object Number: 809436  Size: A2
  1. Turn the center nut on the compact spare tire cover counterclockwise to remove it. Then remove the cover.

  2. Object Number: 829464  Size: B3
  3. Turn the nut holding the jack counterclockwise and remove it. Then remove the jack and wheel wrench.

  4. Object Number: 829463  Size: B3
  5. Remove the compact spare tire. See Compact Spare Tire for more information about the compact spare tire.

  6. Object Number: 829465  Size: B3
  7. The tools you'll be using include the jack (A) and the wheel wrench (B).

Removing Wheel Covers and Wheel Nut Caps


Object Number: 829450  Size: B3

If your vehicle has wheel covers, use the flat end of the wheel wrench to remove the covers. Turn the wheel wrench clockwise to gently pry off the wheel cover.

Be careful not to scratch the aluminum wheel edge and don't try to remove the wheel cover with your hands.


Object Number: 829451  Size: B3

If your vehicle has wheel nut caps, turn the wheel wrench counterclockwise to remove the caps.

Removing the Flat Tire and Installing the Spare Tire


    Object Number: 829446  Size: B3
  1. Place the wheel wrench (A) securely over the wheel nut (B). Turn the wheel wrench counterclockwise to loosen all the wheel nuts. Don't remove them yet.

  2. Object Number: 1368591  Size: B3
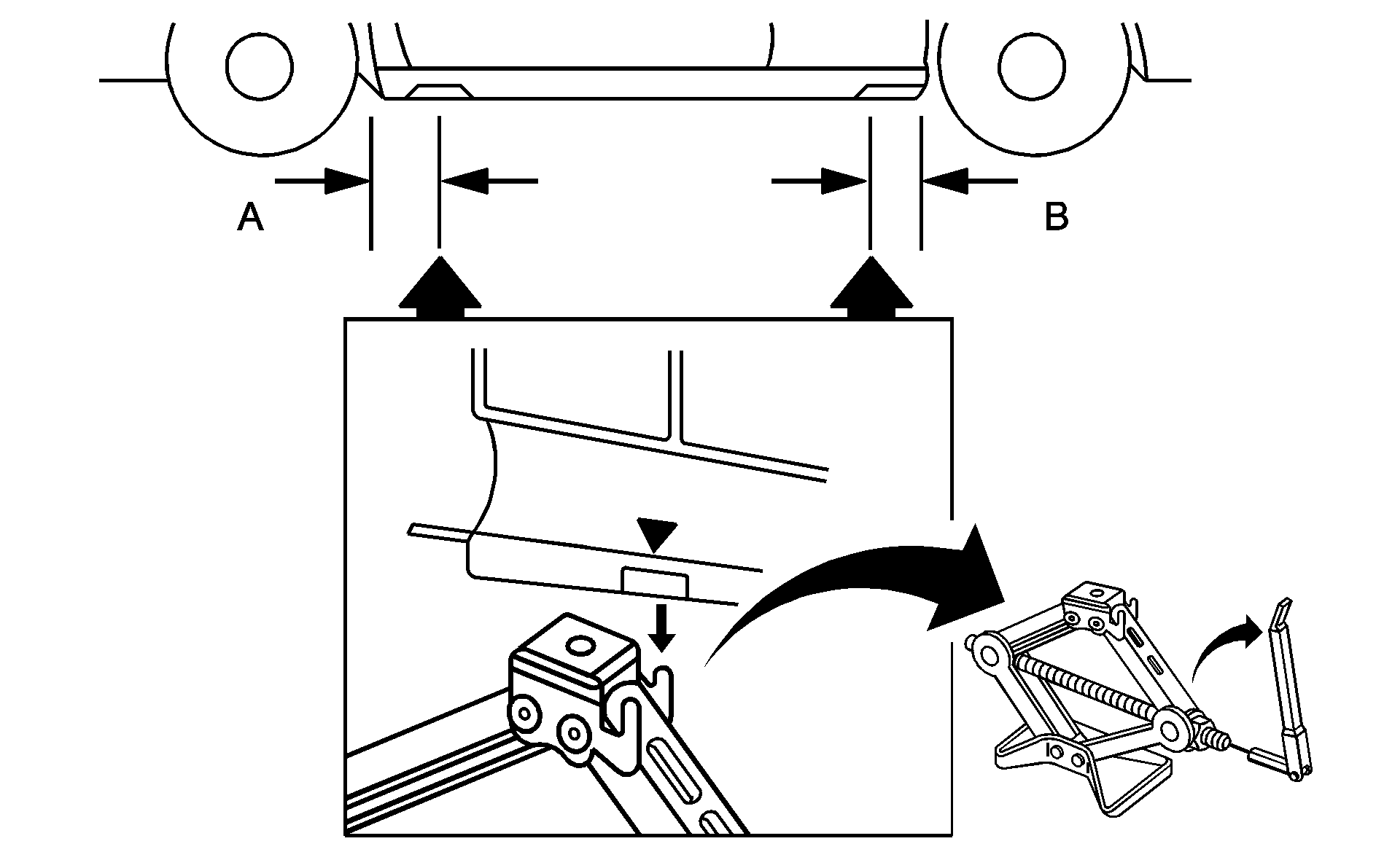
  3. Find the jacking location using the diagram above and corresponding hoisting notches located in the plastic molding. The notches in the plastic molding are marked with a triangle shape to help you find them.
  4. The front location (A) is about 14 inches (35.6 cm) from the rear edge of the front wheel well, and the rear location (B) is about 7 inches (17.8 cm) from the front edge of the rear wheel well.

    Caution: Getting under a vehicle when it is jacked up is dangerous. If the vehicle slips off the jack you could be badly injured or killed. Never get under a vehicle when it is supported only by a jack.

    Caution: Raising your vehicle with the jack improperly positioned can damage the vehicle and even make the vehicle fall. To help avoid personal injury and vehicle damage, be sure to fit the jack lift head into the proper location before raising the vehicle.

  5. Attach the wheel wrench to the jack.
  6. Turn the wheel wrench counterclockwise to lower the jack lift head until the jack fits under the vehicle.

  7. Object Number: 869113  Size: B3
  8. Raise the jack by turning the wheel wrench clockwise until the slots in the jack head fit into the metal flange located behind the triangle on the plastic molding as shown.
  9. Put the compact spare tire near you.
  10. Raise the vehicle by turning the wheel wrench clockwise. Raise the vehicle far enough off the ground for the compact spare tire to fit under the vehicle.
  11. Remove all the wheel nuts and take off the flat tire.

  12. Object Number: 811105  Size: A2
  13. Remove any rust or dirt from the wheel bolts, mounting surfaces and spare wheel.
  14. Caution: Rust or dirt on a wheel or other parts to which it is fastened, can make the wheel nuts become loose and eventually the wheel could come off and cause a crash. Always remove all rust and dirt from wheels and other parts.

    Caution: Never use oil or grease on bolts or nuts because the nuts might come loose. The vehicle's wheel could fall off, causing a crash.


    Object Number: 829467  Size: A3
  15. Place the compact spare tire on the wheel-mounting surface.

  16. Object Number: 829448  Size: A3
  17. Put the wheel nuts back on with the rounded end of the nuts toward the wheel. Tighten each wheel nut by turning it clockwise with your hand until the wheel is held against the hub.

  18. Object Number: 829447  Size: B3
  19. Lower the vehicle by turning the wheel wrench counterclockwise. Lower the jack completely.

  20. Object Number: 808642  Size: A2
  21. Tighten the wheel nuts firmly in a crisscross sequence as shown.
  22. Caution: Incorrect or improperly tightened wheel nuts can cause the wheel to come loose and even come off. This could lead to a crash. If you have to replace them, be sure to get new original equipment wheel nuts. Stop somewhere as soon as you can and have the nuts tightened with a torque wrench to the proper torque specification. See Capacities and Specifications for wheel nut torque specification.

    Notice: Improperly tightened wheel nuts can lead to brake pulsation and rotor damage. To avoid expensive brake repairs, evenly tighten the wheel nuts in the proper sequence and to the proper torque specification. See Capacities and Specifications for the wheel nut torque specification.

Notice: Wheel covers will not fit on your vehicle's compact spare. If you try to put a wheel cover on the compact spare, the cover or the spare could be damaged.

Don't try to put a wheel cover on your compact spare tire. It won't fit. Store the wheel cover in the trunk until you have the flat tire repaired or replaced.

Storing the Flat Tire and Tools

Caution: Storing a jack, a tire, or other equipment in the passenger compartment of the vehicle could cause injury. In a sudden stop or collision, loose equipment could strike someone. Store all these in the proper place.

After you've put the compact spare tire on your vehicle, you'll need to store the flat tire in your trunk.

Remove the foam support so that the flat tire will fit in the storage area. Place the flat tire with the appearance-side face down and store the jack container in the center of the tire. See the diagram in "Storing the Spare Tire and Tools" following for more information.

Storing the Spare Tire and Tools

Caution: Storing a jack, a tire, or other equipment in the passenger compartment of the vehicle could cause injury. In a sudden stop or collision, loose equipment could strike someone. Store all these in the proper place.

The compact spare is for temporary use only. Replace the compact spare tire with a full-size tire as soon as you can.

Use the following diagram as a guide for storing the compact spare tire in the trunk:


Object Number: 829444  Size: B4
  1. Compact Spare Tire Cover Wing Nut

  2. Compact Spare Tire Cover

  3. Plastic Wing Nut

  4. Retainer

  5. Jack Container with Wheel Wrench and Jack

  6. Flat Road Tire

  7. Compact Spare Tire

  8. Foam Insert

  9. Bolt

  10. Wheel Wrench

  11. Jack

  12. Jack Container