GM Service Manual Online
For 1990-2009 cars only

Oil Leaking from Engine Cam/Valve Cover Seals During Extreme Cold Weather Operations (Install PCV Hose Kit and Oil Filler Cap)

Subject:Oil Leaking from Engine Cam/Valve Cover Seals During Extreme Cold Weather Operations (Install PCV Hose Kit and Oil Filler Cap)

Models:2003-2004 Cadillac CTS
with 3.2L V6 Engine (VIN N -- RPO LA3)



This bulletin is being revised to update the Parts Information section. Please discard Corporate Bulletin Number 05-06-01-007 (Section 06-Engine)


Condition

When operating in extremely cold weather conditions, some 2003-2004 vehicles with 3.2L V6 engine (VIN N - RPO LA3) may leak engine oil from the cam/valve cover seals, especially from the left side just below the oil fill hole in the cam/valve cover.

Cause

This condition may be due to the closed crankcase ventilation system becoming blocked by ice. When the ventilation system is blocked, the crankcase vapors and engine oil will then vent through the cam/valve cover seals.

Correction

In order to keep the water from accumulating and freezing in the ventilation system, install the Positive Crankcase Ventilation (PCV) Hose Kit, P/N 55558592, and Oil Filler Cap, P/N 12589430. Refer to the repair procedure in this bulletin.


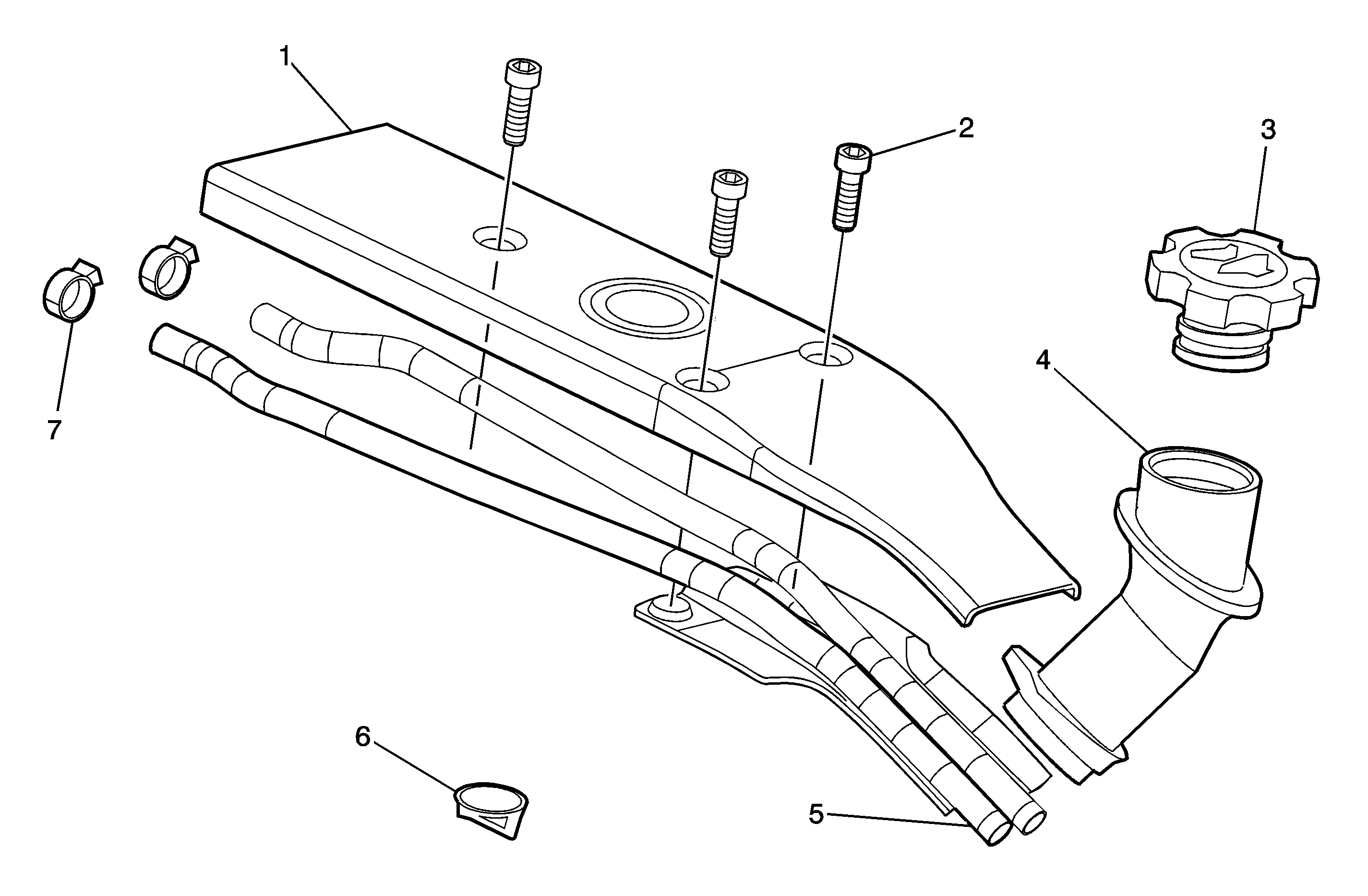
Object Number: 1586461  Size: MF

PCV Hose Kit, P/N 55558592, and Oil Filler Cap, P/N 12589430

  1. Intake Manifold Shield-ID No.55558589
  2. Screws (Qty 3)-ID No.11057371
  3. Oil Filler Cap-P/N 12589430
  4. Oil Filler Tube-ID No.55558591
  5. PCV Hoses-ID No.55558590
  6. Seal/O-ring-ID No.90467543
  7. Hose Clamps (Qty 2)-ID No.90298229

Repair Procedure


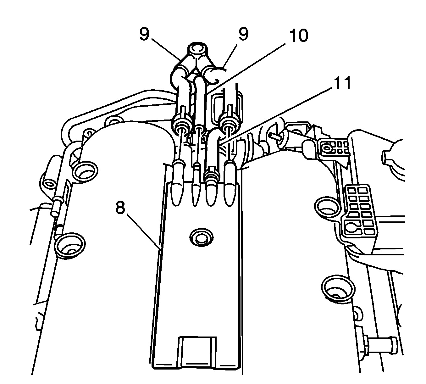
    Object Number: 1586463  Size: SH
  1. From the primary engine PCV vent hose adapter (8), disconnect the following:
  2. 1.1. The crankcase ventilation fresh air (outboard) hoses (9).
    1.2. The dirty air hose (10).
    1.3. The evaporative emission (EVAP) canister purge valve vacuum hose (11).

    Object Number: 1586465  Size: SH
  3. Remove the three bolts securing the primary and secondary engine vent hose adapters.
  4. Remove the primary and secondary engine vent hose adapters. Discard the secondary vent hose adapter (12).
  5. Important: Ensure the intake plenum opening is covered.


    Object Number: 1586468  Size: SH
  6. On the bottom side of the primary vent hose adapter, enlarge the two existing 1 mm (.04 in) holes (13) to 4 mm (0.2 in). Ensure all debris is removed.

  7. Object Number: 1586470  Size: SH
  8. Install new seal (15), ID No. 90467543, on the bottom side of the primary vent hose adapter.
  9. On each of the fresh air (outboard hoses (14)), measure and place a mark 38 mm (1.5 in) back from the end of each hose.
  10. At each mark, cut through the hose. Ensure all debris is removed.
  11. Connect and clamp the inboard hoses (dirty air and evaporative emission (EVAP) canister purge valve vacuum hoses) to the primary engine PCV vent hose adapter.
  12. With the label side down, use the two clamps, ID No. 90298229, to attach the two tubes of the new secondary engine PCV vent hose adapter, ID No. 55558590, to the two fresh air (outboard) hoses.
  13. Install the new secondary engine PCV vent hose adapter to the back of the throttle body and intake plenum.
  14. Install the primary hose adapter to the new secondary hose adapter. Ensure the secondary adapter hoses lay on top of the primary adapter.
  15. Ensure the primary hose adapter (with the enlarged holes and new seal) is positioned over the intake plenum opening.
  16. Over the hoses and tubes of both adapters, install the new shield, ID No. 55558589, to the intake plenum.
  17. Install the three new screws, ID No. 11057371, securing the new shield to the intake plenum.
  18. Tighten
    Tighten the screws to 8 Nm (71 lb in).


    Object Number: 804903  Size: SH
  19. Remove the existing oil filler cap and oil filler tube. Discard both.
  20. Install the new oil filler tube, ID No. 55558591, and the new oil filler cap, P/N 12589430.

Parts Information

Part Number

Description

55558592

Hose Kit-PCV

12589430

Cap Asm-Oil Filler

Parts are currently available from GMSPO.

Warranty Information

For vehicles repaired under warranty, use:

Labor Operation

Description

Labor Time

J7507*

Engine PCV Hose Kit-Install

0.4 hr

*This is a unique labor operation to be used only with this bulletin.