GM Service Manual Online
For 1990-2009 cars only

Lifting the Vehicle CTS-V

Caution: Lifting a vehicle can cause an injury. The vehicle can slip off the jack and roll over you or other people. You and they could be badly injured. Find a level place to lift your vehicle. To help prevent the vehicle from moving:

  1. Place the shift lever in REVERSE (R) and firmly apply the parking brake.
  2. Turn off the engine.
To be even more certain the vehicle will not move, you can put blocks in front of and behind the wheels. Also see Parking the Vehicle and Parking Brake for additional information.

Caution: Getting under a vehicle when it is jacked up is dangerous. If the vehicle slips off the jack, you could be badly injured or killed. Never get under a vehicle when it is supported only by a jack.

Caution: Raising the vehicle with the jack improperly positioned can damage the vehicle or the vehicle may fall and cause your or others injury.

If you ever use a jack to lift your vehicle, follow the instructions that came with the jack, and be sure to use the correct lifting points to avoid damaging your vehicle.

Notice: Lifting your vehicle improperly can damage your vehicle and result in costly repairs not covered by your warranty. To lift your vehicle properly, follow the advice in this part.

To help prevent vehicle damage:

   • Be sure the jack you are using meets the weight standards for your vehicle and is in good working order.
   • Be sure to place a block or pad between the jack and the vehicle.
   • Make sure the jack you are using only contacts the jacking location lift points and is not leaning on any other vehicle components such as the rocker panels, the floor pan, or the stone guard moldings.
   • Lift only in the areas shown in the following pictures.

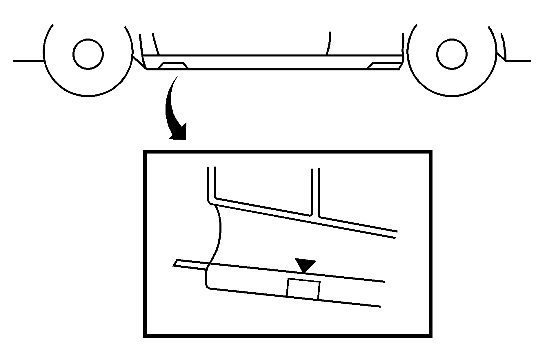
Lifting From the Front

The front lifting points can be accessed from either side of your vehicle, behind the front tires.


Object Number: 1631438  Size: B3
  1. Locate the front lifting points using the diagram shown above and corresponding triangular-shaped hoisting notches located in the plastic molding. The front lifting location is about 14 inches (35.6 cm) from the rear edge of the front wheel well.
  2. Be sure to place a block or pad between the jack and the vehicle.
  3. Lift the vehicle with the jack, making sure the jack is centered on the front lifting point.

Lifting From the Rear

The rear lifting points can be accessed from either side of your vehicle, in front of the rear tires.


    Object Number: 1631467  Size: B3
  1. Locate the rear lifting points using the diagram shown above and corresponding triangular-shaped hoisting notches located in the plastic molding. The rear lifting location is about 7 inches (17.8 cm) from the front edge of the rear wheel well.
  2. Be sure to place a block or pad between the jack and the vehicle.
  3. Lift the vehicle with the jack, making sure the jack is centered on the rear lifting point.

See Doing Your Own Service Work for additional information.