GM Service Manual Online
For 1990-2009 cars only
Figure 1:

Transmission Case (1 of 2)


Object Number: 1778944  Size: LF
(1)Reverse Synchronizer Spring
(2)Reverse Synchronizer Sleeve
(3)Reverse Synchronizer Hub
(4)Reverse Synchronizer Key
(5)Reverse Synchronizer Spring
(6)Reverse Synchronizer Key Retainer
(7)Select Lever Swivel Rod Retainer
(8)Shift Lever Rod Universal Joint Assembly
(9)Shift Lever Pin
(10)Shift Control Seal
(11)Shift Control Shaft Bushing
(12)Shift Control Lever Shaft
(13)Shift Control Lever Shaft Pin
(14)Shifter Cover Plate Bolt
(15)Shift Control Lever
(16)Shift Control Shaft Bushing
(17)Shift Control Shaft Cover
(18)Shift Control Shaft Cover Bolt/Screw
(19)Vent
(20)Vent Pipe
(21)Guide Plate Bolt
(22)Guide Plate
(23)Transmission Case
(24)Reverse Synchronizer Blocking Ring
(25)Reverse Synchronizer Retainer Ring
(26)Reverse Gear Thrust Washer
(27)Reverse Synchronizer Hub and Sleeve
(28)5th and 6th Speed Driven Gear
(29)Reverse Shift Fork Retainer Ring
(30)Reverse Shift Fork Pad
(31)Reverse Shift Fork
(32)6th Speed Drive Gear Synchronizer Blocking Ring
(33)6th Speed Drive Gear Friction Cone
(34)6th Speed Drive Gear Inner Cone
(35)6th Speed Drive Gear Thrust Washer
(36)Synchronizer Retainer Ring
(37)6th Speed Drive Gear Bearing Spacer
(38)6th Speed Drive Gear Needle Bearing
(39)6th Speed Drive Gear
(40)6th Speed Drive Gear Bearing Spacer
Figure 2:

Transmission Case (2 of 2)


Object Number: 1773232  Size: LF
(1)Case Rear Extension Pin
(2)5th/6th Lever Guide Bolt
(3)Interlock Guide Bolt
(4)Computer Aided Gear Select Solenoid
(5)Oil Fill Plug
(6)Temperature Switch (M12 Only)
(7)Countershaft Bearing Race
(8)Backup Lamp Switch
(9)Magnet
(10)Shift Detent Assembly
(11)Mainshaft Rear Bearing Race
(12)Mainshaft Rear Bearing
(13)Mainshaft Inner Seal, O-ring
(14)1st Speed Drive Gear
(15)1st Speed Drive Gear Needle Bearing
(16)1st/2nd Gear Thrust Washer Retainer Ring
(17)1st Gear Thrust Washer Locking Ball
(18)1st Gear Thrust Washer
(19)1st Speed Drive Inner Cone
(20)1st Speed Drive Gear Friction Cone
(21)1st Gear Synchronizer Blocking Ring
(22)1st/2nd Synchronizer Assembly
(23)2nd Gear Synchronizer Blocking Ring
(24)1st/2nd Synchronizer Spring
(25)1st/2nd Synchronizer Key
(26)1st/2nd Synchronizer Hub
(27)1st/2nd Synchronizer Sleeve
(28)1st/2nd Synchronizer Spring
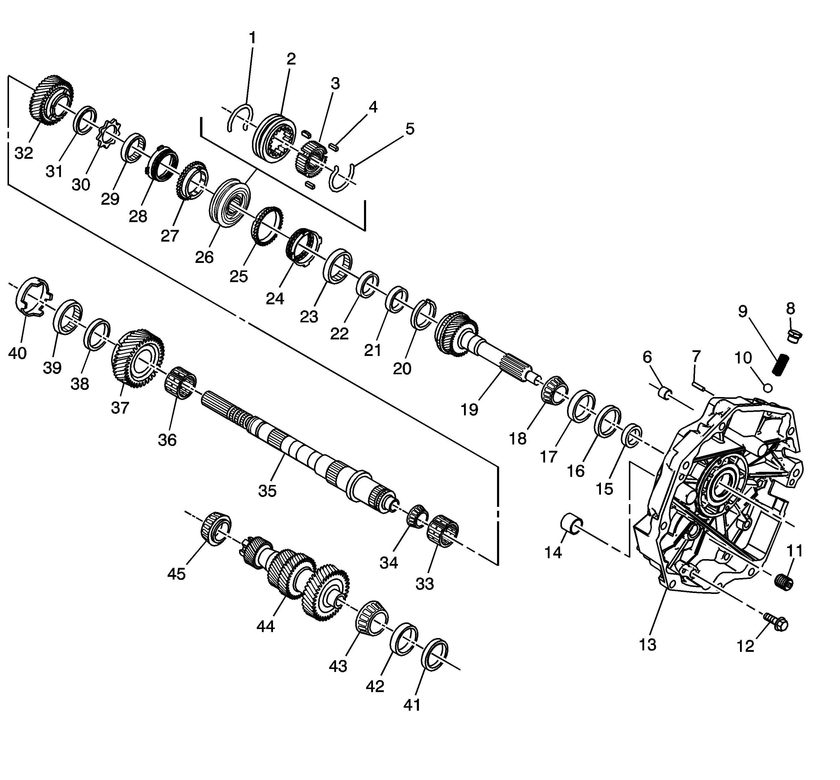
Figure 3:

Adapter Plate and Gears


Object Number: 1778945  Size: LF
(1)3rd/4th Synchronizer Spring
(2)3rd/4th Synchronizer Sleeve
(3)3rd/4th Synchronizer Hub
(4)3rd/4th Synchronizer Key
(5)3rd/4th Synchronizer Spring
(6)Top Shaft Rail Bushing
(7)Dowel Pin
(8)Shift Detent Plug
(9)Shift Detent Spring
(10)Shift Detent Ball
(11)Adapter Plate Inspection Plug
(12)Adapter to Transmission Case Bolt
(13)Front Adapter Plate
(14)Reverse Rail Bushing
(15)Input Shaft Seal
(16)Input Shaft Bearing Shim
(17)Input Shaft Bearing Race
(18)Input Shaft Bearing
(19)Input Shaft
(20)Input Shaft Bearing Race
(21)3rd/4th Synchronizer Retaining Ring
(22)4th Speed Drive Gear Thrust Washer
(23)4th Speed Drive Gear Inner Cone
(24)4th Speed Drive Gear Friction Cone
(25)4th Speed Drive Gear Blocker Ring
(26)3rd/4th Synchronizer Assembly
(27)3rd Speed Drive Gear Synchronizer Blocking Ring
(28)3rd Speed Drive Gear Friction Cone
(29)3rd Speed Drive Gear Inner Cone
(30)3rd Speed Drive Gear Thrust Washer
(31)3rd Speed Drive Gear Thrust Washer
(32)3rd Speed Drive Gear
(33)3rd Speed Drive Gear Bearing
(34)Mainshaft Small Tapered Bearing
(35)Mainshaft
(36)2nd Speed Drive Gear Needle Bearing
(37)2nd Speed Drive Gear
(38)2nd Speed Drive Gear Bearing Spacer
(39)2nd Speed Drive Gear Inner Cone
(40)2nd Speed Drive Gear Friction Cone
(41)Countershaft Bearing Adjust Shim
(42)Countershaft Bearing Race
(43)Countershaft Front Bearing
(44)Countershaft
(45)Countershaft Rear Bearing
Figure 4:

Extension Housing


Object Number: 1778948  Size: LF
(1)Extension Housing
(2)Mainshaft Bearing Race
(3)Mainshaft Rear Bearing Retainer Ring
(4)Mainshaft Rear Bearing Retainer Ring
(5)Mainshaft Gear Bearing Spacer
(6)Mainshaft Rear Bearing
(7)Mainshaft Gear Bearing Spacer
(8)Synchronizer Retainer Ring
(9)Reverse Gear Thrust Washer
(10)Mainshaft Reverse Speed Gear
(11)Reverse Gear Bearing
(12)Reverse Gear Washer
(13)Reverse Idler Gear Shaft
(14)Reverse Idler Gear Needle Bearing
(15)Reverse Idler Gear
(16)Reverse Idler Bracket
(17)Reverse Idler Bracket Bolt
(18)Propshaft Connector Nut
(19)Propshaft Connector
(20)Output Shaft Seal
(21)Vehicle Speed Sensor Bolt
(22)Vehicle Speed Sensor
(23)Extension Housing to Transmission Case Bolt
(24)Temperature Sensor
(25)Reverse Rail Bushing
(26)Lubrication Funnel
(27)Front Countershaft Extension Bearing Shim
(28)Countershaft Extension Bearing Race
(29)Countershaft Extension Bearing
(30)Countershaft Extension
(31)Shift Fork Pad
(32)5th Speed Drive Gear Needle Bearing
(33)5th Speed Drive Gear
(34)5th Speed Drive Gear Thrust Washer
(35)5th Speed Gear Inner Cone
(36)5th Speed Gear Friction Cone
(37)5th Gear Synchronizer Blocking Ring
(38)5th/6th Synchronizer Assembly
(39)5th Gear Shift Fork Retainer Ring
(40)5th/6th Shift Fork
(41)5th/6th Synchronizer Spring
(42)5th/6th Synchronizer Sleeve
(43)5th/6th and Reverse Synchronizer Key
(44)5th/6th Synchronizer Hub
(45)5th/6th Synchronizer Spring
Figure 5:

Reverse Lockout


Object Number: 1389923  Size: MF
(1)Extension Housing
(2)O-ring
(3)Reverse Lockout Assembly
(4)Reverse Lockout Solenoid
(5)Reverse Lockout Solenoid Mounting Bolt
(6)Reverse Lockout Body
(7)Reverse Lockout Inner Spring
(8)Snap Ring
(9)Reverse Lockout Collar
(10)Reverse Lockout Outer Spring
(11)Reverse Lockout Plunger
(12)Snap Ring
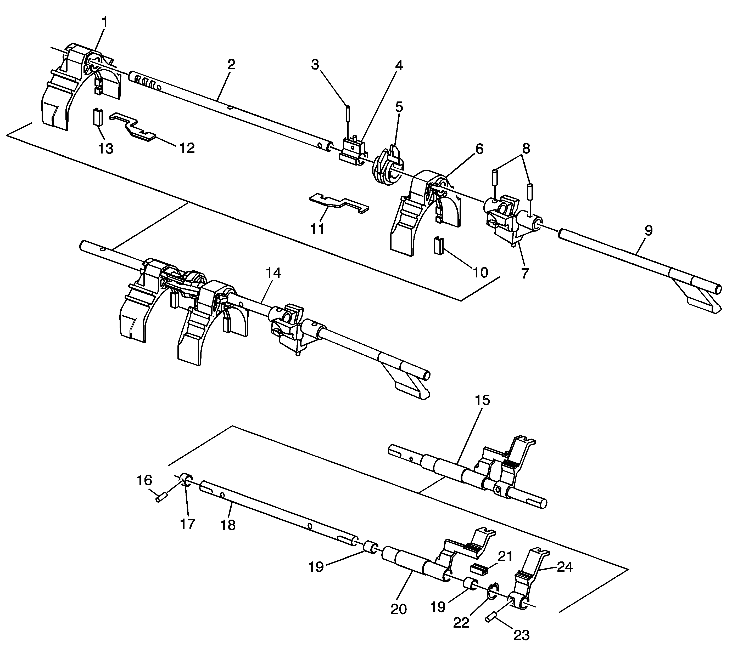
Figure 6:

Shift Shafts


Object Number: 1778951  Size: LF
(1)1st/2nd Shift Fork
(2)Shift Shaft
(3)Control Select Arm Pin Roll Pin
(4)Control Select Arm Pin
(5)Gear Select Interlock Plate
(6)3rd/4th Shift Fork
(7)Shift Guide
(8)Shift Guide Roll Pins
(9)Shift Shaft Extension
(10)3rd/4th Shift Fork Pad
(11)Shift Interlock Plate
(12)Interlock Shift Plate
(13)1st/2nd Shift Fork Pad
(14)1st/2nd Shift Shaft Assembly
(15)5th/6th Shift Lever Assembly
(16)Reverse Shift Collar Pin
(17)Reverse Shift Collar
(18)5th/6th Reverse Shift Shaft
(19)5th/6th Shift Shaft Lever Bushing
(19)5th/6th Shift Shaft Lever Bushing
(20)5th/6th Shift Lever
(21)5th/6th Shift Lever Pad
(22)Retaining Ring
(23)Reverse Shift Lever Pin
(24)Offset Shift Lever