GM Service Manual Online
For 1990-2009 cars only
Makes
🢒
Cadillac
🢒
2007
🢒
CTS
🢒
Steering
🢒
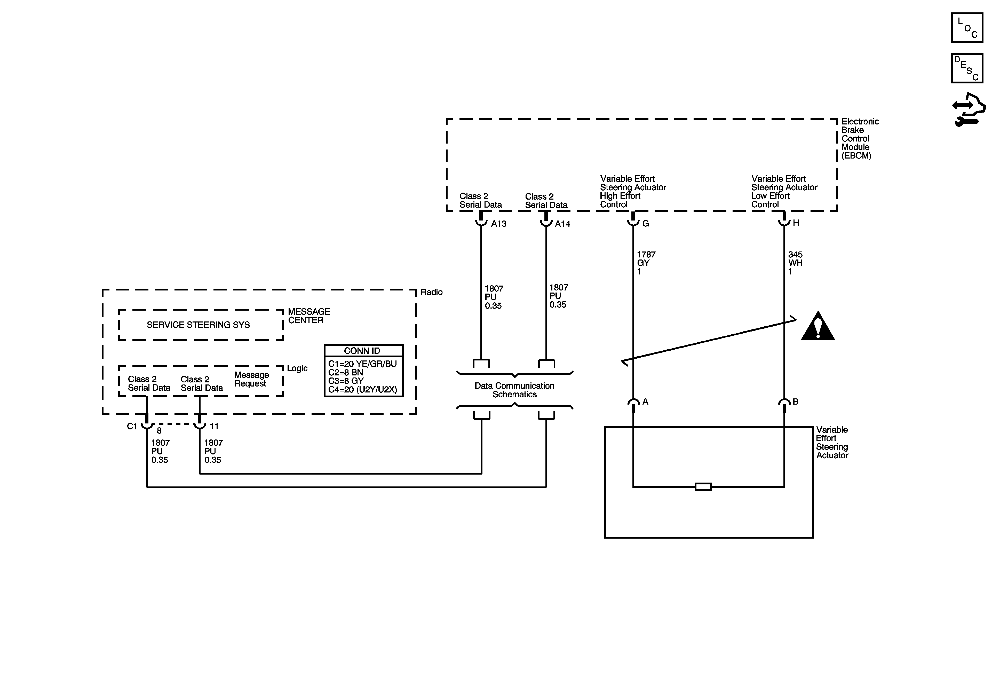
Variable Effort Steering
🢒 Steering Assist Schematics
Steering Assist Schematics
Master Electrical Component List
Variable Effort Steering System Description and Operation
Control Module References
Class 2 Serial Data Bus - LHD (1 of 2)
Steering Assist Schematic Icons