GM Service Manual Online
For 1990-2009 cars only
Makes
🢒
Cadillac
🢒
2007
🢒
CTS
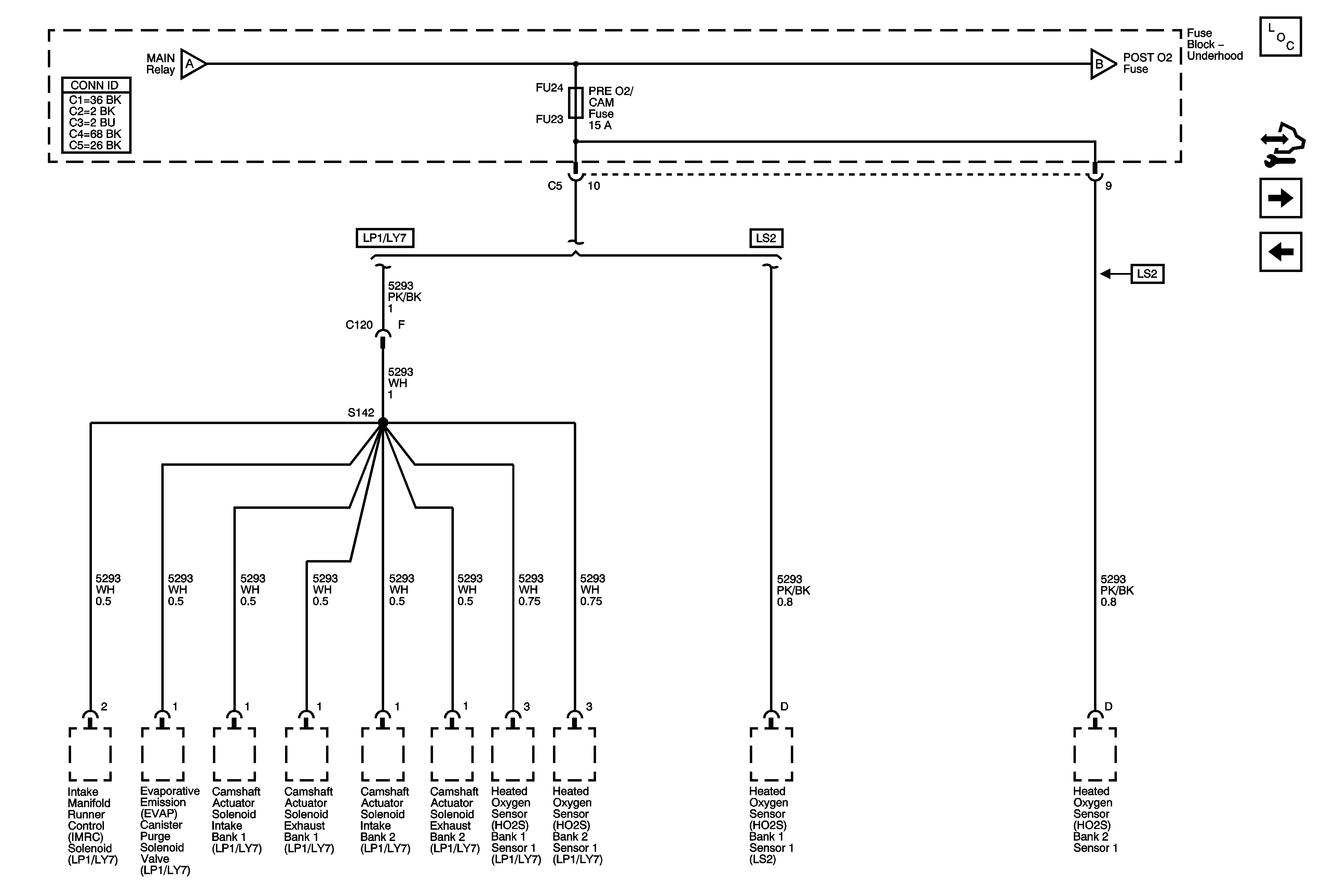
🢒 Underhood Fuse Block Pre O2/CAM Fuse
Underhood Fuse Block Pre O2/CAM Fuse
Underhood Fuse Block - PRE 02/CAM Fuse
Master Electrical Component List
Control Module References
Wiring Systems and Power Management Power Distribution Underhood Fuse Block Post O2 Fuse
Underhood Fuse Block Cooling Fan Fuses/Relays, Main Relay, ECM, and TOS
Underhood Fuse Block Cooling Fan Fuses/Relays, Main Relay, ECM, and TOS
Wiring Systems and Power Management Power Distribution Underhood Fuse Block Post O2 Fuse