GM Service Manual Online
For 1990-2009 cars only
Makes
🢒
Cadillac
🢒
2008
🢒
CTS
🢒
Engine
🢒
Engine Controls and Fuel - 2.8L, 3.0L, 3.2L, or 3.6L
🢒 Emission Hose Routing Diagram
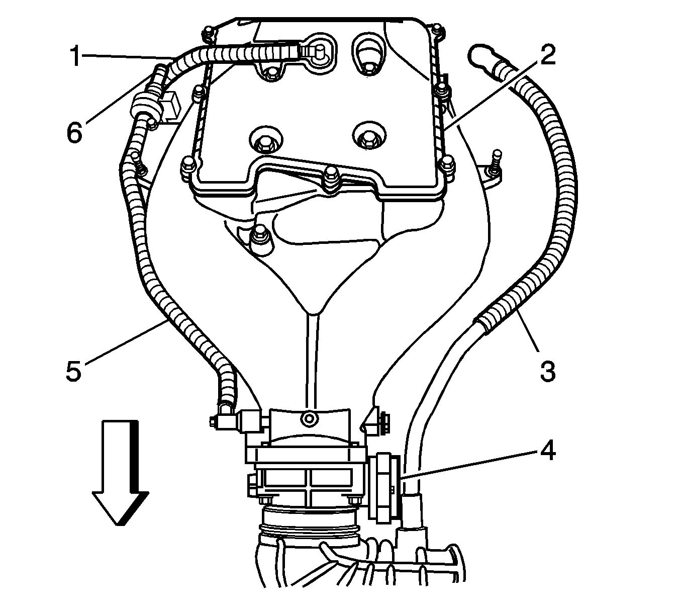
Emission Hose Routing Diagram with LLT
(1)
Positive Crankcase Ventilation (PCV) Hose
(2)
Upper Intake Manifold Plenum
(3)
Fresh Air Breather Hose
(4)
Throttle Body Assembly
(5)
Evaporative Emissions (EVAP) Canister Purge Solenoid Vacuum Supply Hose
(6)
Evaporative Emissions (EVAP) Canister Purge Solenoid
Emission Hose Routing Diagram w/o LLT
(1)
Positive Crankcase Ventilation (PCV) Hose to Cam Cover
(2)
Upper Intake Manifold
(3)
PCV Hose to Intake Manifold
(4)
Throttle Body Assembly
(5)
Evaporative Emissions (EVAP) Canister Purge Solenoid
(6)
Emissions Hose to EVAP Canister