GM Service Manual Online
For 1990-2009 cars only
Connector 1: A/C Compressor Clutch
Connector 2: A/C Refrigerant Pressure Sensor
Connector 3: Accelerator Pedal Position (APP) Sensor
Connector 4: Accent Lamp - Driver Door (TSQ)
Connector 5: Accent Lamp - Driver Door Handle (TSQ)
Connector 6: Accent Lamp - Driver Seat (TSQ)
Connector 7: Accent Lamp - Left I/P (TSQ)
Connector 8: Accent Lamp - Left Rear Door (TSQ)
Connector 9: Accent Lamp - Left Rear Door Handle (TSQ)
Connector 10: Accent Lamp - Lower Left I/P (TSQ)
Connector 11: Accent Lamp - Lower Right I/P (TSQ)
Connector 12: Accent Lamp - Overhead Console (TSQ)
Connector 13: Accent Lamp - Passenger Door (TSQ)
Connector 14: Accent Lamp - Passenger Door Handle (TSQ)
Connector 15: Accent Lamp - Passenger Seat (TSQ)
Connector 16: Accent Lamp - Right I/P (TSQ)
Connector 17: Accent Lamp - Right Rear Door (TSQ)
Connector 18: Accent Lamp - Right Rear Door Handle (TSQ)
Connector 19: Accessory Power Outlet - Center Console
Connector 20: Accessory Power Outlet - Rear
Connector 21: Active Hood Hinge Actuator - Left (B3T)
Connector 22: Active Hood Hinge Actuator - Right (B3T)
Connector 23: Adaptive Forward Lighting (AFL) Motor - Left (TT6/TT7/TT8)
Connector 24: Adaptive Forward Lighting (AFL) Motor - Right (TT6/TT7/TT8)
Connector 25: Air Temperature Actuator - Left
Connector 26: Air Temperature Actuator - Right
Connector 27: Air Temperature Sensor - Inside
Connector 28: Ambient Air Temperature Sensor
Connector 29: Audio Amplifier X1 (UQA/UQS)
Connector 30: Audio Amplifier X2 (UQA/UQS)
Connector 31: Audio Amplifier X3 (UQA/UQS)
Connector 32: Audio Amplifier X4
Connector 33: Automatic Transmission (MYB)
Connector 34: Automatic Transmission Shift Lever (MYB)
Connector 35: Auxiliary Audio Jack (UQS)
Connector 36: Auxiliary Audio Jack (UQA)
Connector 37: Auxiliary Body Control Module (XBCM) X1 (UA2)
Connector 38: Auxiliary Body Control Module (XBCM) X2 (UA2)
Connector 39: Backup Lamp Switch (MV7)
Connector 40: Battery (-)
Connector 41: Battery (+)
Connector 42: Battery Current Sensor
Connector 43: Blower Motor
Connector 44: Blower Motor Control Module X1
Connector 45: Blower Motor Control Module X2
Connector 46: Body Control Module (BCM) X1
Connector 47: Body Control Module (BCM) X2
Connector 48: Body Control Module (BCM) X3
Connector 49: Body Control Module (BCM) X4
Connector 50: Body Control Module (BCM) X5
Connector 51: Body Control Module (BCM) X6
Connector 52: Body Control Module (BCM) X7
Connector 53: Brake Booster Pump - Auxiliary (LLT)
Connector 54: Brake Booster Pump Relay (LLT)
Connector 55: Brake Fluid Level Switch
Connector 56: Brake Pedal Position Sensor
Connector 57: Camshaft Position (CMP) Actuator Solenoid Valve - Bank 1 Exhaust
Connector 58: Camshaft Position (CMP) Actuator Solenoid Valve - Bank 2 Exhaust
Connector 59: Camshaft Position (CMP) Actuator Solenoid Valve - Bank 1 Intake
Connector 60: Camshaft Position (CMP) Actuator Solenoid Valve - Bank 2 Intake
Connector 61: Camshaft Position (CMP) Sensor - Bank 1 Exhaust
Connector 62: Camshaft Position (CMP) Sensor - Bank 2 Exhaust
Connector 63: Camshaft Position (CMP) Sensor - Bank 1 Intake
Connector 64: Camshaft Position (CMP) Sensor - Bank 2 Intake
Connector 65: Cellular/Navigation Microphone (UE1/WXS)
Connector 66: Center High Mounted Stop Lamp (CHMSL)
Connector 67: Cigar Lighter (DT4)/Accessory Power Outlet (without DT4)
Connector 68: Clutch Pedal Position (CPP) Sensor (MV7)
Connector 69: Coolant Pump - Auxiliary (LLT)
Connector 70: Courtesy Lamp - Left Front Door
Connector 71: Courtesy Lamp - Left Rear Door
Connector 72: Courtesy Lamp - Rear Compartment
Connector 73: Courtesy Lamp - Right Front Door
Connector 74: Courtesy Lamp - Right Rear Door
Connector 75: Courtesy/Reading Lamp - Left Front
Connector 76: Courtesy/Reading Lamp - Left Rear
Connector 77: Courtesy/Reading Lamp - Right Front
Connector 78: Courtesy/Reading Lamp - Right Rear
Connector 79: Crankshaft Position (CKP) Sensor
Connector 80: Data Link Connector (DLC)
Connector 81: Data Link Resistor (UE1)
Connector 82: Data Link Resistor Noise Filter (UE1)
Connector 83: Daytime Running Lamp (DRL) - Left (TT6/TT7/TT8)
Connector 84: Daytime Running Lamp (DRL) - Right (TT6/TT7/TT8)
Connector 85: Door Handle Switch - Driver
Connector 86: Door Handle Switch - Passenger
Connector 87: Door Latch - Driver
Connector 88: Door Latch - Passenger
Connector 89: Door Latch - Left Rear
Connector 90: Door Latch - Right Rear
Connector 91: Door Lock/Window Switch - Driver X1
Connector 92: Door Lock/Window Switch - Driver X2
Connector 93: Door Lock/Window Switch - Driver X3
Connector 94: Door Lock/Window Switch - Driver X4
Connector 95: Door Lock/Window Switch - Driver X5
Connector 96: Door Lock/Window Switch - Driver X6
Connector 97: Door Lock/Window Switch - Driver X7 (A45/DL7/D26)
Connector 98: Door Lock/Window Switch - Passenger X1
Connector 99: Door Lock/Window Switch - Passenger X2
Connector 100: Door Lock/Window Switch - Passenger X3
Connector 101: Door Lock/Window Switch - Passenger X6
Connector 102: Door Lock/Window Switch - Passenger X7 (A45/DL7/D26)
Connector 103: Driver Information Center (DIC) Switch
Connector 104: Electronic Brake Control Module (EBCM)
Connector 105: Electronic Compass Module
Connector 106: Engine Control Module (ECM) X1 (LLT)
Connector 107: Engine Control Module (ECM) X1 (LP1/LY7)
Connector 108: Engine Control Module (ECM) X2 (LLT)
Connector 109: Engine Control Module (ECM) X2 (LP1/LY7)
Connector 110: Engine Coolant Temperature (ECT) Sensor
Connector 111: Engine Cooling Fan - Left
Connector 112: Engine Cooling Fan - Right
Connector 113: Engine Oil Pressure (EOP) Sensor
Connector 114: Evaporative Emission (EVAP) Canister Vent Solenoid Valve
Connector 115: Evaporative Emissions (EVAP) Canister Purge Solenoid Valve
Connector 116: Evaporator Temperature Sensor
Connector 117: Fog Lamp - Left Front (T96)
Connector 118: Fog Lamp - Left Rear (T79)
Connector 119: Fog Lamp - Right Front (T96)
Connector 120: Fog Lamp - Right Rear (T79)
Connector 121: Fuel Door Release Actuator (N08)
Connector 122: Fuel Injector 1 (LLT)
Connector 123: Fuel Injector 1 (LP1/LY7)
Connector 124: Fuel Injector 2 (LLT)
Connector 125: Fuel Injector 2 (LP1/LY7)
Connector 126: Fuel Injector 3 (LLT)
Connector 127: Fuel Injector 3 (LP1/LY7)
Connector 128: Fuel Injector 4 (LLT)
Connector 129: Fuel Injector 4 (LP1/LY7)
Connector 130: Fuel Injector 5 (LLT)
Connector 131: Fuel Injector 5 (LP1/LY7)
Connector 132: Fuel Injector 6 (LLT)
Connector 133: Fuel Injector 6 (LP1/LY7)
Connector 134: Fuel Level Sensor
Connector 135: Fuel Pump and Sender Assembly
Connector 136: Fuel Rail Pressure (FRP) Sensor (LLT)
Connector 137: Fuel Tank Pressure (FTP) Sensor
Connector 138: Garage Door Opener (GDO) (UG1)
Connector 139: Generator X1
Connector 140: Generator X2
Connector 141: Headlamp - Left High Beam (without TT6/TT7/TT8)
Connector 142: Headlamp - Left High Beam Solenoid (TT6/TT7/TT8)
Connector 143: Headlamp - Left Low Beam (without TT6/TT7/TT8)
Connector 144: Headlamp - Right High Beam (without TT6/TT7/TT8)
Connector 145: Headlamp - Right High Beam Solenoid (TT6/TT7/TT8)
Connector 146: Headlamp - Right Low Beam (without TT6/TT7/TT8)
Connector 147: Headlamp Ballast - Left (TT6/TT7/TT8)
Connector 148: Headlamp Ballast - Right (TT6/TT7/TT8)
Connector 149: Headlamp Leveling Actuator - Left (TR7 with TT6/TT7/TT8)
Connector 150: Headlamp Leveling Actuator - Right (TR7 with TT6/TT7/TT8)
Connector 151: Headlamp Leveling Sensor - Front (TR7)
Connector 152: Headlamp Leveling Sensor - Rear (TR7)
Connector 153: Headlamp Module (TR7 or TT6/TT7/TT8)
Connector 154: Headlamp Washer Fluid Pump (CE4)
Connector 155: Heated Oxygen Sensor (HO2S) Bank 1 Sensor 1
Connector 156: Heated Oxygen Sensor (HO2S) Bank 1 Sensor 2
Connector 157: Heated Oxygen Sensor (HO2S) Bank 2 Sensor 1
Connector 158: Heated Oxygen Sensor (HO2S) Bank 2 Sensor 2 (MV7)
Connector 159: Heated Oxygen Sensor (HO2S) Bank 2 Sensor 2 (MYB)
Connector 160: Heated Seat Element - Driver Back (KA1)
Connector 161: Heated Seat Element - Driver Cushion (KA1)
Connector 162: Heated Seat Element - Passenger Back (KA1)
Connector 163: Heated Seat Element - Passenger Cushion (KA1)
Connector 164: High Pressure Fuel Pump (LLT)
Connector 165: Hood Ajar Switch (UHA/UA2)
Connector 166: Horn Assembly
Connector 167: Horn Switch X1
Connector 168: Horn Switch X2
Connector 169: HVAC Control Module X1
Connector 170: HVAC Control Module X2
Connector 171: I/P Compartment Lamp
Connector 172: I/P Compartment Lamp Switch
Connector 173: I/P Courtesy Lamp - Left
Connector 174: I/P Courtesy Lamp - Right
Connector 175: I/P Dimmer Switch
Connector 176: Ignition Coil 1 (LLT)
Connector 177: Ignition Coil 1 (LP1/LY7)
Connector 178: Ignition Coil 2 (LLT)
Connector 179: Ignition Coil 2 (LP1/LY7)
Connector 180: Ignition Coil 3 (LLT)
Connector 181: Ignition Coil 3 (LP1/LY7)
Connector 182: Ignition Coil 4 (LLT)
Connector 183: Ignition Coil 4 (LP1/LY7)
Connector 184: Ignition Coil 5 (LLT)
Connector 185: Ignition Coil 5 (LP1/LY7)
Connector 186: Ignition Coil 6 (LLT)
Connector 187: Ignition Coil 6 (LP1/LY7)
Connector 188: Ignition Lock Cylinder Control Actuator
Connector 189: Ignition Switch
Connector 190: Inflatable Restraint Front End Sensor - Left
Connector 191: Inflatable Restraint Front End Sensor - Right
Connector 192: Inflatable Restraint Front Passenger Presence System (PPS) Sensor
Connector 193: Inflatable Restraint I/P Module X1
Connector 194: Inflatable Restraint I/P Module X2
Connector 195: Inflatable Restraint Roof Rail Module - Driver
Connector 196: Inflatable Restraint Roof Rail Module - Passenger
Connector 197: Inflatable Restraint Seat Position Sensor - Driver (without A45)
Connector 198: Inflatable Restraint Seat Position Sensor - Passenger
Connector 199: Inflatable Restraint Sensing and Diagnostic Module (SDM)
Connector 200: Inflatable Restraint Side Impact Module - Left
Connector 201: Inflatable Restraint Side Impact Module - Right
Connector 202: Inflatable Restraint Side Impact Sensor (SIS) - Left Front
Connector 203: Inflatable Restraint Side Impact Sensor (SIS) - Left Rear
Connector 204: Inflatable Restraint Side Impact Sensor (SIS) - Right Front
Connector 205: Inflatable Restraint Side Impact Sensor (SIS) - Right Rear
Connector 206: Inflatable Restraint Steering Wheel Module X1
Connector 207: Inflatable Restraint Steering Wheel Module X2
Connector 208: Inflatable Restraint Steering Wheel Module Coil X1
Connector 209: Inflatable Restraint Steering Wheel Module Coil X2
Connector 210: Inflatable Restraint Steering Wheel Module Coil X3
Connector 211: Inside Rearview Mirror (ISRVM)
Connector 212: Instrument Panel Cluster (IPC)
Connector 213: Intake Manifold Tuning (IMT) Solenoid Valve (LP1/LY7)
Connector 214: Intrusion Sensor (UA2)
Connector 215: Keyless Entry Antenna - Center Console Active (UHA/UHF)
Connector 216: Keyless Entry Antenna - Center Console Passive (UHA/UHF)
Connector 217: Keyless Entry Antenna - Left Front Door Handle (UHA/UHF)
Connector 218: Keyless Entry Antenna - Rear Compartment (UHA/UHF)
Connector 219: Keyless Entry Antenna - Right Front Door Handle (UHA/UHF)
Connector 220: Knock Sensor (KS) 1
Connector 221: Knock Sensor (KS) 2
Connector 222: License Lamp - Left
Connector 223: License Lamp - Right
Connector 224: Marker Lamp - Left Front (without T90)
Connector 225: Marker Lamp - Right Front (without T90)
Connector 226: Mass Air Flow (MAF)/Intake Air Temperature (IAT) Sensor
Connector 227: Memory Seat Module (MSM) (A45) X1
Connector 228: Memory Seat Module (MSM) (A45) X2
Connector 229: Memory Seat Module (MSM) (A45) X3
Connector 230: Memory Seat Module (MSM) (A45) X4
Connector 231: Memory Seat Module (MSM) (A45) X5
Connector 232: Memory Seat Module (MSM) (A45) X6
Connector 233: Memory Seat Module (MSM) (A45) X7
Connector 234: Mode Actuator
Connector 235: Navigation and Traffic Data Antenna (U2X)
Connector 236: Noise Compensation Microphone (UQS)
Connector 237: Object Alarm Sensor - Left Rear Corner (UD7)
Connector 238: Object Alarm Sensor - Left Rear Middle (UD7)
Connector 239: Object Alarm Sensor - Right Rear Corner (UD7)
Connector 240: Object Alarm Sensor - Right Rear Middle (UD7)
Connector 241: Outside Rearview Mirror - Driver
Connector 242: Outside Rearview Mirror - Passenger
Connector 243: Park Brake Switch
Connector 244: Park Lamp - Left Front
Connector 245: Park Lamp - Right Front
Connector 246: Park Lamp Relay (T90)
Connector 247: Pedestrian Impact Detection Module X1 (B3T)
Connector 248: Pedestrian Impact Detection Module X2 (B3T)
Connector 249: Pedestrian Impact Detection Sensor - Front Upper Beam (B3T)
Connector 250: Pedestrian Impact Detection Sensor - Rear Upper Beam (B3T)
Connector 251: Radio Antenna Module
Connector 252: Radio X1
Connector 253: Radio X4 (UQS/UAV/U2X/U2Y/WXS)
Connector 254: Radio X5 (UAV/U2X/U2Y)
Connector 255: Radio/HVAC Control
Connector 256: Radio/HVAC Display X1 (UAV/U2X/U2Y)
Connector 257: Radio/HVAC Display X2 (UAV/U2X/U2Y)
Connector 258: Radio/HVAC Display X3 (UAV/U2X/U2Y)
Connector 259: Rear Compartment Lid Latch
Connector 260: Rear Compartment Lid Release Switch - Interior
Connector 261: Rear Compartment Lid Release Switch - Exterior (UHA/UHF)
Connector 262: Rear Object Sensor Control Module X1 (UD7)
Connector 263: Rear Object Sensor Control Module X2 (UD7)
Connector 264: Rear Parking Assist (RPA) Display (UD7)
Connector 265: Rear Window Defogger X1
Connector 266: Rear Window Defogger X2
Connector 267: Recirculation Actuator
Connector 268: Remote Control Door Lock Receiver (RCDLR) X1 (UHA/UHF)
Connector 269: Remote Control Door Lock Receiver (RCDLR) X2 (UHA/UHF)
Connector 270: Remote Control Door Lock Receiver (RCDLR) X3 (UHA/UHF)
Connector 271: Repeater Lamp - Left Front (T90)
Connector 272: Repeater Lamp - Right Front (T90)
Connector 273: Seat Adjuster Switch - Driver
Connector 274: Seat Adjuster Switch - Passenger (AH8)
Connector 275: Seat Back Ventilation Heating and Cooling Module - Driver (KB6)
Connector 276: Seat Back Ventilation Heating and Cooling Module - Passenger (KB6)
Connector 277: Seat Belt Pretensioner - Driver
Connector 278: Seat Belt Pretensioner - Passenger
Connector 279: Seat Belt Switch - Driver
Connector 280: Seat Belt Switch - Passenger
Connector 281: Seat Cushion Ventilation Heating and Cooling Module - Driver (KB6)
Connector 282: Seat Cushion Ventilation Heating and Cooling Module - Passenger (KB6)
Connector 283: Seat Front Vertical Motor - Driver (without A45)
Connector 284: Seat Front Vertical Motor - Driver (A45) X1
Connector 285: Seat Front Vertical Motor - Driver (A45) X2
Connector 286: Seat Front Vertical Motor - Passenger (AH8)
Connector 287: Seat Horizontal Motor - Driver (without A45)
Connector 288: Seat Horizontal Motor - Driver (A45) X1
Connector 289: Seat Horizontal Motor - Driver (A45) X2
Connector 290: Seat Horizontal Motor - Passenger (AH8/AL2)
Connector 291: Seat Lumbar Adjuster Switch - Driver (AL2)
Connector 292: Seat Lumbar Adjuster Switch - Passenger (AL2)
Connector 293: Seat Lumbar Horizontal Motor - Driver (AL2)
Connector 294: Seat Lumbar Horizontal Motor - Passenger (AL2)
Connector 295: Seat Rear Vertical Motor - Driver (without A45)
Connector 296: Seat Rear Vertical Motor - Driver (A45) X1
Connector 297: Seat Rear Vertical Motor - Driver (A45) X2
Connector 298: Seat Rear Vertical Motor - Passenger (AH8)
Connector 299: Seat Recline Motor - Driver (without A45)
Connector 300: Seat Recline Motor - Driver (A45) X1
Connector 301: Seat Recline Motor - Driver (A45) X2
Connector 302: Seat Recline Motor - Passenger (AH8)
Connector 303: Speaker - Center I/P
Connector 304: Speaker - Left Front (UQA)
Connector 305: Speaker - Left Front (UQS)
Connector 306: Speaker - Left Front Door
Connector 307: Speaker - Left Rear
Connector 308: Speaker - Left Rear Compartment (UQS)
Connector 309: Speaker - Rear Subwoofer (UQA)
Connector 310: Speaker - Rear Subwoofer (UQS)
Connector 311: Speaker - Right Front (UQA)
Connector 312: Speaker - Right Front (UQS)
Connector 313: Speaker - Right Front Door
Connector 314: Speaker - Right Rear
Connector 315: Speaker - Right Rear Compartment (UQS)
Connector 316: Starter Motor X1
Connector 317: Starter Motor X2
Connector 318: Steering Wheel/Column Tilt/Telescope Actuator X1 (A45 and N38)
Connector 319: Steering Wheel/Column Tilt/Telescope Actuator X2 (A45 and N38)
Connector 320: Steering Wheel/Column Tilt/Telescope Switch (N38)
Connector 321: Steering Wheel Control Switch - Left
Connector 322: Steering Wheel Control Switch - Right
Connector 323: Steering Wheel Position Sensor
Connector 324: Sunload Sensor
Connector 325: Sunroof Control Module (C3U)
Connector 326: Sunroof Shade Module (C3U)
Connector 327: Sunroof Shade Switch (C3U)
Connector 328: Sunroof Switch (C3U)
Connector 329: Sunshade - Left
Connector 330: Sunshade - Right
Connector 331: Tail Lamp - Left (T90)
Connector 332: Tail Lamp - Left (without T90)
Connector 333: Tail Lamp - Right (T90)
Connector 334: Tail Lamp - Right (without T90)
Connector 335: Television Antenna Module X1 (U2X/U2Y)
Connector 336: Theft Deterrent Alarm Siren (UA2)
Connector 337: Theft Deterrent Module (without UHA/UHF)
Connector 338: Throttle Body
Connector 339: Tire Pressure Module (UH3)
Connector 340: Tire Pressure Module (without UHA/UHF/UH3)
Connector 341: Tire Pressure Receiver - Left Front (UH3)
Connector 342: Tire Pressure Receiver - Left Rear (UH3)
Connector 343: Tire Pressure Receiver - Right Front (UH3)
Connector 344: Tire Pressure Receiver - Right Rear (UH3)
Connector 345: Transfer Case Clutch Coil X1 (MX7)
Connector 346: Transfer Case Clutch Coil X2 (MX7)
Connector 347: Transfer Case Fluid Temperature Sensor (MX7)
Connector 348: Transfer Case Shift Control Module X1 (MX7)
Connector 349: Transfer Case Shift Control Module X2 (MX7)
Connector 350: Turn Signal Lamp - Left Front
Connector 351: Turn Signal Lamp - Right Front
Connector 352: Turn Signal/Multifunction Switch X1
Connector 353: Turn Signal/Multifunction Switch X2
Connector 354: Variable Effort Steering Actuator (MX7)
Connector 355: Vehicle Communication Interface Module (VCIM) X1 (UE1)
Connector 356: Vehicle Communication Interface Module (VCIM) X2 (UE1)
Connector 357: Vehicle Communication Interface Module (VCIM) X3 (UE1)
Connector 358: Vehicle Inclination Sensor (UA2)
Connector 359: Vehicle Speed Sensor (VSS) (MV7)
Connector 360: Wheel Speed Sensor (WSS) - Left Front
Connector 361: Wheel Speed Sensor (WSS) - Left Rear
Connector 362: Wheel Speed Sensor (WSS) - Right Front
Connector 363: Wheel Speed Sensor (WSS) - Right Rear
Connector 364: Window Motor - Driver
Connector 365: Window Motor - Left Rear
Connector 366: Window Motor - Passenger
Connector 367: Window Motor - Right Rear
Connector 368: Window Switch - Left Rear
Connector 369: Window Switch - Right Rear
Connector 370: Windshield Outside Moisture Sensor (CE1)
Connector 371: Windshield Washer Fluid Level Switch
Connector 372: Windshield Washer Fluid Pump
Connector 373: Windshield Washer Solvent Heater X1 (XA7)
Connector 374: Windshield Washer Solvent Heater X2 (XA7)
Connector 375: Windshield Wiper/Washer Switch
Connector 376: Windshield Wiper Motor
Connector 377: Yaw Rate and Lateral Acceleration Sensor

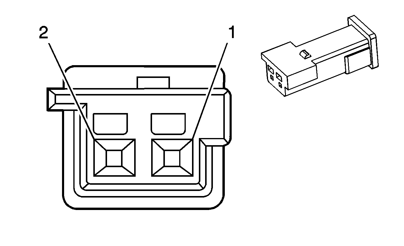
A/C Compressor Clutch


Object Number: 897985  Size: CH

Connector Part Information

  • OEM: 7282-5548-30
  • Service: 88953303
  • Description: 2-Way M YESC Weather Pack Series Sealed (BK)

Terminal Part Information

  • Terminal/Tray: 7114-4102-08/9
  • Core/Insulation Crimp: E/1
  • Release Tool/Test Probe: 12094430/J-35616-3 (GY)

A/C Compressor Clutch

Pin

Wire

Circuit

Function

1

0.5 D-GN

59

A/C Compressor Clutch Supply Voltage

2

0.5 BK

1550

Ground

A/C Refrigerant Pressure Sensor


Object Number: 1519475  Size: CH

Connector Part Information

  • OEM: 13532244
  • Service: 88988301
  • Description: 3-Way F GT 150 Sealed (BK)

Terminal Part Information

  • Terminal/Tray: 15326267/19
  • Core/Insulation Crimp: E/4
  • Release Tool/Test Probe: 15315247/J-35616-2A (GY)

A/C Refrigerant Pressure Sensor

Pin

Wire

Circuit

Function

1

0.5 TN

5514

Low Reference

2

0.5 GY

2700

5-Volt Reference 3

3

0.5 RD/BK

380

A/C Refrigerant Pressure Sensor Signal

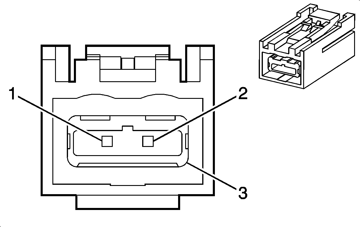
Accelerator Pedal Position (APP) Sensor


Object Number: 632357  Size: CH

Connector Part Information

  • OEM: 15326829
  • Service: See Catalog
  • Description: 6-Way F (BK)

Terminal Part Information

  • Terminal/Tray: See Terminal Repair Kit
  • Core/Insulation Crimp: See Terminal Repair Kit
  • Release Tool/Test Probe: See Terminal Repair Kit

Accelerator Pedal Position (APP) Sensor

Pin

Wire

Circuit

Function

A

0.35 PU

1272

Low Reference

B

0.35 L-BU

1162

APP Sensor 2 Signal

C

0.35 TN

1274

5-Volt Reference 3

D

0.35 BN

1271

Low Reference

E

0.35 D-BU

1161

APP Sensor 1 Signal

F

0.35 WH/BK

1164

5-Volt Reference 2

Accent Lamp - Driver Door (TSQ)


Object Number: 35441  Size: CH

Connector Part Information

  • OEM: 12047663
  • Service: See Catalog
  • Description: 2-Way M Metri-Pack 150 Series (BK)

Terminal Part Information

  • Terminal/Tray: 12047581/2
  • Core/Insulation Crimp: E/C
  • Release Tool/Test Probe: 12094429/J-35616-3 (GY)

Accent Lamp - Driver Door (TSQ)

Pin

Wire

Circuit

Function

A

0.35 BK

350

Ground

B

0.35 WH

901

IC 2 Control

Accent Lamp - Driver Door Handle (TSQ)


Object Number: 35441  Size: CH

Connector Part Information

  • OEM: 12047663
  • Service: See Catalog
  • Description: 2-Way M Metri-Pack 150 Series (BK)

Terminal Part Information

  • Terminal/Tray: 12047581/2
  • Core/Insulation Crimp: E/C
  • Release Tool/Test Probe: 12094429/J-35616-3 (GY)

Accent Lamp - Driver Door Handle (TSQ)

Pin

Wire

Circuit

Function

A

0.35 BK

350

Ground

B

0.35 WH

901

IC 2 Control

Accent Lamp - Driver Seat (TSQ)


Object Number: 35451  Size: CH

Connector Part Information

  • OEM: 12059251
  • Service: See Catalog
  • Description: 2-Way F Metri-Pack 150 Series (BK)

Terminal Part Information

  • Terminal/Tray: 12047581/2
  • Core/Insulation Crimp: E/C
  • Release Tool/Test Probe: 12094429/J-35616-3 (GY)

Accent Lamp - Driver Seat (TSQ)

Pin

Wire

Circuit

Function

A

0.35 WH

901

IC 2 Control

B

0.35 BK

550

Ground

Accent Lamp - Left I/P (TSQ)


Object Number: 35441  Size: CH

Connector Part Information

  • OEM: 12047663
  • Service: See Catalog
  • Description: 2-Way M Metri-Pack 150 Series (BK)

Terminal Part Information

  • Terminal/Tray: 12047581/2
  • Core/Insulation Crimp: E/C
  • Release Tool/Test Probe: 12094429/J-35616-3 (GY)

Accent Lamp - Left I/P (TSQ)

Pin

Wire

Circuit

Function

A

0.35 BK

350

Ground

B

0.35 WH

901

IC 2 Control

Accent Lamp - Left Rear Door (TSQ)


Object Number: 35441  Size: CH

Connector Part Information

  • OEM: 12047663
  • Service: See Catalog
  • Description: 2-Way M Metri-Pack 150 Series (BK)

Terminal Part Information

  • Terminal/Tray: 12047581/2
  • Core/Insulation Crimp: E/C
  • Release Tool/Test Probe: 12094429/J-35616-3 (GY)

Accent Lamp - Left Rear Door (TSQ)

Pin

Wire

Circuit

Function

A

0.35 BK

350

Ground

B

0.35 WH

901

IC 2 Control

Accent Lamp - Left Rear Door Handle (TSQ)


Object Number: 35441  Size: CH

Connector Part Information

  • OEM: 12047663
  • Service: See Catalog
  • Description: 2-Way M Metri-Pack 150 Series (BK)

Terminal Part Information

  • Terminal/Tray: 12047581/2
  • Core/Insulation Crimp: E/C
  • Release Tool/Test Probe: 12094429/J-35616-3 (GY)

Accent Lamp - Left Rear Door Handle (TSQ)

Pin

Wire

Circuit

Function

A

0.35 BK

350

Ground

B

0.35 WH

901

IC 2 Control

Accent Lamp - Lower Left I/P (TSQ)


Object Number: 35441  Size: CH

Connector Part Information

  • OEM: 12047663
  • Service: See Catalog
  • Description: 2-Way M Metri-Pack 150 Series (BK)

Terminal Part Information

  • Terminal/Tray: 12047581/2
  • Core/Insulation Crimp: E/C
  • Release Tool/Test Probe: 12094429/J-35616-3 (GY)

Accent Lamp - Lower Left I/P (TSQ)

Pin

Wire

Circuit

Function

A

0.35 BK

350

Ground

B

0.35 WH

901

IC 2 Control

Accent Lamp - Lower Right I/P (TSQ)


Object Number: 35441  Size: CH

Connector Part Information

  • OEM: 12047663
  • Service: See Catalog
  • Description: 2-Way M Metri-Pack 150 Series (BK)

Terminal Part Information

  • Terminal/Tray: 12047581/2
  • Core/Insulation Crimp: E/C
  • Release Tool/Test Probe: 12094429/J-35616-3 (GY)

Accent Lamp - Lower Right I/P (TSQ)

Pin

Wire

Circuit

Function

A

0.35 BK

450

Ground

B

0.35 WH

901

IC 2 Control

Accent Lamp - Overhead Console (TSQ)


Object Number: 280768  Size: CH

Connector Part Information

  • OEM: 12052832
  • Service: See Catalog
  • Description: 2-Way M Metri-Pack 150 Series (BK)

Terminal Part Information

  • Terminal/Tray: 12047581/2
  • Core/Insulation Crimp: E/C
  • Release Tool/Test Probe: 12094429/J-35616-3 (GY)

Accent Lamp - Overhead Console (TSQ)

Pin

Wire

Circuit

Function

A

0.35 BK

1050

Ground

B

0.35 WH

901

IC 2 Control

Accent Lamp - Passenger Door (TSQ)


Object Number: 35441  Size: CH

Connector Part Information

  • OEM: 12047663
  • Service: See Catalog
  • Description: 2-Way M Metri-Pack 150 Series (BK)

Terminal Part Information

  • Terminal/Tray: 12047581/2
  • Core/Insulation Crimp: E/C
  • Release Tool/Test Probe: 12094429/J-35616-3 (GY)

Accent Lamp - Passenger Door (TSQ)

Pin

Wire

Circuit

Function

A

0.35 BK

450

Ground

B

0.35 WH

901

IC 2 Control

Accent Lamp - Passenger Door Handle (TSQ)


Object Number: 35441  Size: CH

Connector Part Information

  • OEM: 12047663
  • Service: See Catalog
  • Description: 2-Way M Metri-Pack 150 Series (BK)

Terminal Part Information

  • Terminal/Tray: 12047581/2
  • Core/Insulation Crimp: E/C
  • Release Tool/Test Probe: 12094429/J-35616-3 (GY)

Accent Lamp - Passenger Door Handle (TSQ)

Pin

Wire

Circuit

Function

A

0.35 BK

450

Ground

B

0.35 WH

901

IC 2 Control

Accent Lamp - Passenger Seat (TSQ)


Object Number: 35451  Size: CH

Connector Part Information

  • OEM: 12059251
  • Service: See Catalog
  • Description: 2-Way F Metri-Pack 150 Series (BK)

Terminal Part Information

  • Terminal/Tray: 12047581/2
  • Core/Insulation Crimp: E/C
  • Release Tool/Test Probe: 12094429/J-35616-3 (GY)

Accent Lamp - Passenger Seat (TSQ)

Pin

Wire

Circuit

Function

A

0.35 WH

901

IC 2 Control

B

0.35 BK

550

Ground

Accent Lamp - Right I/P (TSQ)


Object Number: 35441  Size: CH

Connector Part Information

  • OEM: 12047663
  • Service: See Catalog
  • Description: 2-Way M Metri-Pack 150 Series (BK)

Terminal Part Information

  • Terminal/Tray: 12047581/2
  • Core/Insulation Crimp: E/C
  • Release Tool/Test Probe: 12094429/J-35616-3 (GY)

Accent Lamp - Right I/P (TSQ)

Pin

Wire

Circuit

Function

A

0.35 BK

450

Ground

B

0.35 WH

901

IC 2 Control

Accent Lamp - Right Rear Door (TSQ)


Object Number: 35441  Size: CH

Connector Part Information

  • OEM: 12047663
  • Service: See Catalog
  • Description: 2-Way M Metri-Pack 150 Series (BK)

Terminal Part Information

  • Terminal/Tray: 12047581/2
  • Core/Insulation Crimp: E/C
  • Release Tool/Test Probe: 12094429/J-35616-3 (GY)

Accent Lamp - Right Rear Door (TSQ)

Pin

Wire

Circuit

Function

A

0.35 BK

450

Ground

B

0.35 WH

901

IC 2 Control

Accent Lamp - Right Rear Door Handle (TSQ)


Object Number: 35441  Size: CH

Connector Part Information

  • OEM: 12047663
  • Service: See Catalog
  • Description: 2-Way M Metri-Pack 150 Series (BK)

Terminal Part Information

  • Terminal/Tray: 12047581/2
  • Core/Insulation Crimp: E/C
  • Release Tool/Test Probe: 12094429/J-35616-3 (GY)

Accent Lamp - Right Rear Door Handle (TSQ)

Pin

Wire

Circuit

Function

A

0.35 BK

450

Ground

B

0.35 WH

901

IC 2 Control

Accessory Power Outlet - Center Console


Object Number: 320518  Size: CH

Connector Part Information

  • OEM: 12176446
  • Service: See Catalog
  • Description: 3-Way F Metri-Pack 280 Series, Flexlock (BK)

Terminal Part Information

  • Pins: A, C
  • Terminal/Tray: 12110844/4
  • Core/Insulation Crimp: C/A
  • Release Tool/Test Probe: 15315247/J-35616-4A (PU)

Accessory Power Outlet - Center Console

Pin

Wire

Circuit

Function

A

1 OG

4140

Battery Positive Voltage

B

--

--

Not Used

C

1 BK

450

Ground

Accessory Power Outlet - Rear


Object Number: 320518  Size: CH

Connector Part Information

  • OEM: 12176446
  • Service: See Catalog
  • Description: 3-Way F Metri-Pack 280 Series, Flexlock (BK)

Terminal Part Information

  • Pins: A, C
  • Terminal/Tray: 12110844/4
  • Core/Insulation Crimp: C/A
  • Release Tool/Test Probe: 15315247/J-35616-4A (PU)

Accessory Power Outlet - Rear

Pin

Wire

Circuit

Function

A

1 OG

4140

Battery Positive Voltage

B

--

--

Not Used

C

1 BK

450

Ground

Active Hood Hinge Actuator - Left (B3T)


Object Number: 1333959  Size: CH

Connector Part Information

  • OEM: 12191468
  • Service: See Catalog
  • Description: 2-Way F Metri-Pack 150 Sealed (YE)

Terminal Part Information

  • Terminal/Tray: 12160223/3
  • Core/Insulation Crimp: E/1
  • Release Tool/Test Probe: 12094429/J-35616-14 (GN)

Active Hood Hinge Actuator - Left (B3T)

Pin

Wire

Circuit

Function

A

0.35 WH

7492

Hood Actuator Hood High Reference

B

0.35 PU

7491

Hood Actuator Hood Low Reference

Active Hood Hinge Actuator - Right (B3T)


Object Number: 1333959  Size: CH

Connector Part Information

  • OEM: 12191468
  • Service: See Catalog
  • Description: 2-Way F Metri-Pack 150 Sealed (YE)

Terminal Part Information

  • Terminal/Tray: 12160223/3
  • Core/Insulation Crimp: E/1
  • Release Tool/Test Probe: 12094429/J-35616-14 (GN)

Active Hood Hinge Actuator - Right (B3T)

Pin

Wire

Circuit

Function

A

0.35 PK

7490

Hood Actuator Hood High Reference

B

0.35 OG

7489

Actuator Hood Low Reference

Adaptive Forward Lighting (AFL) Motor - Left (TT6/TT7/TT8)


Object Number: 1986166  Size: CH

Connector Part Information

  • OEM: EHR-5
  • Service: See Catalog
  • Description: 5-Way F (WH)

Terminal Part Information

  • Terminal/Tray: See Terminal Repair Kit
  • Core/Insulation Crimp: See Terminal Repair Kit
  • Release Tool/Test Probe: See Terminal Repair Kit

Adaptive Forward Lighting (AFL) Motor - Left (TT6/TT7/TT8)

Pin

Wire

Circuit

Function

1

0.35 BK

7129

Left Front Headlamp Adaptive Forward Lighting System (AFS) Motor Signal 1 (without TR7)

2

0.35 BK

7131

Left Front Headlamp Adaptive Forward Lighting System (AFS) Motor Signal 3 (without TR7)

3

0.35 BK

7130

Left Front Headlamp Adaptive Forward Lighting System (AFS) Motor Signal 2 (without TR7)

4

0.35 BK

7132

Left Front Headlamp Adaptive Forward Lighting System (AFS) Motor Signal 4 (without TR7)

5

0.35 BK

813

Drain Wire

Adaptive Forward Lighting (AFL) Motor - Right (TT6/TT7/TT8)


Object Number: 1986166  Size: CH

Connector Part Information

  • OEM: EHR-5
  • Service: See Catalog
  • Description: 5-Way F (WH)

Terminal Part Information

  • Terminal/Tray: See Terminal Repair Kit
  • Core/Insulation Crimp: See Terminal Repair Kit
  • Release Tool/Test Probe: See Terminal Repair Kit

Adaptive Forward Lighting (AFL) Motor - Right (TT6/TT7/TT8)

Pin

Wire

Circuit

Function

1

0.35 BK

7133

Right Front Headlamp Adaptive Forward Lighting System (AFS) Motor Signal 1 (without TR7)

2

0.35 BK

7135

Right Front Headlamp Adaptive Forward Lighting System (AFS) Motor Signal 3 (without TR7)

3

0.35 BK

7134

Right Front Headlamp Adaptive Forward Lighting System (AFS) Motor Signal 2 (without TR7)

4

0.35 BK

7136

Right Front Headlamp Adaptive Forward Lighting System (AFS) Motor Signal 4 (without TR7)

5

0.35 BK

814

Steering Wheel Module Force - High Control

Air Temperature Actuator - Left


Object Number: 861682  Size: CH

Connector Part Information

  • OEM: 7283-5830
  • Service: See Catalog
  • Description: 5-Way F (NA)

Terminal Part Information

  • Terminal/Tray: See Terminal Repair Kit
  • Core/Insulation Crimp: See Terminal Repair Kit
  • Release Tool/Test Probe: See Terminal Repair Kit

Air Temperature Actuator - Left

Pin

Wire

Circuit

Function

1

0.35 YE

61

Low Reference

2

0.35 GY

605

5-Volt Reference 3

3

0.35 L-BU

733

Air Temperature Door Position Signal

4

0.35 D-BU/WH

1199

Air Temperature Door Control

5

0.35 YE/RD

1791

Low Reference

Air Temperature Actuator - Right


Object Number: 861682  Size: CH

Connector Part Information

  • OEM: 7283-5830
  • Service: See Catalog
  • Description: 5-Way F (NA)

Terminal Part Information

  • Terminal/Tray: See Terminal Repair Kit
  • Core/Insulation Crimp: See Terminal Repair Kit
  • Release Tool/Test Probe: See Terminal Repair Kit

Air Temperature Actuator - Right

Pin

Wire

Circuit

Function

1

0.35 GY

605

5-Volt Reference 3

2

0.35 YE

61

Low Reference

3

0.35 D-BU

1646

Auxiliary Air Temperature Door Position Signal

4

0.35 WH/BK

1236

Auxiliary Air Temperature Door Control

5

0.35 GY/BK

2778

Right Air Temperature Door Control A

Air Temperature Sensor - Inside


Object Number: 1853504  Size: CH

Connector Part Information

  • OEM: 7283-6160
  • Service: 88953305
  • Description: 2-Way F 090 Series (NA)

Terminal Part Information

  • Terminal/Tray: 7116-4020/11
  • Core/Insulation Crimp: E/C
  • Release Tool/Test Probe: 15315247/J-35616-18 (BK)

Air Temperature Sensor - Inside

Pin

Wire

Circuit

Function

1

0.35 D-GN

734

Inside Air Temperature Sensor Signal

2

0.35 YE

61

Low Reference

Ambient Air Temperature Sensor


Object Number: 684793  Size: CH

Connector Part Information

  • OEM: 13543521
  • Service: 12101856
  • Description: 2-Way F Metri-Pack 150 Series Sealed (BK)

Terminal Part Information

  • Terminal/Tray: 12048074/2
  • Core/Insulation Crimp: E/1
  • Release Tool/Test Probe: 12094429/J-35616-14 (GN)

Ambient Air Temperature Sensor

Pin

Wire

Circuit

Function

A

0.35 L-GN/BK

735

Ambient Air Temperature Sensor Signal

B

0.35 YE

61

Low Reference

Audio Amplifier X1 (UQA/UQS)


Object Number: 1664464  Size: CH

Connector Part Information

  • OEM: 6098-4798
  • Service: 19115652
  • Description: 8-Way F 2.8 Series (GY)

Terminal Part Information

  • Pins: 1-3, 5, 7
  • Terminal/Tray: 8100-4444/22
  • Core/Insulation Crimp: 2/A
  • Release Tool/Test Probe: 15315247/J-35616-35 (VT)
  • Pins: 5, 6,
  • Terminal/Tray: 8100-4443/22
  • Core/Insulation Crimp: E/A
  • Release Tool/Test Probe: 15315247/J-35616-35 (VT)
  • Pins: 3, 4, 7, 8
  • Terminal/Tray: 8100-4445/22
  • Core/Insulation Crimp: Pins 3, 7 - 4/4
  • Core/Insulation Crimp: Pins 4, 8 - F/D
  • Release Tool/Test Probe: 15315247/J-35616-35 (VT)

Audio Amplifier X1 (UQA/UQS)

Pin

Wire

Circuit

Function

1

1 TN

201

Left Front Speaker Output (+) (UQS)

0.8 GY

118

Left Front Speaker Output (-) (UQA)

2

1 GY

118

Left Front Speaker Output (-) (UQS)

3

1 D-GN

117

Right Front Speaker Output (-) (UQS)

1 L-GN

1794

Rear Subwoofer Speaker Output (-) (UQA )

4

3 RD

1042

Battery Positive Voltage

5

0.8 TN

201

Left Front Speaker Output (+) (UQA)

2 D-BU/WH

346

Left Rear Subwoofer Speaker Output (+) (UQS)

6

0.5 L-GN/BK

1794

Left Rear Subwoofer Speaker Output (-) (UQS)

7

2 D-BU/WH

346

Left Rear Subwoofer Speaker Output (+) (UQA)

1 L-GN

200

Right Front Speaker Output (+) (UQS)

8

3 BK

850

Ground

Audio Amplifier X2 (UQA/UQS)


Object Number: 1653404  Size: CH

Connector Part Information

  • OEM: 6098-4611
  • Service: 15134091
  • Description: 16-Way F 1.5 Series (BK)

Terminal Part Information

  • Pins: 1-8, 15, 16
  • Terminal/Tray: 8240-0127/22
  • Core/Insulation Crimp: E/C
  • Release Tool/Test Probe: 15315247/J-35616-2A (GY)
  • Pins: 7, 8
  • Terminal/Tray: 8240-0128/22
  • Core/Insulation Crimp: C/A
  • Release Tool/Test Probe: 15315247/J-35616-2A (GY)

Audio Amplifier X2 (UQA/UQS)

Pin

Wire

Circuit

Function

1

0.5 L-BU

115

Right Rear Speaker Output (-) (UQA)

0.35 D-GN

5060

Low Speed GMLAN Serial Data (UQS)

2

0.5 D-BU

46

Right Rear Speaker Output (+) (UQA)

0.5 RD

1955

Right Rear Midrange Speaker Output (-) (UQS)

3

0.5 L-BU

1960

Front Center Speaker Output (-) (UQA)

0.5 TN

1855

Right Rear Midrange Speaker Output (+) (UQS)

4

0.5 BK

1856

Left Front Speaker Output (+) (UQS)

0.5 YE

1860

Front Center Speaker Output (+) (UQA)

5

0.5 YE

1956

Left Front Speaker Output (-) (UQS)

6

0.5 PU

1952

Right Front Speaker Output (-) (UQS)

7

0.5 L-GN

1852

Right Front Speaker Output (+) (UQS)

0.8 D-GN

117

Right Front Speaker Output (-) (UQA)

8

0.8 L-GN

200

Right Front Speaker Output (+) (UQA)

0.5 YE

116

Left Rear Speaker Output (-) (UQS)

9

--

--

Not Used

10

0.5 WH

1959

Left Rear Midrange Speaker Output (-) (UQS)

11

0.5 TN

1859

Left Rear Midrange Speaker Output (+) (UQS)

12

0.5 L-BU

1960

Front Center Speaker Output (-) (UQS)

13

0.5 YE

1860

Front Center Speaker Output (+) (UQS)

14

0.5 L-BU

115

Right Rear Speaker Output (-) (UQS)

15

0.5 BN

199

Left Rear Speaker Output (+) (UQA)

0.5 D-BU

46

Right Rear Speaker Output (+) (UQS)

16

0.5 YE

116

Left Rear Speaker Output (-) (UQA)

0.5 BN

199

Left Rear Speaker Output (+) (UQS)

Audio Amplifier X3 (UQA/UQS)


Object Number: 1711013  Size: CH

Connector Part Information

  • OEM: 7283-9076-30
  • Service: See Catalog
  • Description: 16-Way F Kaizen 0.64 Series (BK)

Terminal Part Information

  • Pins: 3-8, 11-15
  • Terminal/Tray: SAITS-A03-M064
  • Core/Insulation Crimp: P/P
  • Release Tool/Test Probe: See Terminal Repair Kit

Audio Amplifier X3 (UQA/UQS)

Pin

Wire

Circuit

Function

1-2

--

--

Not Used

3

0.35 L-GN

512

Right Front Low Level Audio Signal (+) (UQS)

4

0.35 L-GN

1948

Right Front Low Level Audio Signal (-) (UQS)

0.35 BK

1946

Right Rear Low Level Audio Signal (-) (UQA)

5

0.35 WH

5343

Navigation Audio Signal (-) (UQS and UAV/U2X/U2Y)

0.35 BN

1999

Left Rear Low Level Audio Signal (-) (UQA)

6

0.35 L-GN

1948

Right Front Low Level Audio Signal (-) (UQA)

0.35 BARE

1489

Drain Wire (UQS)

7

0.35 D-GN

1947

Left Front Low Level Audio Signal (-) (UQA)

8

0.35 WH

7066

Entertainment Remote Enable Signal (UQA)

9-10

--

--

Not Used

11

0.35 TN

511

Left Front Low Level Audio Signal (+) (UQS)

0.35 OG

5748

Radio Audio Mute Signal (UQA)

12

0.35 D-BU

546

Right Rear Low Level Audio Signal (+) (UQA)

0.35 D-GN

1947

Left Front Low Level Audio Signal (-) (UQS)

13

0.35 YE

5342

Navigation Audio Signal (+) (UQS and UAV/U2X/U2Y)

0.35 BN

599

Left Rear Low Level Audio Signal (+) (UQA)

14

0.35 D-GN

1488

Noise Compensation Microphone Supply Voltage (UQS)

0.35 L-GN

512

Right Front Low Level Audio Signal (+) (UQA)

15

0.35 OG

5748

Radio Audio Mute Signal (UQS)

0.35 TN

511

Left Front Low Level Audio Signal (+) (UQA)

16

--

--

Not Used

Audio Amplifier X4


Object Number: 1664488  Size: CH

Connector Part Information

  • OEM: 7283-9078-80
  • Service: See Catalog
  • Description: 16-Way F Kaizen 0.64 Series (BN)

Terminal Part Information

  • Pins: 3-6, 11-14
  • Terminal/Tray: SAITS-A03-M064
  • Core/Insulation Crimp: P/P
  • Release Tool/Test Probe: See Terminal Repair Kit

Audio Amplifier X4

Pin

Wire

Circuit

Function

1-2

--

--

Not Used

3

0.35 D-BU

546

Right Rear Low Level Audio Signal (+) (UQS)

4

0.35 BK

1946

Right Rear Low Level Audio Signal (-) (UQS)

5

0.35 WH

6763

Subwoofer Low Level Audio Signal (+) (UQS)

6

0.35 PK

6762

Subwoofer Low Level Audio Signal (-) (UQS)

7-10

--

--

Not Used

11

0.35 BN

599

Left Rear Low Level Audio Signal (+) (UQS)

12

0.35 BN

1999

Left Rear Low Level Audio Signal (-) (UQS)

13

0.35 D-BU

6760

Center Channel Low Level Audio Signal (+) (UQS)

14

0.35 OG

6761

Center Channel Low Level Audio Signal (-) (UQS)

15-16

--

--

Not Used

Automatic Transmission (MYB)


Object Number: 1653381  Size: CH

Connector Part Information

  • OEM: 15131300
  • Service: See Catalog
  • Description: 16-Way F Sealed (BK)

Terminal Part Information

  • Pins: 4, 12
  • Terminal/Tray: 1928498135/19
  • Core/Insulation Crimp: J/J
  • Release Tool/Test Probe: J-38125-213/J-35616-64B (L-BU)
  • Pins: 6, 9
  • Terminal/Tray: 15304719/19
  • Core/Insulation Crimp: E/5
  • Release Tool/Test Probe: 15315247/J-35616-4A (PU)
  • Pins: 1, 3-6, 9-14,
  • Terminal/Tray: 2 2124 472200
  • Core/Insulation Crimp: Pins 3-5, 10-14 - See Terminal Repair Kit
  • Core/Insulation Crimp: Pins 5, 6, 9 - E/1
  • Release Tool/Test Probe: See Terminal Repair Kit

Automatic Transmission (MYB)

Pin

Wire

Circuit

Function

1-2

--

--

Not Used

3

0.5 OG/BK

1786

Ignition Lock Cylinder Control Actuator Signal

4

0.8 OG

440

Battery Positive Voltage

5

0.8 BK/WH

1551

Ground

6

0.35 WH

17

Stop Lamp Switch Signal or Stop Lamp Supply Voltage

7-8

--

--

Not Used

9

0.35 D-BU

5985

Accessory Wakeup Serial Data

10

0.5 TN/WH

2500

High Speed GMLAN Serial Data Bus+

11

0.5 TN

2501

High Speed GMLAN Serial Data Bus-

12

0.5 PK

339

Ignition 1 Voltage

13

0.5 TN

2501

High Speed GMLAN Serial Data Bus-

14

0.5 TN/WH

2500

High Speed GMLAN Serial Data Bus+

15-16

--

--

Not Used

Automatic Transmission Shift Lever (MYB)


Object Number: 646384  Size: CH

Connector Part Information

  • OEM: 15332153
  • Service: See Catalog
  • Description: 10-Way F GT 150 Series (BK)

Terminal Part Information

  • Terminal/Tray: See Terminal Repair Kit
  • Core/Insulation Crimp: See Terminal Repair Kit
  • Release Tool/Test Probe: See Terminal Repair Kit

Automatic Transmission Shift Lever (MYB)

Pin

Wire

Circuit

Function

A-B

--

--

Not Used

C

0.35 GY

8

I/P Dimmer Switch Signal

D

0.35 PU

1375

Remote Radio Control Supply Voltage

E

0.35 D-GN/WH

1135

Automatic Transmission Shift Lock Control Solenoid Supply Voltage

F

0.35 PU/WH

1630

Steering Column Key Cylinder Lock Solenoid Control

G

--

--

Not Used

H

0.35 PU

5526

Tap Up/Tap Down Switch Signal

J

--

--

Not Used

K

0.35 BK

350

Ground

Auxiliary Audio Jack (UQS)


Object Number: 1849803  Size: CH

Connector Part Information

  • OEM: X30583-A518
  • Service: See Catalog
  • Description: 10-Way M (BK)

Terminal Part Information

  • Terminal/Tray: See Terminal Repair Kit
  • Core/Insulation Crimp: See Terminal Repair Kit
  • Release Tool/Test Probe: See Terminal Repair Kit

Auxiliary Audio Jack (UQS)

Pin

Wire

Circuit

Function

Z1

.35 YE

6817

LED Backlight Dimming Control

Z2-Z3

--

--

Not Used

Z4

0.35 BARE

5842

Auxiliary Audio Screen

Z5

0.35 D-BU

5843

Auxiliary Audio Common Signal

Z6

0.35 L-GN

5839

Left Auxiliary Audio Signal

Z7

0.35 D-GN/WH

5841

Right Auxiliary Audio Signal

Z8

0.35 PK

2060

Auxiliary Detection Signal

Z9-Z10

--

--

Not Used

 

Auxiliary Audio Jack (UQA)


Object Number: 1849803  Size: CH

Connector Part Information

  • OEM: X30583-A518
  • Service: See Catalog
  • Description: 10-Way M (BK)

Terminal Part Information

  • Terminal/Tray: See Terminal Repair Kit
  • Core/Insulation Crimp: See Terminal Repair Kit
  • Release Tool/Test Probe: See Terminal Repair Kit

Auxiliary Audio Jack (UQA)

Pin

Wire

Circuit

Function

Z1

.35 YE

6817

LED Backlight Dimming Control

Z2-Z3

--

--

Not Used

Z4

0.35 BARE

5842

Auxiliary Audio Screen

Z5

0.35 D-BU

5843

Auxiliary Audio Common Signal

Z6

0.35 L-GN

5839

Left Auxiliary Audio Signal

Z7

0.35 D-GN/WH

5841

Right Auxiliary Audio Signal

Z8

0.35 PK

2060

Auxiliary Detection Signal

Z9-Z10

--

--

Not Used

Auxiliary Body Control Module (XBCM) X1 (UA2)


Object Number: 73156  Size: CH

Connector Part Information

  • OEM: 12110088
  • Service: See Catalog
  • Description: 24-Way F Micro-Pack 100 Series (GY)

Terminal Part Information

  • Pins: A2, A3, A7, B4, B10
  • Terminal/Tray: 12146447/3
  • Core/Insulation Crimp: E/C
  • Release Tool/Test Probe: 12031876-1/J-35616-6 (BN)

Auxiliary Body Control Module (XBCM) X1 (UA2)

Pin

Wire

Circuit

Function

A1

--

--

Not Used

A2

0.35 OG

4540

Battery Positive Voltage

A3

0.35 D-GN

5060

Low Speed GMLAN Serial Data

A4-A6

--

--

Not Used

A7

0.35 BK

850

Ground

A8-A12

--

--

Not Used

B1-B3

--

--

Not Used

B4

0.35 TN/BK

5168

Power Sounder Enable Signal

B5-B8

--

--

Not Used

B9

0.35 GY

728

Security Indicator Control

B10

0.35 L-BU

5362

Inclination Sensor Signal

B11-B12

--

--

Not Used

Auxiliary Body Control Module (XBCM) X2 (UA2)


Object Number: 1552610  Size: CH

Connector Part Information

  • OEM: 15357040
  • Service: See Catalog
  • Description: 8-Way F Metri-Pack 280 (L-GY)

Terminal Part Information

  • Pins: C, D, F
  • Terminal/Tray: 12110842/4
  • Core/Insulation Crimp: C/A
  • Release Tool/Test Probe: 15315247/J-35616-4A (PU)

Auxiliary Body Control Module (XBCM) X2 (UA2)

Pin

Wire

Circuit

Function

A-B

--

--

Not Used

C

1 GY

5133

Left Rear Passenger Door Lock Actuator Deadbolt Control

D

1 GY

295

Door Lock Actuator Lock Control

E

--

--

Not Used

F

1 GY

295

Door Lock Actuator Lock Control

G-H

--

--

Not Used

Backup Lamp Switch (MV7)


Object Number: 516604  Size: CH

Connector Part Information

  • OEM: 12103584
  • Service: See Catalog
  • Description: 2-Way M Weather Pack Series (BK)

Terminal Part Information

  • Terminal/Tray: 12089040/3
  • Core/Insulation Crimp: Pins A, B - See Terminal Repair Kit
  • Core/Insulation Crimp: Pins B - E/5
  • Release Tool/Test Probe: 12014012-1/J-35616-9 (OG)

Backup Lamp Switch (MV7)

Pin

Wire

Circuit

Function

A

0.35 L-GN

5007

Backup Lamp Switch Signal

B

0.8 BK/WH

1551

Ground

Battery (-)

Terminal Part Information

  • Terminal: R61014-002
  • Core/Insulation Crimp: N/A
  • Description: Battery Terminal

Battery (-)

Pin

Wire

Circuit

Function

-

32 BK

50

Ground

Battery (+)

Terminal Part Information

  • Terminal: R3311-033
  • Core/Insulation Crimp: N/A
  • Description: Battery Terminal

Battery (+)

Pin

Wire

Circuit

Function

+

50 RD

1

Battery Positive Voltage

5 RD

1

Battery Positive Voltage

5 RD

1

Battery Positive Voltage

5 RD

1

Battery Positive Voltage

Battery Current Sensor


Object Number: 646415  Size: CH

Connector Part Information

  • OEM: 15326808
  • Service: See Catalog
  • Description: 3-Way F Sealed (BK)

Terminal Part Information

  • Terminal/Tray: See Terminal Repair Kit
  • Core/Insulation Crimp: See Terminal Repair Kit
  • Release Tool/Test Probe: See Terminal Repair Kit

Battery Current Sensor

Pin

Wire

Circuit

Function

A

0.35 PK

5076

Current Sensor Supply Voltage

B

0.35 BN

5077

Current Sensor Low Reference

C

0.35 WH

5075

Current Sensor Signal

Blower Motor


Object Number: 1664494  Size: CH

Connector Part Information

  • OEM: 6098-1104
  • Service: 88988637
  • Description: 2-Way F Standard Series (NA)

Terminal Part Information

  • Terminal/Tray: See Terminal Repair Kit
  • Core/Insulation Crimp: See Terminal Repair Kit
  • Release Tool/Test Probe: See Terminal Repair Kit

Blower Motor

Pin

Wire

Circuit

Function

1

3 BK

2150

Ground

2

3 PU

65

Blower Motor Supply Voltage

Blower Motor Control Module X1


Object Number: 1817814  Size: CH

Connector Part Information

  • OEM: 7283-6458-40
  • Service: See Catalog
  • Description: 2-Way F Receptacle 6.3 Series (L-GY)

Terminal Part Information

  • Terminal/Tray: 7116-4122-02/10
  • Core/Insulation Crimp: A/B
  • Release Tool/Test Probe: 12094430/J-35616-42 (RD)

Blower Motor Control Module X1

Pin

Wire

Circuit

Function

1

3 PU

65

Blower Motor Supply Voltage

2

3 BK

2150

Ground

Blower Motor Control Module X2


Object Number: 1798802  Size: CH

Connector Part Information

  • OEM: 7283-9749-30
  • Service: See Catalog
  • Description: 6-Way F YESC Kaizen Series (BK)

Terminal Part Information

  • Terminal/Tray: See Terminal Repair Kit
  • Core/Insulation Crimp: See Terminal Repair Kit
  • Release Tool/Test Probe: See Terminal Repair Kit

Blower Motor Control Module X2

Pin

Wire

Circuit

Function

1-2

--

--

Not Used

3

0.35 GY/BK

754

Blower Motor Speed Control

4

--

--

Not Used

5

3 BK

450

Ground

6

3 RD

642

Battery Positive Voltage

Body Control Module (BCM) X1


Object Number: 1664495  Size: CH

Connector Part Information

  • OEM: 15482789
  • Service: 88988838
  • Description: 27-Way F HIT Series (L-GN)

Terminal Part Information

  • Terminal/Tray: See Terminal Repair Kit
  • Core/Insulation Crimp: See Terminal Repair Kit
  • Release Tool/Test Probe: See Terminal Repair Kit

Body Control Module (BCM) X1

Pin

Wire

Circuit

Function

1

--

--

Not Used

2

0.35 WH

1390

Off/Run/Crank Voltage

3

0.35 GY

1884

Cruise Control Switch Signal

4

0.35 WH/BK

1073

5-Volt Reference

5

0.35 L-GN

1715

Windshield Wiper Switch High Signal

6

0.35 D-BU

1796

Steering Wheel Controls Signal

7

--

--

Not Used

8

0.35 BK/WH

1251

Ground

9

0.35 L-BU

1714

Windshield Wiper Switch Low Signal

10-13

--

--

Not Used

14

0.35 PK

3

Battery Positive Voltage

15

0.35 L-BU/WH

1414

Left Front Turn Signal Switch Signal

16

0.35 D-BU/WH

1415

Right Front Turn Signal Switch Signal

17

0.35 PU

1375

Remote Radio Control Supply Voltage

18

0.35 PU

524

Headlamp Dimmer Switch High Beam Signal

19

0.35 OG

192

Front Fog Lamp Switch Signal (T96)

20

0.35 PU

5526

Tap Up/Tap Down Switch Signal (MYB)

21

0.35 BN

4

Accessory Voltage

22

--

--

Not Used

23

0.35 D-GN

306

Headlamp Switch Headlamps Off Signal

24

0.35 PK

94

Windshield Washer Switch Signal (XA7)

25

0.35 BN

1356

Flash To Pass Switch Signal

26

0.35 PU/WH

5905

Key Capture/Column Lock Shift Position Signal (MYB without UHA/UHF)

27

--

--

Not Used

Body Control Module (BCM) X2


Object Number: 1664496  Size: CH

Connector Part Information

  • OEM: 15482790
  • Service: 88988839
  • Description: 25-Way F HIT Series (NA)

Terminal Part Information

  • Pins: 1-3, 5
  • Terminal/Tray: SNAC-A061T-M2.8/20
  • Core/Insulation Crimp: E/A
  • Release Tool/Test Probe: 15315247/J-35616-4A (PU)
  • Pins: 8, 10-12, 18, 20-22
  • Terminal/Tray: SNAC3-A021T-M0.64/20
  • Core/Insulation Crimp: J/J
  • Release Tool/Test Probe: 15315247/J-35616-64B (L-BU)

Body Control Module (BCM) X2

Pin

Wire

Circuit

Function

1

0.8 OG

1732

Courtesy Lamps Supply Voltage

2

0.8 OG

1840

Battery Positive Voltage

3

0.8 GY

8

I/P Dimmer Switch Signal

4

--

--

Not Used

5

0.8 GY/BK

690

Courtesy Lamp Relay Control

6-7

--

--

Not Used

8

0.35 BN/WH

301

Rear Park Lamps Supply Voltage/Park Lamp Switch On Signal

9

--

--

Not Used

10

0.35 TN

2144

Hazard Switch Signal

11

0.35 L-GN/BK

1137

DRL Ambient Light Sensor Signal

12

0.35 WH

103

Headlamp Switch Headlamps On Signal or Automatic Headlamp Relay Control

13-17

--

--

Not Used

18

0.35 PK/BK

1597

Courtesy Lamps Switch On Signal

19

--

--

Not Used

20

0.35 PU

5357

Right Tail Lamp Outage Detection Signal

21

0.35 BN/WH

1571

Traction Control Switch Signal

22

0.35 D-GN/WH

1135

Automatic Transmission Shift Lock Control Solenoid Control (MYB)

23-25

--

--

Not Used

Body Control Module (BCM) X3


Object Number: 1664498  Size: CH

Connector Part Information

  • OEM: 15482791
  • Service: 88988840
  • Description: 25-Way F HIT Series (L-BU)

Terminal Part Information

  • Pins: 1-3, 5
  • Terminal/Tray: SNAC-A061T-M2.8/20
  • Core/Insulation Crimp: E/A
  • Release Tool/Test Probe: 15315247/J-35616-4A (PU)
  • Pins: 7-19, 22, 25
  • Terminal/Tray: SNAC3-A021T-M0.64/20
  • Core/Insulation Crimp: J/J
  • Release Tool/Test Probe: 15315247/J-35616-64B (L-BU)

Body Control Module (BCM) X3

Pin

Wire

Circuit

Function

1

0.8 BK/WH

351

Ground

2

0.8 OG

1240

Battery Positive Voltage

3

0.8 OG

1140

Battery Positive Voltage

4

--

--

Not Used

5

0.8 BK/WH

351

Ground

6

--

--

Not Used

7

0.35 GY

728

Security Indicator Control (UA2)

8

0.5 TN/WH

2500

High Speed GMLAN Serial Data Bus+

9

0.5 TN

2501

High Speed GMLAN Serial Data Bus-

10

0.35 D-GN

5060

Low Speed GMLAN Serial Data

11

0.35 D-GN

44

Instrument Panel Lamps Dimmer Switch Signal

12

0.35 RD/WH

812

12-Volt Reference or IP Dimming Voltage Reference

13

0.35 L-GN

526

Stop Lamp Switch Signal

14

0.35 BK

552

Low Reference

15

0.35 GY

598

5-Volt Reference 1

16

0.5 TN/WH

2500

High Speed GMLAN Serial Data Bus+

17

0.5 TN

2501

High Speed GMLAN Serial Data Bus-

18

0.35 YE

6817

LED Backlight Dimming Control

19

0.35 L-BU

5986

Serial Data Communication Enable

20-21

--

--

Not Used

22

0.35 GN/WH

7158

Cruise Control Indicator Dimming Signal

23-24

--

--

Not Used

25

0.35 WH

901

IC 2 Control (TSQ)

Body Control Module (BCM) X4


Object Number: 1664499  Size: CH

Connector Part Information

  • OEM: 15482792
  • Service: 88988841
  • Description: 25-Way F HIT Series (BK)

Terminal Part Information

  • Pins: 6, 7, 9-11, 14-21, 23, 25
  • Terminal/Tray: SNAC3-A021T-M0.64/20
  • Core/Insulation Crimp: J/J
  • Release Tool/Test Probe: 15315247/J-35616-64B (L-BU)
  • Pins: 1-5
  • Terminal/Tray: SNAC-A061T-M2.8/20
  • Core/Insulation Crimp: Pins 1, 2, 4, 5 - E/A
  • Core/Insulation Crimp: Pins 3 - C/A
  • Release Tool/Test Probe: 15315247/J-35616-4A (PU)

Body Control Module (BCM) X4

Pin

Wire

Circuit

Function

1

0.8 OG

1540

Battery Positive Voltage

2

0.8 OG

1340

Battery Positive Voltage

3

1 OG

1640

Battery Positive Voltage

4

0.8 OG

1440

Battery Positive Voltage

5

0.8 D-BU/WH

1315

Right Front Turn Signal Lamp Supply Voltage/Right Turn Signal Indicator Lamp Supply Voltage

6

0.35 D-GN

6134

Local Interconnect Network 3

7

0.35 YE

196

Windshield Wiper Motor Park Switch Signal

8

--

--

Not Used

9

0.35 BK/WH

451

Ground

10

0.35 OG

140

Battery Positive Voltage

11

0.35 D-GN/WH

1317

Fog Lamp Relay Control/Front Fog Lamp Relay and Indicator Control (T96)

12-13

--

--

Not Used

14

0.35 L-GN

482

Windshield Outside Moisture Sensor Signal 2 (CE1)

15

0.35 OG

2268

Windshield Washer Relay Control

16

0.35 BK/WH

1969

Headlamp Relay Control/Headlamp High Beam Relay Control

17

0.35 PU

5531

Hood Closed Switch Signal (UHA)

18

0.35 BK

481

Windshield Outside Moisture Sensor Signal 1 (CE1)

19

0.35 D-BU

5985

Accessory Wakeup Serial Data

20

0.35 YE

1977

Rear Fog Lamp Relay Control/Rear Fog Lamp Relay and Indicator Control (T79)

21

0.35 PK

139

Ignition 1 Voltage

22

--

--

Not Used

23

0.35 D-BU

545

DRL Supply Voltage (TT6/TT7/TT8)

24

--

--

Not Used

25

0.35 WH

1080

Park Lamp Relay Control (T90)

Body Control Module (BCM) X5


Object Number: 1664500  Size: CH

Connector Part Information

  • OEM: 15480179
  • Service: 88988837
  • Description: 25-Way F HIT Series (BN)

Terminal Part Information

  • Pins: 1, 2, 4, 5
  • Terminal/Tray: SNAC-A061T-M2.8/20
  • Core/Insulation Crimp: E/A
  • Release Tool/Test Probe: 15315247/J-35616-4A (PU)
  • Pins: 6-11, 13-18, 20, 21, 23, 24
  • Terminal/Tray: SNAC3-A021T-M0.64/20
  • Core/Insulation Crimp: J/J
  • Release Tool/Test Probe: 15315247/J-35616-64B (L-BU)

Body Control Module (BCM) X5

Pin

Wire

Circuit

Function

1

0.8 YE

18

Left Rear Stop/Turn Lamp Supply Voltage (without T90)

0.8 L-BU

14

Left Turn Signal Lamps Supply Voltage (T90)

2

0.8 D-BU

15

Right Turn Signal Lamps Supply Voltage (T90)

0.8 D-GN

19

Right Rear Stop/Turn Lamp Supply Voltage (without T90)

3

--

--

Not Used

4

0.8 L-BU/WH

1314

Left Front Turn Signal Lamp Supply Voltage/Left Turn Signal Indicator Lamp Supply Voltage

5

0.8 L-BU

1320

CHMSL Supply Voltage/Stop Lamp Supply Voltage

6

0.35 WH

17

Stop Lamp Switch Signal or Stop Lamp Supply Voltage

7

0.35 WH

2282

Headlamp Washer Relay Control (CE4)

8

0.35 PK

5076

Current Sensor Supply Voltage

9

0.35 WH

5075

Current Sensor Signal

10

0.35 BN

5077

Current Sensor Low Reference

11

0.35 D-GN

801

RAP Fuse Supply Voltage (C3U/CE1)

12

--

--

Not Used

13

0.35 OG

300

Ignition 3 Voltage

14

0.35 YE

43

Accessory Voltage

15

0.35 PK/BK

109

Hood Ajar Switch Signal (UHA/UA2)

16

0.5 OG/BK

233

Park Brake Switch Signal

17

0.35 YE

5356

Left Tail Lamp Outage Detection Signal

18

0.35 BK

28

Horn Relay Control

19

--

--

Not Used

20

0.35 GY

91

Windshield Wiper Switch Signal 2

21

0.35 BK

860

Front Windshield Wiper Switch High Signal

22

--

--

Not Used

23

0.35 PK/WH

1970

Headlamp Relay Control

24

0.35 D-BU

45

Park Lamp Supply Voltage/Marker Lamp Supply Voltage

25

--

--

Not Used

Body Control Module (BCM) X6


Object Number: 1664502  Size: CH

Connector Part Information

  • OEM: 15482793
  • Service: 88988842
  • Description: 25-Way F HIT Series (PK)

Terminal Part Information

  • Pins: 1
  • Terminal/Tray: See Terminal Repair Kit
  • Core/Insulation Crimp: See Terminal Repair Kit
  • Release Tool/Test Probe: See Terminal Repair Kit
  • Pins: 2, 3
  • Terminal/Tray: SNAC-A061T-M2.8/20
  • Core/Insulation Crimp: E/A
  • Release Tool/Test Probe: 15315247/J-35616-4A (PU)
  • Pins: 12, 14-16
  • Terminal/Tray: SNAC3-A021T-M0.64/20
  • Core/Insulation Crimp: J/J
  • Release Tool/Test Probe: 15315247/J-35616-64B (L-BU)

Body Control Module (BCM) X6

Pin

Wire

Circuit

Function

1

0.8 GY/BK

690

Courtesy Lamp Relay Control

2

0.8 L-GN

24

Backup Lamp Supply Voltage

3

0.8 GY

8

I/P Dimmer Switch Signal (MYB)

4-11

--

--

Not Used

12

0.35 PK/BK

1303

Liftgate Ajar Switch Signal

13

--

--

Not Used

14

0.35 L-GN/BK

748

Right Rear Door Ajar Switch Signal

15

0.35 L-BU/BK

747

Left Rear Door Ajar Switch Signal

16

0.35 D-BU/WH

1179

Left Rear Door Open Switch Signal

17-25

--

--

Not Used

Body Control Module (BCM) X7


Object Number: 1664505  Size: CH

Connector Part Information

  • OEM: 15466053
  • Service: 88988806
  • Description: 28-Way F HIT Series (GY)

Terminal Part Information

  • Pins: 2, 6-10, 12, 15, 18, 19, 21, 22, 26-28
  • Terminal/Tray: SNAC3-A021T-M0.64/20
  • Core/Insulation Crimp: J/J
  • Release Tool/Test Probe: 15315247/J-35616-64B (L-BU)

Body Control Module (BCM) X7

Pin

Wire

Circuit

Function

1

--

--

Not Used

2

0.35 TN

6188

Lift Glass/Trunk Motor Release Control

3-5

--

--

Not Used

6

0.35 PK/BK

79

Fuel Door Release Solenoid Control (NO8)

7

0.35 L-GN

1391

Driver Door Unlock Relay Control

8

0.35 PU

544

Headlamp Low Beam Supply Voltage

9

0.35 L-BU

5921

Driver Door Unlock Relay Control

10

0.35 L-BU

187

Rear Fog Lamp Switch Signal (T79)

11

--

--

Not Used

12

0.35 PU

5059

Intrusion Sensor Alarm On Signal (UA2)

13-14

--

--

Not Used

15

0.35 YE

5058

Intrusion Sensor Armed Signal (UA2)

16-17

--

--

Not Used

18

0.35 L-GN

170

Power Window Master Switch Right Rear Up Signal

19

0.35 PU

169

Power Window Master Switch Left Rear Down Signal

20

--

--

Not Used

21

0.35 D-BU

1307

Power Window Master Switch Lockout Signal

22

0.35 D-GN

5060

Low Speed GMLAN Serial Data

23-25

--

--

Not Used

26

0.35 PU

171

Power Window Master Switch Right Rear Down Signal

27

0.35 L-BU/WH

280

Power Window Master Switch Lockout Right Rear Signal

28

0.35 D-GN

168

Power Window Master Switch Left Rear Up Signal

Brake Booster Pump - Auxiliary (LLT)


Object Number: 1826248  Size: CH

Connector Part Information

  • OEM: 7282-5575-10
  • Service: 19115602
  • Description: 2-Way M 2.8 Series Sealed (D-GY)

Terminal Part Information

  • Pins: 1, 2
  • Terminal/Tray: 7114-4151-02/9
  • Core/Insulation Crimp: C/1
  • Release Tool/Test Probe: 12094430/J-35616-5 (PU)

Brake Booster Pump - Auxiliary (LLT)

Pin

Wire

Circuit

Function

1

1 OG

1470

Brake Booster Pump Motor Supply Voltage

2

1 BK

1550

Ground

Brake Booster Pump Relay (LLT)


Object Number: 535919  Size: CH

Connector Part Information

  • OEM: 12110539
  • Service: See Catalog
  • Description: 5-Way F Metri-Pack 280 Series, Flexlock (BK)

Terminal Part Information

  • Pins: 30, 86, 87
  • Terminal/Tray: 12110845/4
  • Core/Insulation Crimp: See Terminal Repair Kit
  • Release Tool/Test Probe: 15315247/J-35616-4A (PU)
  • Pins: 85
  • Terminal/Tray: 12110847/4
  • Core/Insulation Crimp: E/5
  • Release Tool/Test Probe: 15315247/J-35616-4A (PU)

Brake Booster Pump Relay (LLT)

Pin

Wire

Circuit

Function

30

1 OG

240

Battery Positive Voltage

85

0.35 BN

7448

Vacuum Assist Pump Relay Coil Control

86

1 OG

240

Battery Positive Voltage

87

1 OG

1470

Brake Booster Pump Motor Supply Voltage

87A

--

--

Not Used

Brake Fluid Level Switch


Object Number: 655692  Size: CH

Connector Part Information

  • OEM: 12162195
  • Service: See Catalog
  • Description: 2-Way F Metri-Pack 150.2 Series Sealed (BK)

Terminal Part Information

  • Terminal/Tray: 12124075/5
  • Core/Insulation Crimp: E/C
  • Release Tool/Test Probe: 12180559-1/J-35616-14 (GN)

Brake Fluid Level Switch

Pin

Wire

Circuit

Function

A

0.5 BK/WH

651

Ground

B

0.5 TN/WH

33

Brake Warning Indicator Control

Brake Pedal Position Sensor


Object Number: 1243663  Size: CH

Connector Part Information

  • OEM: 15332132
  • Service: 88953364
  • Description: 3-Way F GT 150 Series (BK)

Terminal Part Information

  • Terminal/Tray: 12191812/19
  • Core/Insulation Crimp: E/C
  • Release Tool/Test Probe: 15315247/J-35616-2A (GY)

Brake Pedal Position Sensor

Pin

Wire

Circuit

Function

A

0.35 BK

552

Low Reference

B

0.35 L-GN

526

Stop Lamp Switch Signal

C

0.35 GY

598

5-Volt Reference 1

Camshaft Position (CMP) Actuator Solenoid Valve - Bank 1 Exhaust


Object Number: 1331453  Size: CH

Connector Part Information

  • OEM: 7283752630
  • Service: See Catalog
  • Description: 2-Way F Sealed (BK)

Terminal Part Information

  • Terminal/Tray: 7116-4026/11
  • Core/Insulation Crimp: E/1
  • Release Tool/Test Probe: 15313892/J-35616-18 (BK)

Camshaft Position (CMP) Actuator Solenoid Valve - Bank 1 Exhaust

Pin

Wire

Circuit

Function

1

0.8 PK/BK

5293

Powertrain Main Relay Fused Supply

2

0.75 L-GN

5282

Camshaft Phaser Exhaust Solenoid

Camshaft Position (CMP) Actuator Solenoid Valve - Bank 2 Exhaust


Object Number: 1331453  Size: CH

Connector Part Information

  • OEM: 7283752630
  • Service: See Catalog
  • Description: 2-Way F Sealed (BK)

Terminal Part Information

  • Terminal/Tray: 7116-4026/11
  • Core/Insulation Crimp: E/1
  • Release Tool/Test Probe: 15313892/J-35616-18 (BK)

Camshaft Position (CMP) Actuator Solenoid Valve - Bank 2 Exhaust

Pin

Wire

Circuit

Function

1

0.8 PK/BK

5293

Powertrain Main Relay Fused Supply

2

0.75 WH/BK

5283

Camshaft Phaser Exhaust Solenoid

Camshaft Position (CMP) Actuator Solenoid Valve - Bank 1 Intake


Object Number: 1331453  Size: CH

Connector Part Information

  • OEM: 7283752630
  • Service: See Catalog
  • Description: 2-Way F Sealed (BK)

Terminal Part Information

  • Terminal/Tray: 7116-4026/11
  • Core/Insulation Crimp: E/1
  • Release Tool/Test Probe: 15313892/J-35616-18 (BK)

Camshaft Position (CMP) Actuator Solenoid Valve - Bank 1 Intake

Pin

Wire

Circuit

Function

1

0.8 PK/BK

5293

Powertrain Main Relay Fused Supply

2

0.75 PU

5284

Camshaft Phaser Intake Solenoid

Camshaft Position (CMP) Actuator Solenoid Valve - Bank 2 Intake


Object Number: 1331453  Size: CH

Connector Part Information

  • OEM: 7283752630
  • Service: See Catalog
  • Description: 2-Way F Sealed (BK)

Terminal Part Information

  • Terminal/Tray: 7116-4026/11
  • Core/Insulation Crimp: E/1
  • Release Tool/Test Probe: 15313892/J-35616-18 (BK)

Camshaft Position (CMP) Actuator Solenoid Valve - Bank 2 Intake

Pin

Wire

Circuit

Function

1

0.8 PK/BK

5293

Powertrain Main Relay Fused Supply

2

0.75 OG/BK

5272

Camshaft Phaser Intake Solenoid

Camshaft Position (CMP) Sensor - Bank 1 Exhaust


Object Number: 1331443  Size: CH

Connector Part Information

  • OEM: 1-928-403-968
  • Service: See Catalog
  • Description: 3-Way F Sealed (BK)

Terminal Part Information

  • Terminal/Tray: 1928498056/8
  • Core/Insulation Crimp: E/1
  • Release Tool/Test Probe: J-38125-561/J-35616-35 (VT)

Camshaft Position (CMP) Sensor - Bank 1 Exhaust

Pin

Wire

Circuit

Function

1

0.5 BK

552

Low Reference

2

0.5 D-GN

5273

Camshaft Position Exhaust Sensor

3

0.5 GY

705

5-Volt Reference 2

Camshaft Position (CMP) Sensor - Bank 2 Exhaust


Object Number: 1331443  Size: CH

Connector Part Information

  • OEM: 1-928-403-968
  • Service: See Catalog
  • Description: 3-Way F Sealed (BK)

Terminal Part Information

  • Terminal/Tray: 1928498056/8
  • Core/Insulation Crimp: E/1
  • Release Tool/Test Probe: J-38125-561/J-35616-35 (VT)

Camshaft Position (CMP) Sensor - Bank 2 Exhaust

Pin

Wire

Circuit

Function

1

0.5 BK

552

Low Reference

2

0.5 PU

5274

Camshaft Position Exhaust Sensor

3

0.5 GY

705

5-Volt Reference 2

Camshaft Position (CMP) Sensor - Bank 1 Intake


Object Number: 1331443  Size: CH

Connector Part Information

  • OEM: 1-928-403-968
  • Service: See Catalog
  • Description: 3-Way F Sealed (BK)

Terminal Part Information

  • Terminal/Tray: 1928498056/8
  • Core/Insulation Crimp: E/1
  • Release Tool/Test Probe: J-38125-561/J-35616-35 (VT)

Camshaft Position (CMP) Sensor - Bank 1 Intake

Pin

Wire

Circuit

Function

1

0.5 BK

552

Low Reference

2

0.5 OG

5275

Camshaft Position Intake Sensor

3

0.5 GY

705

5-Volt Reference 2

Camshaft Position (CMP) Sensor - Bank 2 Intake


Object Number: 1331443  Size: CH

Connector Part Information

  • OEM: 1-928-403-968
  • Service: See Catalog
  • Description: 3-Way F Sealed (BK)

Terminal Part Information

  • Terminal/Tray: 1928498056/8
  • Core/Insulation Crimp: E/1
  • Release Tool/Test Probe: J-38125-561/J-35616-35 (VT)

Camshaft Position (CMP) Sensor - Bank 2 Intake

Pin

Wire

Circuit

Function

1

0.5 BK

552

Low Reference

2

0.5 YE

5276

Camshaft Position Intake Sensor

3

0.5 GY

705

5-Volt Reference 2

Cellular/Navigation Microphone (UE1/WXS)


Object Number: 35441  Size: CH

Connector Part Information

  • OEM: 12047663
  • Service: 12058709
  • Description: 2-Way M Metri-Pack 150 Series (BK)

Terminal Part Information

  • Terminal/Tray: See Terminal Repair Kit
  • Core/Insulation Crimp: See Terminal Repair Kit
  • Release Tool/Test Probe: See Terminal Repair Kit

Cellular/Navigation Microphone (UE1/WXS)

Pin

Wire

Circuit

Function

A

0.35 BARE

514

Ground

B

0.35 GY

655

Cellular Microphone Signal

Center High Mounted Stop Lamp (CHMSL)


Object Number: 816551  Size: CH

Connector Part Information

  • OEM: 12059252
  • Service: See Catalog
  • Description: 2-Way M Metri-Pack 150 Series (RD)

Terminal Part Information

  • Terminal/Tray: 12047581/2
  • Core/Insulation Crimp: E/C
  • Release Tool/Test Probe: 12094429/J-35616-3 (GY)

Center High Mounted Stop Lamp (CHMSL)

Pin

Wire

Circuit

Function

A

0.5 L-BU

1320

CHMSL Supply Voltage

B

0.5 BK

1050

Ground

Cigar Lighter (DT4)/Accessory Power Outlet (without DT4)


Object Number: 362748  Size: CH

Connector Part Information

  • OEM: 12176836
  • Service: See Catalog
  • Description: 3-Way F Metri-Pack 280 Series (GY)

Terminal Part Information

  • Pins: A, C
  • Terminal/Tray: 12110844/4
  • Core/Insulation Crimp: C/A
  • Release Tool/Test Probe: 15315247/J-35616-4A (PU)

Cigar Lighter (DT4)/Accessory Power Outlet (without DT4)

Pin

Wire

Circuit

Function

A

1 OG

2040

Battery Positive Voltage

B

--

--

Not Used

C

1 BK

350

Ground

Clutch Pedal Position (CPP) Sensor (MV7)


Object Number: 1243663  Size: CH

Connector Part Information

  • OEM: 15332132
  • Service: 88953364
  • Description: 3-Way F GT 150 Series (BK)

Terminal Part Information

  • Terminal/Tray: 12191812/19
  • Core/Insulation Crimp: E/C
  • Release Tool/Test Probe: 15315247/J-35616-2A (GY)

Clutch Pedal Position (CPP) Sensor (MV7)

Pin

Wire

Circuit

Function

A

0.35 GY/BN

7345

Manual Transmission Clutch Position Sensor Low Reference

B

0.35 TN

6338

Manual Transmission Clutch Position Sensor Signal Position

C

0.35 BU/YE

7346

Manual Transmission Clutch Position Sensor Volt Reference 1

Coolant Pump - Auxiliary (LLT)


Object Number: 1405759  Size: CH

Connector Part Information

  • OEM: 12131678
  • Service: 89046833
  • Description: 2-Way F Mini Timer Series Sealed (BK)

Terminal Part Information

  • Terminal/Tray: 60012941/21
  • Core/Insulation Crimp: See Terminal Repair Kit
  • Release Tool/Test Probe: 12122378/J-35616-4A (PU)

Coolant Pump - Auxiliary (LLT)

Pin

Wire

Circuit

Function

1

0.5 BK

1550

Ground

2

0.5 OG

740

Battery Positive Voltage

Courtesy Lamp - Left Front Door


Object Number: 82383  Size: CH

Connector Part Information

  • OEM: 12047662
  • Service: 12085535
  • Description: 2-Way F Metri-Pack 150 Series (BK)

Terminal Part Information

  • Terminal/Tray: 12064971/5
  • Core/Insulation Crimp: E/C
  • Release Tool/Test Probe: 12094429/J-35616-14 (GN)

Courtesy Lamp - Left Front Door

Pin

Wire

Circuit

Function

A

0.5 BN

6573

Driver Door Courtesy Lamp Control High

B

0.5 L-BU/WH

6576

Driver Door Courtesy Lamp Control Low

Courtesy Lamp - Left Rear Door


Object Number: 82383  Size: CH

Connector Part Information

  • OEM: 12047662
  • Service: 12085535
  • Description: 2-Way F Metri-Pack 150 Series (BK)

Terminal Part Information

  • Terminal/Tray: 12064971/5
  • Core/Insulation Crimp: E/C
  • Release Tool/Test Probe: 12094429/J-35616-14 (GN)

Courtesy Lamp - Left Rear Door

Pin

Wire

Circuit

Function

A

0.35 GY/BK

690

Courtesy Lamp Relay Control

B

0.35 BK

350

Ground

Courtesy Lamp - Rear Compartment


Object Number: 333035  Size: CH

Connector Part Information

  • OEM: 12047781
  • Service: See Catalog
  • Description: 3-Way F Metri-Pack 150 Series (BK)

Terminal Part Information

  • Pins: B, C
  • Terminal/Tray: 12064971/5
  • Core/Insulation Crimp: E/C
  • Release Tool/Test Probe: 12094429/J-35616-14 (GN)

Courtesy Lamp - Rear Compartment

Pin

Wire

Circuit

Function

A

--

--

Not Used

B

0.5 RD/BK

744

Rear Compartment Lid Ajar Switch Signal

C

0.5 OG

1732

Courtesy Lamps Supply Voltage

Courtesy Lamp - Right Front Door


Object Number: 82383  Size: CH

Connector Part Information

  • OEM: 12047662
  • Service: 12085535
  • Description: 2-Way F Metri-Pack 150 Series (BK)

Terminal Part Information

  • Terminal/Tray: 12064971/5
  • Core/Insulation Crimp: E/C
  • Release Tool/Test Probe: 12094429/J-35616-14 (GN)

Courtesy Lamp - Right Front Door

Pin

Wire

Circuit

Function

A

0.5 BN/WH

6574

Passenger Door Courtesy Lamp Control High

B

0.5 L-BU

6575

Passenger Door Courtesy Lamp Control Low

Courtesy Lamp - Right Rear Door


Object Number: 82383  Size: CH

Connector Part Information

  • OEM: 12047662
  • Service: 12085535
  • Description: 2-Way F Metri-Pack 150 Series (BK)

Terminal Part Information

  • Terminal/Tray: 12064971/5
  • Core/Insulation Crimp: E/C
  • Release Tool/Test Probe: 12094429/J-35616-14 (GN)

Courtesy Lamp - Right Rear Door

Pin

Wire

Circuit

Function

A

0.35 GY/BK

690

Courtesy Lamp Relay Control

B

0.35 BK

450

Ground

Courtesy/Reading Lamp - Left Front


Object Number: 333035  Size: CH

Connector Part Information

  • OEM: 12047781
  • Service: See Catalog
  • Description: 3-Way F (BK)

Terminal Part Information

  • Terminal/Tray: See Terminal Repair Kit
  • Core/Insulation Crimp: See Terminal Repair Kit
  • Release Tool/Test Probe: See Terminal Repair Kit

Courtesy/Reading Lamp - Left Front

Pin

Wire

Circuit

Function

A

0.5 GY/BK

690

Courtesy Lamp Low Control/Front Interior Lamp Control/Rear Courtesy Lamp Relay Control

B

0.5 BK

1050

Ground

C

0.5 OG

1732

Courtesy Lamps Supply Voltage

Courtesy/Reading Lamp - Left Rear


Object Number: 333035  Size: CH

Connector Part Information

  • OEM: 12047781
  • Service: See Catalog
  • Description: 3-Way F (BK)

Terminal Part Information

  • Terminal/Tray: See Terminal Repair Kit
  • Core/Insulation Crimp: See Terminal Repair Kit
  • Release Tool/Test Probe: See Terminal Repair Kit

Courtesy/Reading Lamp - Left Rear

Pin

Wire

Circuit

Function

A

0.5 GY/BK

690

Courtesy Lamp Low Control/Front Interior Lamp Control/Rear Courtesy Lamp Relay Control

B

0.5 BK

1050

Ground

C

0.5 OG

1732

Courtesy Lamps Supply Voltage

Courtesy/Reading Lamp - Right Front


Object Number: 333035  Size: CH

Connector Part Information

  • OEM: 12047781
  • Service: See Catalog
  • Description: 3-Way F (BK)

Terminal Part Information

  • Terminal/Tray: See Terminal Repair Kit
  • Core/Insulation Crimp: See Terminal Repair Kit
  • Release Tool/Test Probe: See Terminal Repair Kit

Courtesy/Reading Lamp - Right Front

Pin

Wire

Circuit

Function

A

0.5 GY/BK

690

Courtesy Lamp Low Control/Front Interior Lamp Control/Rear Courtesy Lamp Relay Control

B

0.5 BK

1050

Ground

C

0.5 OG

1732

Courtesy Lamps Supply Voltage

Courtesy/Reading Lamp - Right Rear


Object Number: 333035  Size: CH

Connector Part Information

  • OEM: 12047781
  • Service: See Catalog
  • Description: 3-Way F (BK)

Terminal Part Information

  • Terminal/Tray: See Terminal Repair Kit
  • Core/Insulation Crimp: See Terminal Repair Kit
  • Release Tool/Test Probe: See Terminal Repair Kit

Courtesy/Reading Lamp - Right Rear

Pin

Wire

Circuit

Function

A

0.5 GY/BK

690

Courtesy Lamp Low Control/Front Interior Lamp Control/Rear Courtesy Lamp Relay Control

B

0.5 BK

1050

Ground

C

0.5 OG

1732

Courtesy Lamps Supply Voltage

Crankshaft Position (CKP) Sensor


Object Number: 1664596  Size: CH

Connector Part Information

  • OEM: 31403-3710
  • Service: 88988337
  • Description: 3-Way F 064 Series Sealed (BK)

Terminal Part Information

  • Terminal/Tray: 33468-0003/23
  • Core/Insulation Crimp: See Terminal Repair Kit
  • Release Tool/Test Probe: J-38125-213/J-35616-64B (L-BU)

Crankshaft Position (CKP) Sensor

Pin

Wire

Circuit

Function

1

0.5 BK

452

Low Reference

2

0.5 YE

573

CKP Sensor Signal

3

0.5 GY

605

5-Volt Reference 3

Data Link Connector (DLC)


Object Number: 68793  Size: CH

Connector Part Information

  • OEM: 12110250
  • Service: See Catalog
  • Description: 16-Way F Metri-Pack 150 Series (BK)

Terminal Part Information

  • Pins: 1, 4-6, 14, 16
  • Terminal/Tray: 12129484/19
  • Core/Insulation Crimp: E/C
  • Release Tool/Test Probe: 12094429/J-35616-14 (GN)

Data Link Connector (DLC)

Pin

Wire

Circuit

Function

1

0.35 D-GN

5060

Low Speed GMLAN Serial Data

2-3

--

--

Not Used

4

0.5 BK

350

Ground

5

0.35 BK/WH

351

Ground

6

0.35 TN/WH

2500

High Speed GMLAN Serial Data Bus+

7-13

--

--

Not Used

14

0.35 TN

2501

High Speed GMLAN Serial Data Bus-

15

--

--

Not Used

16

0.35 OG

540

Battery Positive Voltage

Data Link Resistor (UE1)


Object Number: 523630  Size: CH

Connector Part Information

  • OEM: 15326801
  • Service: See Catalog
  • Description: 2-Way F GT 150 Series (BK)

Terminal Part Information

  • Pins: A, B
  • Terminal/Tray: 7116-4720-02/14
  • Core/Insulation Crimp: H/H
  • Release Tool/Test Probe: 15315247/J-35616-64B (L-BU)
  • Pins: A, B
  • Terminal/Tray: 12191819/8
  • Core/Insulation Crimp: H/H
  • Release Tool/Test Probe: 15315247/J-35616-2A (GY)

Data Link Resistor (UE1)

Pin

Wire

Circuit

Function

A

0.35 TN/WH

2500

High Speed GMLAN Serial Data Bus+

B

0.35 TN

2501

High Speed GMLAN Serial Data Bus-

Data Link Resistor Noise Filter (UE1)


Object Number: 861682  Size: CH

Connector Part Information

  • OEM: 7283-5830
  • Service: 89046839
  • Description: 5-Way F Unsealed (NA)

Terminal Part Information

  • Pins: 1, 2, 4, 5
  • Terminal/Tray: 7116-4231-08/14
  • Core/Insulation Crimp: K/K
  • Release Tool/Test Probe: 15315247/J-35616-64B (L-BU)

Data Link Resistor Noise Filter (UE1)

Pin

Wire

Circuit

Function

1

0.35 TN/WH

2500

High Speed GMLAN Serial Data Bus+

2

0.35 TN

2501

High Speed GMLAN Serial Data Bus-

3

--

--

Not Used

4

0.35 TN/WH

2500

High Speed GMLAN Serial Data Bus+

5

0.35 TN

2501

High Speed GMLAN Serial Data Bus-

Daytime Running Lamp (DRL) - Left (TT6/TT7/TT8)


Object Number: 1711019  Size: CH

Connector Part Information

  • OEM: 09441733
  • Service: See Catalog
  • Description: 2-Way F (GY)

Terminal Part Information

  • Terminal/Tray: See Terminal Repair Kit
  • Core/Insulation Crimp: See Terminal Repair Kit
  • Release Tool/Test Probe: See Terminal Repair Kit

Daytime Running Lamp (DRL) - Left (TT6/TT7/TT8)

Pin

Wire

Circuit

Function

A

0.5 BK

5364

Left DRL/Turn Supply Voltage

B

0.5 BK

150

Ground

Daytime Running Lamp (DRL) - Right (TT6/TT7/TT8)


Object Number: 1711019  Size: CH

Connector Part Information

  • OEM: 09441733
  • Service: See Catalog
  • Description: 2-Way F (GY)

Terminal Part Information

  • Terminal/Tray: See Terminal Repair Kit
  • Core/Insulation Crimp: See Terminal Repair Kit
  • Release Tool/Test Probe: See Terminal Repair Kit

Daytime Running Lamp (DRL) - Right (TT6/TT7/TT8)

Pin

Wire

Circuit

Function

A

0.5 BK

5365

Right DRL/Turn Supply Voltage

B

0.5 BK

250

Ground

Door Handle Switch - Driver


Object Number: 646396  Size: CH

Connector Part Information

  • OEM: 15326833
  • Service: See Catalog
  • Description: 6-Way F Sealed (BK)

Terminal Part Information

  • Terminal/Tray: See Terminal Repair Kit
  • Core/Insulation Crimp: See Terminal Repair Kit
  • Release Tool/Test Probe: See Terminal Repair Kit

Door Handle Switch - Driver

Pin

Wire

Circuit

Function

A

0.35 PK

5709

Keyless Entry Antenna - Signal (UHA/UHF)

B

0.35 PK/BK

5713

Keyless Entry Antenna - Low Reference (UHA/UHF)

C

0.35 BK/WH

351

Ground

D

0.35 BN

5881

Left Front Door Handle Switch Signal

E

0.35 D-BU

5882

Left Front Door Handle Switch Signal

F

0.35 BK/WH

351

Ground

Door Handle Switch - Passenger


Object Number: 646396  Size: CH

Connector Part Information

  • OEM: 15326833
  • Service: See Catalog
  • Description: 6-Way F Sealed (BK)

Terminal Part Information

  • Terminal/Tray: See Terminal Repair Kit
  • Core/Insulation Crimp: See Terminal Repair Kit
  • Release Tool/Test Probe: See Terminal Repair Kit

Door Handle Switch - Passenger

Pin

Wire

Circuit

Function

A

0.35 YE

5710

Keyless Entry Antenna - Signal (UHA/UHF)

B

0.35 YE/BK

5714

Keyless Entry Antenna - Low Reference (UHA/UHF)

C

0.35 BK/WH

451

Ground

D

0.35 GY

5878

Right Front Door Handle Switch Signal

E

0.35 PK

5879

Right Front Door Handle Switch Signal

F

0.35 BK/WH

451

Ground

Door Latch - Driver


Object Number: 845631  Size: CH

Connector Part Information

  • OEM: 6-1355688-1
  • Service: 88952463
  • Description: 10-Way F Sealed (BK)

Terminal Part Information

  • Terminal/Tray: 4-969005-1/16
  • Core/Insulation Crimp: E/1
  • Release Tool/Test Probe: J-38125-560/J-35616-33 (YE)

Door Latch - Driver

Pin

Wire

Circuit

Function

1

0.35 GY

5133

Door Lock Actuator Deadbolt Control (UA2)

2

0.35 TN

294

Door Lock Actuator Unlock Control (UA2)

3

0.35 TN

694

Door Lock Actuator Unlock Control

4

0.35 L-GN/BK

5703

Door Unlatch Motor Control

5

--

--

Not Used

6

0.35 GY/BK

745

Door Ajar Switch Signal

7

0.35 TN

126

Door Open Switch Signal

8

0.35 BK

350

Ground

9

0.35 L-GN

262

Door Key Switch Signal

10

--

--

Not Used

Door Latch - Passenger


Object Number: 845631  Size: CH

Connector Part Information

  • OEM: 6-1355688-1
  • Service: 88952463
  • Description: 10-Way F Sealed (BK)

Terminal Part Information

  • Terminal/Tray: 4-969005-1/16
  • Core/Insulation Crimp: E/1
  • Release Tool/Test Probe: J-38125-560/J-35616-33 (YE)

Door Latch - Passenger

Pin

Wire

Circuit

Function

1

0.35 BK/WH

746

Door Ajar Switch Signal

2

0.35 L-GN

1177

Door Open Switch Signal

3

0.35 BK

350

Ground

4-5

--

--

Not Used

6

0.35 GY

5133

Door Lock Actuator Deadbolt Control (UA2)

7

0.35 TN

294

Door Lock Actuator Unlock Control (UA2)

8

0.35 TN

294

Door Lock Actuator Unlock Control

9

0.35 D-BU

5876

Door Latch Enable Control

10

--

--

Not Used

Door Latch - Left Rear


Object Number: 812596  Size: CH

Connector Part Information

  • OEM: 6-1355683-1
  • Service: See Catalog
  • Description: 6-Way F Sealed (BK)

Terminal Part Information

  • Terminal/Tray: See Terminal Repair Kit
  • Core/Insulation Crimp: See Terminal Repair Kit
  • Release Tool/Test Probe: See Terminal Repair Kit

Door Latch - Left Rear

Pin

Wire

Circuit

Function

1

0.35 GY

5133

Door Lock Actuator Deadbolt Control (UA2)

2

0.35 TN

294

Door Lock Actuator Unlock Control

3

0.35 GY

295

Door Lock Actuator Lock Control

4

0.35 L-BU/BK

747

Door Ajar Switch Signal

5

0.35 D-BU/WH

1179

Door Open Switch Signal

6

0.35 BK

350

Ground

Door Latch - Right Rear


Object Number: 812596  Size: CH

Connector Part Information

  • OEM: 6-1355683-1
  • Service: See Catalog
  • Description: 6-Way F Sealed (BK)

Terminal Part Information

  • Terminal/Tray: See Terminal Repair Kit
  • Core/Insulation Crimp: See Terminal Repair Kit
  • Release Tool/Test Probe: See Terminal Repair Kit

Door Latch - Right Rear

Pin

Wire

Circuit

Function

1

0.35 L-GN/BK

748

Door Ajar Switch Signal

2

0.35 D-BU/WH

1179

Door Open Switch Signal

3

0.35 BK

450

Ground

4

0.35 GY

5133

Door Lock Actuator Deadbolt Control (UA2)

5

0.35 TN

294

Door Lock Actuator Unlock Control

6

0.35 GY

295

Door Lock Actuator Lock Control

Door Lock/Window Switch - Driver X1


Object Number: 1664521  Size: CH

Connector Part Information

  • OEM: 6098-4607
  • Service: See Catalog
  • Description: 6-Way F 2.8 Series (BK)

Terminal Part Information

  • Pins: 4, 6
  • Terminal/Tray: 8100-4444/22
  • Core/Insulation Crimp: 2/A
  • Release Tool/Test Probe: 15315247/J-35616-35 (VT)

Door Lock/Window Switch - Driver X1

Pin

Wire

Circuit

Function

1-3

--

--

Not Used

4

1 OG

4240

Battery Positive Voltage

5

--

--

Not Used

6

0.8 BK

350

Ground

Door Lock/Window Switch - Driver X2


Object Number: 1664488  Size: CH

Connector Part Information

  • OEM: 15136074
  • Service: See Catalog
  • Description: 16-Way F (BN)

Terminal Part Information

  • Pins: 3, 4, 7-11, 13, 15
  • Terminal/Tray: SAITS-A03-M064
  • Core/Insulation Crimp: Pins 3, 7, 8, 10, 15 - See Terminal Repair Kit
  • Core/Insulation Crimp: Pins 4, 9, 11, 13 - P/P
  • Release Tool/Test Probe: See Terminal Repair Kit

Door Lock/Window Switch - Driver X2

Pin

Wire

Circuit

Function

1-2

--

--

Not Used

3

0.5 BN

6132

Local Interconnect Network 1

4

0.35 L-GN

262

Driver Door Key Switch Signal

5-6

--

--

Not Used

7

0.5 TN

694

Driver Door Lock Actuator Unlock Control

8

0.5 L-GN/BK

5703

Driver Door Latch Enable Control

9

0.35 D-GN

5060

Low Speed GMLAN Serial Data

10

0.5 BN

6573

Driver Door Courtesy Lamp Control High

11

0.35 TN

126

Left Front Door Open Switch Signal

12

--

--

Not Used

13

0.35 GY/BK

745

Left Front Door Ajar Switch Signal

14

--

--

Not Used

15

0.5 L-BU/WH

6576

Driver Door Courtesy Lamp Control Low

16

--

--

Not Used

Door Lock/Window Switch - Driver X3


Object Number: 1664581  Size: CH

Connector Part Information

  • OEM: 15127042
  • Service: See Catalog
  • Description: 10-Way F YESC Kaizen Series (BK)

Terminal Part Information

  • Pins: 1, 2, 6, 7
  • Terminal/Tray: SAITS-A03-M064
  • Core/Insulation Crimp: Pins 1, 2, 6 - P/P
  • Core/Insulation Crimp: Pins 7 - See Terminal Repair Kit
  • Release Tool/Test Probe: See Terminal Repair Kit

Door Lock/Window Switch - Driver X3

Pin

Wire

Circuit

Function

1

0.35 D-BU/WH

6160

Outside Left Mirror Vertical Position Control

2

0.35 D-GN/WH

6159

Outside Left Mirror Horizontal Position Control

3-5

--

--

Not Used

6

0.35 WH

7197

Outside Left Mirror Drive Motor Common

7

0.5 WH

606

Driver Mirror Heating Element Supply Voltage

8-10

--

--

Not Used

Door Lock/Window Switch - Driver X4


Object Number: 1664522  Size: CH

Connector Part Information

  • OEM: 15127039
  • Service: See Catalog
  • Description: 14-Way F (BK)

Terminal Part Information

  • Terminal/Tray: See Terminal Repair Kit
  • Core/Insulation Crimp: See Terminal Repair Kit
  • Release Tool/Test Probe: See Terminal Repair Kit

Door Lock/Window Switch - Driver X4

Pin

Wire

Circuit

Function

1-3

--

--

Not Used

4

0.35 D-BU/WH

5978

Memory Seat Switch Dimming Return

5

0.35 OG

614

Memory Seat Switch Signal

6-12

--

--

Not Used

13

0.35 BN/WH

6064

Memory Seat Switch Dimming

14

0.35 GY/BK

5979

Memory Seat Switch Exit Signal

Door Lock/Window Switch - Driver X5


Object Number: 1664581  Size: CH

Connector Part Information

  • OEM: 15127041
  • Service: See Catalog
  • Description: 10-Way F (GN)

Terminal Part Information

  • Pins: 1, 3, 7
  • Terminal/Tray: SAITS-A03-M064
  • Core/Insulation Crimp: See Terminal Repair Kit
  • Release Tool/Test Probe: See Terminal Repair Kit

Door Lock/Window Switch - Driver X5

Pin

Wire

Circuit

Function

1

0.5 PK

6190

Lift Glass/Trunk Exterior Release Signal

2

--

--

Not Used

3

0.5 BK/WH

51

Ground

4-6

--

--

Not Used

7

0.5 YE

1491

Backlight Lamps Control

8-10

--

--

Not Used

Door Lock/Window Switch - Driver X6


Object Number: 1664575  Size: CH

Connector Part Information

  • OEM: 15127038
  • Service: See Catalog
  • Description: 14-Way F (BU)

Terminal Part Information

  • Pins: 2, 4, 9
  • Terminal/Tray: SAITS-A03-M064
  • Core/Insulation Crimp: P/P
  • Release Tool/Test Probe: See Terminal Repair Kit

Door Lock/Window Switch - Driver X6

Pin

Wire

Circuit

Function

1

--

--

Not Used

2

0.35 BN

5881

Left Front Door Handle Switch Signal (UHA/UHF)

3

--

--

Not Used

4

0.35 D-BU

5882

Left Front Door Handle Switch Signal (UHA/UHF)

5-8

--

--

Not Used

9

0.35 WH

901

IC 2 Control (TSQ)

10-14

--

--

Not Used

Door Lock/Window Switch - Driver X7 (A45/DL7/D26)


Object Number: 1664543  Size: CH

Connector Part Information

  • OEM: 15127040
  • Service: See Catalog
  • Description: 10-Way F (WH)

Terminal Part Information

  • Pins: 1, 2, 4, 5, 7, 10
  • Terminal/Tray: SAITS-A03-M064
  • Core/Insulation Crimp: P/P
  • Release Tool/Test Probe: See Terminal Repair Kit

Door Lock/Window Switch - Driver X7 (A45/DL7/D26)

Pin

Wire

Circuit

Function

1

0.35 YE

190

Driver Folding Mirror Motor Extend Control (DL7/D26)

2

0.35 L-BU

191

Driver Folding Mirror Motor Retract Control (DL7/D26)

3

--

--

Not Used

4

0.35 D-GN

784

Driver Mirror Vertical Position Sensor Signal (A45)

5

0.35 GY

786

Driver Mirror Horizontal Position Sensor Signal (A45)

6

--

--

Not Used

7

0.35 D-BU

672

5-Volt Reference (A45)

8-9

--

--

Not Used

10

0.35 BN

673

Low Reference (A45)

Door Lock/Window Switch - Passenger X1


Object Number: 1664521  Size: CH

Connector Part Information

  • OEM: 6098-4607
  • Service: See Catalog
  • Description: 6-Way F 2.8 Series (BK)

Terminal Part Information

  • Pins: 4, 6
  • Terminal/Tray: 8100-4444/22
  • Core/Insulation Crimp: 2/A
  • Release Tool/Test Probe: 15315247/J-35616-35 (VT)

Door Lock/Window Switch - Passenger X1

Pin

Wire

Circuit

Function

1-3

--

--

Not Used

4

1 OG

4040

Battery Positive Voltage

5

--

--

Not Used

6

0.8 BK

450

Ground

Door Lock/Window Switch - Passenger X2


Object Number: 1664488  Size: CH

Connector Part Information

  • OEM: 15136074
  • Service: See Catalog
  • Description: 16-Way F (BN)

Terminal Part Information

  • Pins: 3, 7-11, 13, 15
  • Terminal/Tray: SAITS-A03-M064
  • Core/Insulation Crimp: Pins 3, 7, 8, 10, 15 - See Terminal Repair Kit
  • Core/Insulation Crimp: Pins 9, 11, 13 - P/P
  • Release Tool/Test Probe: See Terminal Repair Kit

Door Lock/Window Switch - Passenger X2

Pin

Wire

Circuit

Function

1-2

--

--

Not Used

3

0.5 D-BU

6133

Local Interconnect Network 2

4-6

--

--

Not Used

7

0.5 TN

294

Door Lock Actuator Unlock Control

8

0.5 D-BU

5876

Front Passenger Door Latch Enable Control

9

0.35 D-GN

5060

Low Speed GMLAN Serial Data

10

0.5 BN/WH

6574

Passenger Door Courtesy Lamp Control High

11

0.35 L-GN

1177

Right Front Door Open Switch Signal/Door Open Switch Signal

12

--

--

Not Used

13

0.35 BK/WH

746

Right Front Door Ajar Switch Signal

14

--

--

Not Used

15

0.5 L-BU

6575

Passenger Door Courtesy Lamp Control Low

16

--

--

Not Used

Door Lock/Window Switch - Passenger X3


Object Number: 1664581  Size: CH

Connector Part Information

  • OEM: 15127042
  • Service: See Catalog
  • Description: 10-Way F YESC Kaizen Series (BK)

Terminal Part Information

  • Pins: 1, 2, 6, 7
  • Terminal/Tray: SAITS-A03-M064
  • Core/Insulation Crimp: Pins 1, 2, 6 - P/P
  • Core/Insulation Crimp: Pins 7 - See Terminal Repair Kit
  • Release Tool/Test Probe: See Terminal Repair Kit

Door Lock/Window Switch - Passenger X3

Pin

Wire

Circuit

Function

1

0.35 OG/BK

6162

Outside Right Mirror Vertical Position Control

2

0.35 GY/BK

6161

Outside Right Mirror Horizontal Position Control

3-5

--

--

Not Used

6

0.35 WH

7196

Outside Right Mirror Drive Motor Common

7

0.5 PU

607

Passenger Mirror Heating Element Supply Voltage

8-10

--

--

Not Used

Door Lock/Window Switch - Passenger X6


Object Number: 1664575  Size: CH

Connector Part Information

  • OEM: 15127038
  • Service: See Catalog
  • Description: 14-Way F (BU)

Terminal Part Information

  • Pins: 2, 4, 9
  • Terminal/Tray: SAITS-A03-M064
  • Core/Insulation Crimp: P/P
  • Release Tool/Test Probe: See Terminal Repair Kit

Door Lock/Window Switch - Passenger X6

Pin

Wire

Circuit

Function

1

--

--

Not Used

2

0.35 GY

5878

Right Front Door Handle Switch Signal (UHA/UHF)

3

--

--

Not Used

4

0.35 PK

5879

Right Front Door Handle Switch Signal (UHA/UHF)

5-8

--

--

Not Used

9

0.35 WH

901

IC 2 Control (TSQ)

10-14

--

--

Not Used

Door Lock/Window Switch - Passenger X7 (A45/DL7/D26)


Object Number: 1664543  Size: CH

Connector Part Information

  • OEM: 15127040
  • Service: See Catalog
  • Description: 10-Way F (WH)

Terminal Part Information

  • Pins: 1, 2, 4, 5, 7, 10
  • Terminal/Tray: SAITS-A03-M064
  • Core/Insulation Crimp: P/P
  • Release Tool/Test Probe: See Terminal Repair Kit

Door Lock/Window Switch - Passenger X7 (A45/DL7/D26)

Pin

Wire

Circuit

Function

1

0.35 YE

5004

Passenger Folding Mirror Motor Extend Control (DL7/D26)

2

0.35 L-BU

5023

Passenger Folding Mirror Motor Retract Control (DL7/D26)

3

--

--

Not Used

4

0.35 BN

787

Passenger Mirror Vertical Position Sensor Signal (A45)

5

0.35 L-BU/BK

785

Passenger Mirror Horizontal Position Sensor Signal (A45)

6

--

--

Not Used

7

0.35 YE

674

5-Volt Reference (A45)

8-9

--

--

Not Used

10

0.35 L-GN

675

Low Reference (A45)

Driver Information Center (DIC) Switch


Object Number: 1664548  Size: CH

Connector Part Information

  • OEM: HCMPB-06-K
  • Service: 19115655
  • Description: 6-Way F HCM Series (BK)

Terminal Part Information

  • Pins: 1-3, 5, 6
  • Terminal/Tray: See Terminal Repair Kit
  • Core/Insulation Crimp: See Terminal Repair Kit
  • Release Tool/Test Probe: See Terminal Repair Kit

Driver Information Center (DIC) Switch

Pin

Wire

Circuit

Function

1

0.35 D-GN/WH

1358

DIC Switch Signal

2

0.35 BN

897

DIC Switch Low Reference

3

0.35 PK

893

DIC Select Menu Switch Signal

4

--

--

Not Used

5

0.35 YE

6817

LED Backlight Dimming Control

6

0.35 BK

350

Ground

Electronic Brake Control Module (EBCM)


Object Number: 1986146  Size: CH

Connector Part Information

  • OEM: 89047376
  • Service: 13456206
  • Description: 38-Way F Sealed (BK)

Terminal Part Information

  • Pins: 1,13
  • Terminal/Tray: 7116-4142-02/ 10 Yazaki
  • Core/Insulation Crimp: A/3
  • Release Tool/Test Probe: 12094430/J-35616-42
  • Pins: 25,38
  • Terminal/Tray:15392777/ Delphi 23
  • Core/Insulation Crimp: B/5
  • Release Tool/Test Probe: J38125-553/ J-35616-4A
  • Pins: 2-12,14-24,26-37
  • Terminal/Tray:SAITS-A03T-M064/ Yazaki 14
  • Core/Insulation Crimp: 9/9
  • Release Tool/Test Probe: J-38125-215A/ J35616-64B

Electronic Brake Control Module (EBCM)

Pin

Wire

Circuit

Function

1

5 BK

1150

Ground

2

0.5 WH

883

Right Rear Wheel Speed Sensor Low Reference

3

0.5 BN

882

Right Rear Wheel Speed Sensor Signal

4

0.5 BK

884

Left Rear Wheel Speed Sensor Signal

5

0.5 RD

885

Left Rear Wheel Speed Sensor Low Reference

6

0.5 TN

833

Right Front Wheel Speed Sensor Low Reference

7-11

--

--

Not Used

12

0.35 L-BU

5986

Serial Data Communication Enable

13

5 RD

242

Battery Positive Voltage

14

0.5 BN

1295

Variable Effort Steering Actuator Control

15-16

--

--

Not Used

17

0.5 D-GN

872

Right Front Wheel Speed Sensor Signal

18

0.35 GY

1056

Steering Wheel Position Sensor 5-Volt Reference Voltage

19

0.35 GY/BK

1337

12-Volt Reference

20

--

--

Not Used

21

0.35 PU

6432

CAN Bus Low Serial Data

22

--

--

Not Used

23

0.5 TN

2501

High Speed GMLAN Serial Data Bus-

24

0.5 TN

2501

High Speed GMLAN Serial Data Bus-

25

2 BK

1150

Ground

26

0.5 WH

1294

Variable Effort Steering Actuator Supply Voltage

27

--

--

Not Used

28

0.5 L-BU

830

Left Front Wheel Speed Sensor Signal

29

0.5 YE

873

Left Front Wheel Speed Sensor Low Reference

30-31

--

--

Not Used

32

0.35 D-GN/WH

817

Vehicle Speed Signal

33

0.35 D-BU

6433

CAN Bus High Serial Data

34-35

--

--

Not Used

36

0.5 TN/WH

2500

High Speed GMLAN Serial Data Bus+

37

0.5 TN/WH

2500

High Speed GMLAN Serial Data Bus+

38

2 RD

42

Battery Positive Voltage

Electronic Compass Module


Object Number: 1865635  Size: CH

Connector Part Information

  • OEM: AIT2PB-04A-1AK
  • Service: See Catalog
  • Description: 4-Way F AIT II Series (BK)

Terminal Part Information

  • Pins: 1-3
  • Terminal/Tray: SAITS-A03-M064
  • Core/Insulation Crimp: P/P
  • Release Tool/Test Probe: See Terminal Repair Kit

Electronic Compass Module

Pin

Wire

Circuit

Function

1

0.35 OG

300

Ignition 3 Voltage

2

0.35 BK/WH

851

Ground

3

0.35 D-GN

6134

Local Interconnect Network 3

4

--

--

Not Used

Engine Control Module (ECM) X1 (LLT)


Object Number: 1826274  Size: CH

Connector Part Information

  • OEM: 1928404781
  • Service: 19149311
  • Description: 96-Way F 1.2 Series Sealed (BK)

Terminal Part Information

  • Terminal/Tray: 1928498135/19
  • Core/Insulation Crimp: Pins 1,2, 6, 7, 9, 10, 14, 15, 18, 24, 25, 30, 33-36, 38-46, 48, 49, 55-57, 59-61, 67, 70, 72, 73, 76, 77, 79-84, 88-90, 92, 93, 96 - J/J
  • Core/Insulation Crimp: Pins 3-5, 26-29, 50-53, 74, 75 - K/K
  • Release Tool/Test Probe: J-38125-213/J-35616-64B (L-BU)

Engine Control Module (ECM) X1 (LLT)

Pin

Wire

Circuit

Function

1

0.75 L-GN

5282

Camshaft Phaser Exhaust Solenoid (1)

2

0.75 PU

5284

Camshaft Phaser Intake Solenoid (1)

3

1 PU/WH

4906

Direct Fuel Injector (DFI) High Voltage Supply Cylinder 6

4

1 PU

4806

Direct Fuel Injector (DFI) High Voltage Control Cylinder 6

5

1 YE

7301

High Pressure Fuel Pump Actuator High Control

6

0.75 D-GN/WH

428

EVAP Canister Purge Solenoid Control

7

0.5 OG

5275

Camshaft Position Intake Sensor (1)

8

--

--

Not Used

9

0.5 PU

5274

Camshaft Position Exhaust Sensor (2)

10

0.5 RD

225

Generator Turn On Signal

11-13

--

--

Not Used

14

0.35 GY

5127

After Boil Heater Relay Control

15

0.5 GY

705

5-Volt Reference 2

16-17

--

--

Not Used

18

0.35 BN

7448

Vacuum Assist Pump Relay Coil Control

19-23

--

--

Not Used

24

0.5 YE

581

TAC Motor Control - 1

25

0.8 WH/BK

5283

Camshaft Phaser Exhaust Solenoid (2)

26

1 D-GN

4803

Direct Fuel Injector (DFI) High Voltage Control Cylinder 3

27

1 D-GN/WH

4903

Direct Fuel Injector (DFI) High Voltage Supply Cylinder 3

28

1 L-GN

4805

Direct Fuel Injector (DFI) High Voltage Control Cylinder 5

29

1 L-GN/WH

4905

Direct Fuel Injector (DFI) High Voltage Supply Cylinder 5

30

0.5 GY

23

Generator Field Duty Cycle Signal

31-32

--

--

Not Used

33

0.5 YE

5276

Camshaft Position Intake Sensor (2)

34

0.5 D-GN

5273

Camshaft Position Exhaust Sensor

35

0.5 YE

573

CKP Sensor Signal

36

0.5 YE

2918

FRP Sensor Signal

37

--

--

Not Used

38

0.5 GY

598

5-Volt Reference 1

39

0.5 GY

2701

5-Volt Reference 3

40

0.5 GY

596

5-Volt Reference 1

41

0.5 BK

552

Low Reference

42

0.5 BK

808

Low Reference

43

0.5 BK

470

Low Reference

44

0.5 BK

476

Low Reference

45

0.5 GY

605

5-Volt Reference 3

46

0.5 BK

452

Low Reference

47

--

--

Not Used

48

0.5 BN

582

TAC Motor Control - 2

49

0.8 OG/BK

5272

Camshaft Phaser Intake Solenoid

50

1 L-BU

4804

Direct Fuel Injector (DFI) High Voltage Control Cylinder 4

51

1 BN

4801

Direct Fuel Injector (DFI) High Voltage Control Cylinder 1

52

1 D-BU

4802

Direct Fuel Injector (DFI) High Voltage Control Cylinder 2

53

1 D-BU/WH

4902

Direct Fuel Injector (DFI) High Voltage Supply Cylinder 2

54

--

--

Not Used

55

0.5 PU

2121

IC 1 Control

56

0.5 L-BU

2123

IC 3 Control

57

0.5 D-GN

2125

IC 5 Control

58

--

--

Not Used

59

0.5 D-BU

496

Knock Sensor Signal

60

0.5 GY

2303

Knock Sensor Signal

61

0.5 TN/WH

331

Oil Pressure Sensor Signal

62-66

--

--

Not Used

67

0.5 TN/WH

3111

HO2S Low Reference (Bank 1 Sensor 1)

68-69

--

--

Not Used

70

0.5 PU/WH

3210

HO2S Reference Voltage (Bank 2 Sensor 1)

71

--

--

Not Used

72

0.75 L-GN

3212

HO2S Heater Low Control Bank 2 Sensor 1

73

0.8 PU

7300

High Pressure Fuel Pump Actuator Low Control

74

1 L-BU/WH

4904

Direct Fuel Injector (DFI) High Voltage Supply Cylinder 4

75

1 BN/WH

4901

Direct Fuel Injector (DFI) High Voltage Supply Cylinder 1

76

0.5 PK/BK

5291

Ignition 1 Voltage

77

0.5 PK/BK

5292

Ignition 1 Voltage

78

--

--

Not Used

79

0.5 RD/WH

2122

IC 2 Control

80

0.5 D-GN/WH

2124

IC 4 Control

81

0.5 L-BU/WH

2126

IC 6 Control

82

0.5 YE

410

ECT Sensor Signal

83

0.5 GY

1716

Knock Sensor Signal

84

0.5 L-BU

1876

Knock Sensor 2 Signal

85-87

--

--

Not Used

88

0.5 BK

2752

Low Reference

89

0.5 PU

486

TP Sensor 2 Signal

90

0.5 D-GN

485

TP Sensor 1 Signal

91

--

--

Not Used

92

0.5 PU/WH

3110

HO2S Reference Voltage (Bank 1 Sensor 1)

93

0.5 TN/WH

3211

HO2S Low Reference (Bank 1 Sensor 1)

94-95

--

--

Not Used

96

0.75 BK/WH

3113

Heater Low Control Bank 1 Sensor 1

Engine Control Module (ECM) X1 (LP1/LY7)


Object Number: 1826274  Size: CH

Connector Part Information

  • OEM: 1928404781
  • Service: 19149311
  • Description: 96-Way F 1.2 Series Sealed (BK)

Terminal Part Information

  • Pins: 26, 49, 51, 52
  • Terminal/Tray: 1928498056/8
  • Core/Insulation Crimp: E/1
  • Release Tool/Test Probe: J-38125-561/J-35616-35 (VT)
  • Pins: 1, 2, 4, 5, 7, 9, 10, 12, 13, 15, 24-26, 28, 30, 33-35, 39-41, 43-46, 48, 50-52, 55, 56, 57, 59-61, 67, 70, 72, 78-84, 88-90, 92, 93, 96,
  • Terminal/Tray: 1928498135/19
  • Core/Insulation Crimp: Pins 1, 2, 4, 5, 7, 9, 10, 12, 13, 15, 24, 25, 28, 30, 33-35, 39-41, 43-46, 48, 50, 55-57, 59-61, 67, 70, 72, 78-84, 88-90, 92, 93, 96 - J/J
  • Core/Insulation Crimp: Pins 4, 26, 28, 50-52 - K/K
  • Release Tool/Test Probe: J-38125-213/J-35616-64B (L-BU)

Engine Control Module (ECM) X1 (LP1/LY7)

Pin

Wire

Circuit

Function

1

0.75 L-GN

5282

Camshaft Phaser Exhaust Solenoid

2

0.75 PU

5284

Camshaft Phaser Intake Solenoid

3

--

--

Not Used

4

0.75 YE/BK

846

Fuel Injector 6 Control

5

0.75 D-GN/WH

428

EVAP Canister Purge Solenoid Control

6

--

--

Not Used

7

0.5 OG

5275

Camshaft Position Intake Sensor

8

--

--

Not Used

9

0.5 PU

5274

Camshaft Position Exhaust Sensor

10

0.5 RD

225

Generator Turn On Signal

11

--

--

Not Used

12

0.5 L-BU

7302

Intake Manifold Tuning Valve (IMTV) Control Signal

13

0.5 BN/WH

2130

Low Reference

14

--

--

Not Used

15

0.5 GY

705

5-Volt Reference 2

16-23

--

--

Not Used

24

0.5 YE

581

TAC Motor Control - 1

25

0.75 WH/BK

5283

Camshaft Phaser Exhaust Solenoid

26

0.8 PK/BK

1746

Fuel Injector 3 Control

27

--

--

Not Used

28

0.75 BK/WH

845

Fuel Injector 5 Control

29

--

--

Not Used

30

0.5 GY

23

Generator Field Duty Cycle Signal

31-32

--

--

Not Used

33

0.5 YE

5276

Camshaft Position Intake Sensor

34

0.5 D-GN

5273

Camshaft Position Exhaust Sensor

35

0.5 YE

573

CKP Sensor Signal

36-38

--

--

Not Used

39

0.5 GY

2701

5-Volt Reference 3

40

0.5 GY

596

5-Volt Reference 1

41

0.5 BK

552

Low Reference

42

--

--

Not Used

43

0.5 BK

470

Low Reference

44

0.5 BK

476

Low Reference

45

0.5 GY

605

5-Volt Reference 3

46

0.5 BK

452

Low Reference

47

--

--

Not Used

48

0.5 BN

582

TAC Motor Control - 2

49

0.75 OG/BK

5272

Camshaft Phaser Intake Solenoid

50

0.75 L-BU/BK

844

Fuel Injector 4 Control

51

0.8 BK

1744

Fuel Injector 1 Control

52

0.75 L-GN/BK

1745

Fuel Injector 2 Control

53-54

--

--

Not Used

55

0.5 PU

2121

IC 1 Control

56

0.5 L-BU

2123

IC 3 Control

57

0.5 D-GN

2125

IC 5 Control

58

--

--

Not Used

59

0.5 D-BU

496

Knock Sensor Signal

60

0.5 GY

2303

Knock Sensor Signal

61

0.5 TN/WH

331

Oil Pressure Sensor Signal

62-64

--

--

Not Used

65

0.5 YE

7017

Variable Intake Manifold Position Signal

66

--

--

Not Used

67

0.5 PU/WH

3110

HO2S Reference Voltage (Bank 1 Sensor 1)

68-69

--

--

Not Used

70

0.5 TN/WH

3211

HO2S Low Reference (Bank 2 Sensor 1)

71

--

--

Not Used

72

0.8 L-GN

3212

HO2S Heater Low Control Bank 2 Sensor 1

73-77

--

--

Not Used

78

0.5 BN

2129

Low Reference

79

0.5 RD/WH

2122

IC 2 Control

80

0.5 D-GN/WH

2124

IC 4 Control

81

0.5 L-BU/WH

2126

IC 6 Control

82

0.5 YE

410

ECT Sensor Signal

83

0.5 GY

1716

Knock Sensor Signal

84

0.5 L-BU

1876

Knock Sensor 2 Signal

85-87

--

--

Not Used

88

0.5 BK

2752

Low Reference

89

0.5 PU

486

TP Sensor 2 Signal

90

0.5 D-GN

485

TP Sensor 1 Signal

91

--

--

Not Used

92

0.5 TN/WH

3111

HO2S Low Reference (Bank 1 Sensor 1)

93

0.5 PU/WH

3210

HO2S Reference Voltage (Bank 2 Sensor 1)

94-95

--

--

Not Used

96

0.8 BK/WH

3113

HO2S Heater Low Control Bank 1 Sensor 1

Engine Control Module (ECM) X2 (LLT)


Object Number: 1826273  Size: CH

Connector Part Information

  • OEM: 1928404780
  • Service: 88988935
  • Description: 58-Way F 2.8 Series Sealed (BK)

Terminal Part Information

  • Pins: 1-6
  • Terminal/Tray: 1928498058/8
  • Core/Insulation Crimp: E/1
  • Release Tool/Test Probe: J-38125-561/J-35616-35 (VT)
  • Pins: 7, 9-11, 13-15, 17-27, 34-39, 41-52, 54-58
  • Terminal/Tray: 1928498135/19
  • Core/Insulation Crimp: J/J
  • Release Tool/Test Probe: J-38125-213/J-35616-64B (L-BU)

Engine Control Module (ECM) X2 (LLT)

Pin

Wire

Circuit

Function

1

0.75 BK/WH

1551

Ground

2

0.75 BK/WH

1551

Ground

3

0.8 PK/BK

5290

Ignition 1 Voltage

4

0.75 BK/WH

1551

Ground

5

0.8 PK/BK

5290

Ignition 1 Voltage

6

0.8 PK/BK

5290

Ignition 1 Voltage

7

0.75 BK/WH

3122

HO2S Heater Low Control Bank 2 Sensor 1

8

--

--

Not Used

9

0.5 GY/BN

7345

Manual Transmission Clutch Position Sensor Low Reference

10

0.5 D-GN/WH

465

Fuel Pump Relay Control

11

0.5 TN

5514

Low Reference

12

--

--

Not Used

13

0.5 YE

492

MAF Sensor Signal

14

0.5 BU/YE

7346

Manual Transmission Clutch Position Sensor Voltage Reference 1

15

0.5 D-BU

1161

APP Sensor 1 Signal

16

--

--

Not Used

17

0.5 OG/BK

1786

Ignition Lock Cylinder Control Actuator Signal

18

0.5 L-GN

5007

Backup Lamp Switch Signal

19

0.5 WH

1310

EVAP Canister Vent Solenoid Control

20

0.75 RD/WH

3223

HO2S Heater Low Control (Bank 2 Sensor 2) (MV7)

20

0.75 RD/WH

3223

HO2S Heater Low Control (Bank 2 Sensor 2) (MYB)

21

0.5 BN/WH

419

MIL Control

22

0.5 BK

2760

Low Reference

23

0.5 TN/WH

3121

HO2S Low Signal (Bank 1 Sensor 2)

24

0.5 TN

3221

HO2S Low Signal (Bank 2 Sensor 2)

25

0.5 L-BU

1162

APP Sensor 2 Signal

26

0.5 L-BU

1937

Secondary Fuel Level Sensor Signal

27

0.5 D-GN

890

Fuel Tank Pressure Sensor Signal

28-33

--

--

Not Used

34

0.5 BN

1271

Low Reference

35

0.5 GY

2700

5-Volt Reference 3

36

0.5 D-BU

1936

Fuel Level Sensor Signal

37

0.5 TN

6338

Manual Transmission Clutch Position Sensor Signal Position

38

0.5 PU

3120

HO2S High Signal (Bank 1 Sensor 2)

39

0.5 RD/BK

380

A/C Refrigerant Pressure Sensor Signal

40

--

--

Not Used

41

0.5 D-BU

5985

Accessory Wakeup Serial Data

42

0.5 TN/WH

2500

High Speed GMLAN Serial Data Bus+

43

0.5 PU/WH

821

VSS High Signal

44

0.5 D-GN/WH

459

A/C Compressor Clutch Relay Control

45

0.5 D-BU

473

High Speed Cooling Fan Relay Control

46

0.5 D-GN

335

Low Speed Cooling Fan Relay Control

47

0.5 PU

1272

Low Reference

48

0.5 TN

1274

5-Volt Reference 3

49

0.5 WH/BK

1164

5-Volt Reference 2

50

0.5 L-BU

6289

Induction Air Temperature Sensor Signal

51

0.5 PU

3220

HO2S High Signal (Bank 2 Sensor 2)

52

0.5 WH

17

Stop Lamp Switch Signal or Stop Lamp Supply Voltage

53

--

--

Not Used

54

0.5 PK

339

Ignition 1 Voltage

55

0.5 TN

2501

High Speed GMLAN Serial Data Bus-

56

0.75 OG

340

Battery Positive Voltage

57

0.5 YE

447

Starter Relay Coil Control

58

0.5 BN

5069

Main Relay Control

Engine Control Module (ECM) X2 (LP1/LY7)


Object Number: 1826273  Size: CH

Connector Part Information

  • OEM: 1928404780
  • Service: See Catalog
  • Description: 58-Way F 2.8 Series Sealed (BK)

Terminal Part Information

  • Pins: 3, 5, 6
  • Terminal/Tray: 1928498056/8
  • Core/Insulation Crimp: E/1
  • Release Tool/Test Probe: J-38125-561/J-35616-35 (VT)
  • Pins: 9-11, 13, 14, 17, 19, 22, 26, 27, 35, 36, 39, 41, 44-46, 50, 52, 54, 56-58
  • Terminal/Tray: 1928498135/19
  • Core/Insulation Crimp: J/J
  • Release Tool/Test Probe: J-38125-213/J-35616-64B (L-BU)

Engine Control Module (ECM) X2 (LP1/LY7)

Pin

Wire

Circuit

Function

1

0.75 BK/WH

1551

Ground

2

0.75 BK/WH

1551

Ground

3

0.8 PK/BK

5290

Ignition 1 Voltage

4

0.75 BK/WH

1551

Ground

5

0.8 PK/BK

5290

Ignition 1 Voltage

6

0.8 PK/BK

5290

Ignition 1 Voltage

7

0.75 BK/WH

3122

HO2S Heater Low Control Bank 2 Sensor 1

8

--

--

Not Used

9

0.5 GY/BN

7345

Manual Transmission Clutch Position Sensor Low Reference

10

0.5 D-GN/WH

465

Fuel Pump Relay Control

11

0.5 TN

5514

Low Reference

12

0.5 BN/WH

419

MIL Control

13

0.5 YE

492

MAF Sensor Signal

14

0.5 BU/YE

7346

Manual Transmission Clutch Position Sensor Volt Reference 1

15

0.5 D-BU

1161

APP Sensor 1 Signal

16

--

--

Not Used

17

0.5 OG/BK

1786

Ignition Lock Cylinder Control Actuator Signal

18

0.35 L-GN

5007

Backup Lamp Switch Signal (MV7)

19

0.75 WH

1310

EVAP Canister Vent Solenoid Control

20

0.75 RD/WH

3223

HO2S Heater Low Control (Bank 2 Sensor 2)

21

--

--

Not Used

22

0.5 BK

2760

Low Reference

23

0.5 TN/WH

3121

HO2S Low Signal (Bank 1 Sensor 2)

24

0.5 TN

3221

HO2S Low Signal (Bank 2 Sensor 2)

25

0.5 L-BU

1162

APP Sensor 2 Signal

26

0.5 L-BU

1937

Secondary Fuel Level Sensor Signal

27

0.5 D-GN

890

Fuel Tank Pressure Sensor Signal

28-33

--

--

Not Used

34

0.5 BN

1271

Low Reference

35

0.5 GY

2700

5-Volt Reference 3

36

0.5 D-BU

1936

Fuel Level Sensor Signal - Secondary

37

0.5 TN

6338

Manual Transmission Clutch Position Sensor Signal Position (MV7)

38

0.5 PU

3120

HO2S High Signal (Bank 1 Sensor 2)

39

0.5 RD/BK

380

A/C Refrigerant Pressure Sensor Signal

40

--

--

Not Used

41

0.5 D-BU

5985

Accessory Wakeup Serial Data

42

0.5 TN/WH

2500

High Speed GMLAN Serial Data Bus+

43

0.5 PU/WH

821

VSS High Signal (MV7)

44

0.5 D-GN/WH

459

A/C Compressor Clutch Relay Control

45

0.5 D-BU

473

High Speed Cooling Fan Relay Control

46

0.5 D-GN

335

Low Speed Cooling Fan Relay Control

47

0.5 PU

1272

Low Reference

48

0.5 TN

1274

5-Volt Reference 3

49

0.5 WH/BK

1164

5-Volt Reference 2

50

0.5 L-BU

6289

Induction Air Temperature Sensor Signal

51

0.5 PU

3220

HO2S High Signal (Bank 2 Sensor 2)

52

0.5 WH

17

Stop Lamp Switch Signal or Stop Lamp Supply Voltage

53

--

--

Not Used

54

0.5 PK

339

Ignition 1 Voltage

55

0.5 TN

2501

High Speed GMLAN Serial Data Bus-

56

0.5 OG

340

Battery Positive Voltage

57

0.5 YE

447

Starter Relay Coil Control

58

0.5 BN

5069

Main Relay Control

Engine Coolant Temperature (ECT) Sensor


Object Number: 784092  Size: CH

Connector Part Information

  • OEM: 1928403874
  • Service: See Catalog
  • Description: 2-Way F Sealed (BK)

Terminal Part Information

  • Terminal/Tray: See Terminal Repair Kit
  • Core/Insulation Crimp: See Terminal Repair Kit
  • Release Tool/Test Probe: See Terminal Repair Kit

Engine Coolant Temperature (ECT) Sensor

Pin

Wire

Circuit

Function

1

0.5 YE

410

ECT Sensor Signal

2

0.5 BK

476

Low Reference

Engine Cooling Fan - Left


Object Number: 1283862  Size: CH

Connector Part Information

  • OEM: 7282-5596-10
  • Service: 88953304
  • Description: 2-Way M 6.3 Series Sealed (D-GY)

Terminal Part Information

  • Terminal/Tray: 7114-4142-02/10
  • Core/Insulation Crimp: A/3
  • Release Tool/Test Probe: 12094430/J-35616-43 (RD)

Engine Cooling Fan - Left

Pin

Wire

Circuit

Function

1

3 L-BU

409

Cooling Fan Motor Supply Voltage

2

3 BK

250

Ground

Engine Cooling Fan - Right


Object Number: 811182  Size: CH

Connector Part Information

  • OEM: 7283-5596-10
  • Service: See Catalog
  • Description: 2-Way F Sealed (D-GY)

Terminal Part Information

  • Terminal/Tray: See Terminal Repair Kit
  • Core/Insulation Crimp: See Terminal Repair Kit
  • Release Tool/Test Probe: See Terminal Repair Kit

Engine Cooling Fan - Right

Pin

Wire

Circuit

Function

1

3 GY

532

Cooling Fan Motor Supply Voltage

2

3 WH

504

Cooling Fan Low Reference

Engine Oil Pressure (EOP) Sensor


Object Number: 258299  Size: CH

Connector Part Information

  • OEM: 12065287
  • Service: See Catalog
  • Description: 3-Way F Metri-Pack 150 Series (BK)

Terminal Part Information

  • Terminal/Tray: 12103881/2
  • Core/Insulation Crimp: E/C
  • Release Tool/Test Probe: 12180559-1/J-35616-14 (GN)

Engine Oil Pressure (EOP) Sensor

Pin

Wire

Circuit

Function

A

0.5 BK

470

Low Reference

B

0.5 GY

596

5-Volt Reference 1

C

0.5 TN/WH

331

Oil Pressure Sensor Signal

Evaporative Emission (EVAP) Canister Vent Solenoid Valve


Object Number: 684795  Size: CH

Connector Part Information

  • OEM: 12052637
  • Service: See Catalog
  • Description: 2-Way F (RD)

Terminal Part Information

  • Terminal/Tray: See Terminal Repair Kit
  • Core/Insulation Crimp: See Terminal Repair Kit
  • Release Tool/Test Probe: See Terminal Repair Kit

Evaporative Emission (EVAP) Canister Vent Solenoid Valve

Pin

Wire

Circuit

Function

A

0.8 RD

1540

Battery Positive Voltage

B

0.8 WH

1310

EVAP Canister Vent Solenoid Control

Evaporative Emissions (EVAP) Canister Purge Solenoid Valve


Object Number: 1331450  Size: CH

Connector Part Information

  • OEM: 1928404072
  • Service: 88988586
  • Description: 2-Way F (BK)

Terminal Part Information

  • Terminal/Tray: 1928498056/8
  • Core/Insulation Crimp: E/1
  • Release Tool/Test Probe: J-38125-561/J-35616-35 (VT)

Evaporative Emissions (EVAP) Canister Purge Solenoid Valve

Pin

Wire

Circuit

Function

1

0.8 PK/BK

5293

Powertrain Main Relay Fused Supply

2

0.75 D-GN/WH

428

EVAP Canister Purge Solenoid Control

Evaporator Temperature Sensor


Object Number: 826317  Size: CH

Connector Part Information

  • OEM: 7123-2820
  • Service: See Catalog
  • Description: 2-Way F (N/A)

Terminal Part Information

  • Terminal/Tray: See Terminal Repair Kit
  • Core/Insulation Crimp: See Terminal Repair Kit
  • Release Tool/Test Probe: See Terminal Repair Kit

Evaporator Temperature Sensor

Pin

Wire

Circuit

Function

1

0.35 PK

2262

A/C Orifice Solenoid Supply Voltage

2

0.35 YE

61

Low Reference

Fog Lamp - Left Front (T96)


Object Number: 1413064  Size: CH

Connector Part Information

  • OEM: 12124819
  • Service: See Catalog
  • Description: 2-Way F Metri-Pack 280 Series Sealed (BK)

Terminal Part Information

  • Terminal/Tray: 12077411/2
  • Core/Insulation Crimp: 2/5
  • Release Tool/Test Probe: 12094430/J-35616-4A (PU)

Fog Lamp - Left Front (T96)

Pin

Wire

Circuit

Function

A

0.5 PU

34

Fog Lamps Supply Voltage 2

B

0.5 BK

150

Ground

Fog Lamp - Left Rear (T79)


Object Number: 635009  Size: CH

Connector Part Information

  • OEM: 12052641
  • Service: See Catalog
  • Description: 2-Way F Metri-Pack 150 Series Sealed (BK)

Terminal Part Information

  • Terminal/Tray: 12048074/2
  • Core/Insulation Crimp: E/1
  • Release Tool/Test Probe: 12094429/J-35616-14 (GN)

Fog Lamp - Left Rear (T79)

Pin

Wire

Circuit

Function

A

0.35 RD

122

Fog Lamps Supply Voltage 1

B

0.5 BK

1050

Ground

Fog Lamp - Right Front (T96)


Object Number: 1413064  Size: CH

Connector Part Information

  • OEM: 12124819
  • Service: See Catalog
  • Description: 2-Way F Metri-Pack 280 Series Sealed (BK)

Terminal Part Information

  • Terminal/Tray: 12077411/2
  • Core/Insulation Crimp: 2/5
  • Release Tool/Test Probe: 12094430/J-35616-4A (PU)

Fog Lamp - Right Front (T96)

Pin

Wire

Circuit

Function

A

0.5 PU

34

Fog Lamps Supply Voltage 2

B

0.5 BK

250

Ground

Fog Lamp - Right Rear (T79)


Object Number: 635009  Size: CH

Connector Part Information

  • OEM: 12052641
  • Service: See Catalog
  • Description: 2-Way F Metri-Pack 150 Series Sealed (BK)

Terminal Part Information

  • Terminal/Tray: 12048074/2
  • Core/Insulation Crimp: E/1
  • Release Tool/Test Probe: 12094429/J-35616-14 (GN)

Fog Lamp - Right Rear (T79)

Pin

Wire

Circuit

Function

A

0.35 RD

122

Fog Lamps Supply Voltage 1

B

0.5 BK

1050

Ground

Fuel Door Release Actuator (N08)


Object Number: 1283891  Size: CH

Connector Part Information

  • OEM: 1452140-3
  • Service: See Catalog
  • Description: 2-Way F (NA)

Terminal Part Information

  • Terminal/Tray: See Terminal Repair Kit
  • Core/Insulation Crimp: See Terminal Repair Kit
  • Release Tool/Test Probe: See Terminal Repair Kit

Fuel Door Release Actuator (N08)

Pin

Wire

Circuit

Function

1

1 GY

295

Door Lock Actuator Lock Control

2

1 TN

694

Driver Door Lock Actuator Unlock Control

Fuel Injector 1 (LLT)


Object Number: 784092  Size: CH

Connector Part Information

  • OEM: 1928403874
  • Service: See Catalog
  • Description: 2-Way F Sealed (BK)

Terminal Part Information

  • Terminal/Tray: See Terminal Repair Kit
  • Core/Insulation Crimp: See Terminal Repair Kit
  • Release Tool/Test Probe: See Terminal Repair Kit

Fuel Injector 1 (LLT)

Pin

Wire

Circuit

Function

1

1 TN

4801

Direct Fuel Injector (DFI) High Voltage Control Cylinder 1

2

1 BK

4901

Direct Fuel Injector (DFI) High Voltage Supply Cylinder 1

Fuel Injector 1 (LP1/LY7)


Object Number: 1527729  Size: CH

Connector Part Information

  • OEM: 15419715
  • Service: See Catalog
  • Description: 2-Way F Sealed (GY)

Terminal Part Information

  • Terminal/Tray: See Terminal Repair Kit
  • Core/Insulation Crimp: See Terminal Repair Kit
  • Release Tool/Test Probe: See Terminal Repair Kit

Fuel Injector 1 (LP1/LY7)

Pin

Wire

Circuit

Function

A

0.8 WH

5291

Ignition 1 Voltage

B

0.8 TN

1744

Fuel Injector 1 Control

Fuel Injector 2 (LLT)


Object Number: 784092  Size: CH

Connector Part Information

  • OEM: 1928403874
  • Service: See Catalog
  • Description: 2-Way F Sealed (BK)

Terminal Part Information

  • Terminal/Tray: See Terminal Repair Kit
  • Core/Insulation Crimp: See Terminal Repair Kit
  • Release Tool/Test Probe: See Terminal Repair Kit

Fuel Injector 2 (LLT)

Pin

Wire

Circuit

Function

1

1 BK

4802

Direct Fuel Injector (DFI) High Voltage Control Cylinder 2

2

1 TN

4902

Direct Fuel Injector (DFI) High Voltage Supply Cylinder 2

Fuel Injector 2 (LP1/LY7)


Object Number: 1527729  Size: CH

Connector Part Information

  • OEM: 15419715
  • Service: See Catalog
  • Description: 2-Way F Sealed (GY)

Terminal Part Information

  • Terminal/Tray: See Terminal Repair Kit
  • Core/Insulation Crimp: See Terminal Repair Kit
  • Release Tool/Test Probe: See Terminal Repair Kit

Fuel Injector 2 (LP1/LY7)

Pin

Wire

Circuit

Function

A

0.8 WH

5292

Ignition 1 Voltage

B

0.8 L-GN/BK

1745

Fuel Injector 2 Control

Fuel Injector 3 (LLT)


Object Number: 784092  Size: CH

Connector Part Information

  • OEM: 1928403874
  • Service: See Catalog
  • Description: 2-Way F Sealed (BK)

Terminal Part Information

  • Terminal/Tray: See Terminal Repair Kit
  • Core/Insulation Crimp: See Terminal Repair Kit
  • Release Tool/Test Probe: See Terminal Repair Kit

Fuel Injector 3 (LLT)

Pin

Wire

Circuit

Function

1

1 TN

4803

Direct Fuel Injector (DFI) High Voltage Control Cylinder 3

2

1 BK

4903

Direct Fuel Injector (DFI) High Voltage Supply Cylinder 3

Fuel Injector 3 (LP1/LY7)


Object Number: 1527729  Size: CH

Connector Part Information

  • OEM: 15419715
  • Service: See Catalog
  • Description: 2-Way F Sealed (GY)

Terminal Part Information

  • Terminal/Tray: See Terminal Repair Kit
  • Core/Insulation Crimp: See Terminal Repair Kit
  • Release Tool/Test Probe: See Terminal Repair Kit

Fuel Injector 3 (LP1/LY7)

Pin

Wire

Circuit

Function

A

0.8 WH

5291

Ignition 1 Voltage

B

0.8 PK/BK

1746

Fuel Injector 3 Control

Fuel Injector 4 (LLT)


Object Number: 784092  Size: CH

Connector Part Information

  • OEM: 1928403874
  • Service: See Catalog
  • Description: 2-Way F Sealed (BK)

Terminal Part Information

  • Terminal/Tray: See Terminal Repair Kit
  • Core/Insulation Crimp: See Terminal Repair Kit
  • Release Tool/Test Probe: See Terminal Repair Kit

Fuel Injector 4 (LLT)

Pin

Wire

Circuit

Function

1

1 BK

4804

Direct Fuel Injector (DFI) High Voltage Control Cylinder 4

2

1 TN

4904

Direct Fuel Injector (DFI) High Voltage Supply Cylinder 4

Fuel Injector 4 (LP1/LY7)


Object Number: 1527729  Size: CH

Connector Part Information

  • OEM: 15419715
  • Service: See Catalog
  • Description: 2-Way F Sealed (GY)

Terminal Part Information

  • Terminal/Tray: See Terminal Repair Kit
  • Core/Insulation Crimp: See Terminal Repair Kit
  • Release Tool/Test Probe: See Terminal Repair Kit

Fuel Injector 4 (LP1/LY7)

Pin

Wire

Circuit

Function

A

0.8 WH

5292

Ignition 1 Voltage

B

0.8 L-BU/BK

844

Fuel Injector 4 Control

Fuel Injector 5 (LLT)


Object Number: 784092  Size: CH

Connector Part Information

  • OEM: 1928403874
  • Service: See Catalog
  • Description: 2-Way F Sealed (BK)

Terminal Part Information

  • Terminal/Tray: See Terminal Repair Kit
  • Core/Insulation Crimp: See Terminal Repair Kit
  • Release Tool/Test Probe: See Terminal Repair Kit

Fuel Injector 5 (LLT)

Pin

Wire

Circuit

Function

1

1 TN

4805

Direct Fuel Injector (DFI) High Voltage Control Cylinder 5

2

1 BK

4905

Direct Fuel Injector (DFI) High Voltage Supply Cylinder 5

Fuel Injector 5 (LP1/LY7)


Object Number: 1527729  Size: CH

Connector Part Information

  • OEM: 15419715
  • Service: See Catalog
  • Description: 2-Way F Sealed (GY)

Terminal Part Information

  • Terminal/Tray: See Terminal Repair Kit
  • Core/Insulation Crimp: See Terminal Repair Kit
  • Release Tool/Test Probe: See Terminal Repair Kit

Fuel Injector 5 (LP1/LY7)

Pin

Wire

Circuit

Function

A

0.8 WH

5291

Ignition 1 Voltage

B

0.8 TN/WH

845

Fuel Injector 5 Control

Fuel Injector 6 (LLT)


Object Number: 784092  Size: CH

Connector Part Information

  • OEM: 1928403874
  • Service: See Catalog
  • Description: 2-Way F Sealed (BK)

Terminal Part Information

  • Terminal/Tray: See Terminal Repair Kit
  • Core/Insulation Crimp: See Terminal Repair Kit
  • Release Tool/Test Probe: See Terminal Repair Kit

Fuel Injector 6 (LLT)

Pin

Wire

Circuit

Function

1

1 BK

4806

Direct Fuel Injector (DFI) High Voltage Control Cylinder 6

2

1 TN

4906

Direct Fuel Injector (DFI) High Voltage Supply Cylinder 6

Fuel Injector 6 (LP1/LY7)


Object Number: 1527729  Size: CH

Connector Part Information

  • OEM: 15419715
  • Service: See Catalog
  • Description: 2-Way F Sealed (GY)

Terminal Part Information

  • Terminal/Tray: See Terminal Repair Kit
  • Core/Insulation Crimp: See Terminal Repair Kit
  • Release Tool/Test Probe: See Terminal Repair Kit

Fuel Injector 6 (LP1/LY7)

Pin

Wire

Circuit

Function

A

0.8 WH

5292

Ignition 1 Voltage

B

0.8 YE/BK

846

Fuel Injector 6 Control

Fuel Level Sensor


Object Number: 684847  Size: CH

Connector Part Information

  • OEM: 12160563
  • Service: See Catalog
  • Description: 4-Way F Sealed (NA)

Terminal Part Information

  • Terminal/Tray: See Terminal Repair Kit
  • Core/Insulation Crimp: See Terminal Repair Kit
  • Release Tool/Test Probe: See Terminal Repair Kit

Fuel Level Sensor

Pin

Wire

Circuit

Function

A

0.8 L-BU

1937

Secondary Fuel Level Sensor Signal

B-C

--

--

Not Available

D

0.8 BK

2759

Low Reference

Fuel Pump and Sender Assembly


Object Number: 697003  Size: CH

Connector Part Information

  • OEM: 12180482
  • Service: See Catalog
  • Description: 4-Way F Sealed (BK)

Terminal Part Information

  • Terminal/Tray: See Terminal Repair Kit
  • Core/Insulation Crimp: See Terminal Repair Kit
  • Release Tool/Test Probe: See Terminal Repair Kit

Fuel Pump and Sender Assembly

Pin

Wire

Circuit

Function

1

0.8 D-BU

1936

Fuel Level Sensor Signal

2

1 GY

120

Fuel Pump Supply Voltage

3

1 BK

1050

Ground

4

0.8 BK

2759

Low Reference

Fuel Rail Pressure (FRP) Sensor (LLT)


Object Number: 1331443  Size: CH

Connector Part Information

  • OEM: 1928403966
  • Service: See Catalog
  • Description: 3-Way F Sealed (BK)

Terminal Part Information

  • Terminal/Tray: See Terminal Repair Kit
  • Core/Insulation Crimp: See Terminal Repair Kit
  • Release Tool/Test Probe: See Terminal Repair Kit

Fuel Rail Pressure (FRP) Sensor (LLT)

Pin

Wire

Circuit

Function

1

0.5 L-BU

808

Low Reference

2

0.5 BK

2918

FRP Sensor Signal

3

0.5 WH

598

5-Volt Reference 1

Fuel Tank Pressure (FTP) Sensor


Object Number: 516611  Size: CH

Connector Part Information

  • OEM: 12059595
  • Service: See Catalog
  • Description: 3-Way F Sealed (BK)

Terminal Part Information

  • Terminal/Tray: See Terminal Repair Kit
  • Core/Insulation Crimp: See Terminal Repair Kit
  • Release Tool/Test Probe: See Terminal Repair Kit

Fuel Tank Pressure (FTP) Sensor

Pin

Wire

Circuit

Function

A

0.8 TN

2759

Low Reference

B

0.8 D-GN

890

Fuel Tank Pressure Sensor Signal

C

0.8 GY

2709

5-Volt Reference

Garage Door Opener (GDO) (UG1)


Object Number: 406848  Size: CH

Connector Part Information

  • OEM: 25661724
  • Service: See Catalog
  • Description: 3-Way F (BK)

Terminal Part Information

  • Terminal/Tray: See Terminal Repair Kit
  • Core/Insulation Crimp: See Terminal Repair Kit
  • Release Tool/Test Probe: See Terminal Repair Kit

Garage Door Opener (GDO) (UG1)

Pin

Wire

Circuit

Function

1

0.35 OG

4540

Battery Positive Voltage

2

--

--

Not Used

3

0.35 BK

1051

Ground

Generator X1


Object Number: 1522871  Size: CH

Connector Part Information

  • OEM: 12186308
  • Service: See Catalog
  • Description: 2-Way F JPT, Sealed (BK)

Terminal Part Information

  • Terminal/Tray: 4-964286-1/16
  • Core/Insulation Crimp: E/1
  • Release Tool/Test Probe: 12093647/J-35616-4A (PU)

Generator X1

Pin

Wire

Circuit

Function

1

0.5 RD

225

Generator Turn On Signal

2

0.5 GY

23

Generator Field Duty Cycle Signal

Generator X2

Terminal Part Information

  • Terminal: 12146365
  • Core/Insulation Crimp: N/A
  • Description: Ring Terminal

Generator X2

Pin

Wire

Circuit

Function

--

13 RD

1

Battery Positive Voltage

Headlamp - Left High Beam (without TT6/TT7/TT8)


Object Number: 1711019  Size: CH

Connector Part Information

  • OEM: 15489792
  • Service: See Catalog
  • Description: 2-Way F (BK)

Terminal Part Information

  • Terminal/Tray: See Terminal Repair Kit
  • Core/Insulation Crimp: See Terminal Repair Kit
  • Release Tool/Test Probe: See Terminal Repair Kit

Headlamp - Left High Beam (without TT6/TT7/TT8)

Pin

Wire

Circuit

Function

A

0.5 BK

711

Left Headlamp High Beam Supply Voltage

B

0.5 BK

150

Ground

Headlamp - Left High Beam Solenoid (TT6/TT7/TT8)


Object Number: 1862031  Size: CH

Connector Part Information

  • OEM: 1-968704-1
  • Service: See Catalog
  • Description: 2-Way F MQS Series (BK)

Terminal Part Information

  • Terminal/Tray: See Terminal Repair Kit
  • Core/Insulation Crimp: See Terminal Repair Kit
  • Release Tool/Test Probe: See Terminal Repair Kit

Headlamp - Left High Beam Solenoid (TT6/TT7/TT8)

Pin

Wire

Circuit

Function

1

0.35 BK

711

Left Headlamp High Beam Supply Voltage

2

0.5 BK

150

Ground

Headlamp - Left Low Beam (without TT6/TT7/TT8)


Object Number: 1711019  Size: CH

Connector Part Information

  • OEM: 15489792
  • Service: See Catalog
  • Description: 2-Way F 150 Series (BK)

Terminal Part Information

  • Terminal/Tray: See Terminal Repair Kit
  • Core/Insulation Crimp: See Terminal Repair Kit
  • Release Tool/Test Probe: See Terminal Repair Kit

Headlamp - Left Low Beam (without TT6/TT7/TT8)

Pin

Wire

Circuit

Function

A

0.5 BK

712

Left Headlamp Low Beam Supply Voltage

B

0.5 BK

150

Ground

Headlamp - Right High Beam (without TT6/TT7/TT8)


Object Number: 1711019  Size: CH

Connector Part Information

  • OEM: 15489792
  • Service: See Catalog
  • Description: 2-Way F (BK)

Terminal Part Information

  • Terminal/Tray: See Terminal Repair Kit
  • Core/Insulation Crimp: See Terminal Repair Kit
  • Release Tool/Test Probe: See Terminal Repair Kit

Headlamp - Right High Beam (without TT6/TT7/TT8)

Pin

Wire

Circuit

Function

A

0.5 BK

311

Right Headlamp High Beam Supply Voltage

B

0.5 BK

250

Ground

Headlamp - Right High Beam Solenoid (TT6/TT7/TT8)


Object Number: 1862031  Size: CH

Connector Part Information

  • OEM: 1-968704-1
  • Service: See Catalog
  • Description: 2-Way F MQS Series (BK)

Terminal Part Information

  • Terminal/Tray: See Terminal Repair Kit
  • Core/Insulation Crimp: See Terminal Repair Kit
  • Release Tool/Test Probe: See Terminal Repair Kit

Headlamp - Right High Beam Solenoid (TT6/TT7/TT8)

Pin

Wire

Circuit

Function

1

0.35 BK

311

Right Headlamp High Beam Supply Voltage

2

0.5 BK

250

Ground

Headlamp - Right Low Beam (without TT6/TT7/TT8)


Object Number: 1711019  Size: CH

Connector Part Information

  • OEM: 15489792
  • Service: See Catalog
  • Description: 2-Way F 150 Series (BK)

Terminal Part Information

  • Terminal/Tray: See Terminal Repair Kit
  • Core/Insulation Crimp: See Terminal Repair Kit
  • Release Tool/Test Probe: See Terminal Repair Kit

Headlamp - Right Low Beam (without TT6/TT7/TT8)

Pin

Wire

Circuit

Function

A

0.5 BK

312

Right Headlamp Low Beam Supply Voltage

B

0.5 BK

250

Ground

Headlamp Ballast - Left (TT6/TT7/TT8)


Object Number: 1824252  Size: CH

Connector Part Information

  • OEM: 12105470
  • Service: See Catalog
  • Description: 2-Way F (BK)

Terminal Part Information

  • Terminal/Tray: See Terminal Repair Kit
  • Core/Insulation Crimp: See Terminal Repair Kit
  • Release Tool/Test Probe: See Terminal Repair Kit

Headlamp Ballast - Left (TT6/TT7/TT8)

Pin

Wire

Circuit

Function

1

1 BK

712

Left Headlamp Low Beam Supply Voltage

2

1 BK

150

Ground

Headlamp Ballast - Right (TT6/TT7/TT8)


Object Number: 1824252  Size: CH

Connector Part Information

  • OEM: 12105470
  • Service: See Catalog
  • Description: 2-Way F (BK)

Terminal Part Information

  • Terminal/Tray: See Terminal Repair Kit
  • Core/Insulation Crimp: See Terminal Repair Kit
  • Release Tool/Test Probe: See Terminal Repair Kit

Headlamp Ballast - Right (TT6/TT7/TT8)

Pin

Wire

Circuit

Function

1

1 BK

312

Right Headlamp Low Beam Supply Voltage

2

1 BK

250

Ground

Headlamp Leveling Actuator - Left (TR7 with TT6/TT7/TT8)


Object Number: 1758582  Size: CH

Connector Part Information

  • OEM: 31404-6116
  • Service: See Catalog
  • Description: 5-Way F (BK)

Terminal Part Information

  • Terminal/Tray: SAITS-A03-M064
  • Core/Insulation Crimp: P/P
  • Release Tool/Test Probe: See Terminal Repair Kit

Headlamp Leveling Actuator - Left (TR7 with TT6/TT7/TT8)

Pin

Wire

Circuit

Function

1

0.35 YE/BK

5176

Left Headlamp Leveling Motor (1)

2

0.35 PU/WH

5178

Left Headlamp Leveling Motor (3)

3

0.35 OG/BK

5177

Left Headlamp Leveling Motor (2)

4

0.35 GY

5179

Left Headlamp Leveling Motor (4)

5

0.35 BK

5752

Left Headlamp Leveling Motor Low Reference

Headlamp Leveling Actuator - Right (TR7 with TT6/TT7/TT8)


Object Number: 1758582  Size: CH

Connector Part Information

  • OEM: 31404-6116
  • Service: See Catalog
  • Description: 5-Way F (BK)

Terminal Part Information

  • Terminal/Tray: SAITS-A03-M064
  • Core/Insulation Crimp: P/P
  • Release Tool/Test Probe: See Terminal Repair Kit

Headlamp Leveling Actuator - Right (TR7 with TT6/TT7/TT8)

Pin

Wire

Circuit

Function

1

0.35 BN/WH

5180

Right Headlamp Leveling Motor (1)

2

0.35 OG/WH

5182

Right Headlamp Leveling Motor (3)

3

0.35 PK/BK

5181

Right Headlamp Leveling Motor (2)

4

0.35 GY/BK

5183

Right Headlamp Leveling Motor (4)

5

0.35 L-GN/BK

5753

Right Headlamp Leveling Motor Low Reference

Headlamp Leveling Sensor - Front (TR7)


Object Number: 1387924  Size: CH

Connector Part Information

  • OEM: 15326556
  • Service: See Catalog
  • Description: 3-Way F GT 150 Series Sealed (BK)

Terminal Part Information

  • Terminal/Tray: 15326267/19
  • Core/Insulation Crimp: E/4
  • Release Tool/Test Probe: 15315247/J-35616-2A (GY)

Headlamp Leveling Sensor - Front (TR7)

Pin

Wire

Circuit

Function

A

0.35 PU/WH

1211

Right Front Suspension Position Sensor Voltage Reference

B

0.35 TN/WH

1213

Right Front Suspension Position Sensor Signal

C

0.35 L-BU/BK

1212

Right Front Suspension Position Sensor Low Reference

Headlamp Leveling Sensor - Rear (TR7)


Object Number: 1387924  Size: CH

Connector Part Information

  • OEM: 15326556
  • Service: See Catalog
  • Description: 3-Way F GT 150 Series Sealed (BK)

Terminal Part Information

  • Terminal/Tray: 15326267/19
  • Core/Insulation Crimp: E/4
  • Release Tool/Test Probe: 15315247/J-35616-2A (GY)

Headlamp Leveling Sensor - Rear (TR7)

Pin

Wire

Circuit

Function

A

0.35 L-GN/WH

1210

Left Rear Suspension Position Sensor Signal

B

0.35 RD/BK

1208

Left Rear Suspension Position Sensor Voltage Reference

C

0.35 L-GN/BK

1209

Left Rear Suspension Position Sensor Low Reference

Headlamp Module (TR7 or TT6/TT7/TT8)


Object Number: 1862109  Size: CH

Connector Part Information

  • OEM: 89047375
  • Service: See Catalog
  • Description: 38-Way F Sealed (BK)

Terminal Part Information

  • Pins: 1, 25
  • Terminal/Tray: 15304718/19
  • Core/Insulation Crimp: E/5
  • Release Tool/Test Probe: 15315247/J-35616-4A (PU)
  • Pins: 2-5, 7, 8, 10-12, 14-16, 19, 20, 22-24, 26-37
  • Terminal/Tray: See Terminal Repair Kit
  • Core/Insulation Crimp: See Terminal Repair Kit
  • Release Tool/Test Probe: See Terminal Repair Kit

Headlamp Module (TR7 or TT6/TT7/TT8)

Pin

Wire

Circuit

Function

1

0.5 OG

2140

Battery Positive Voltage (TT6/TT7/TT8/TR7)

2

0.35 OG/BK

5177

Left Headlamp Leveling Motor (TR7)

3

0.35 YE/BK

5176

Left Headlamp Leveling Motor (TR7)

4

0.35 PU/WH

5178

Left Headlamp Leveling Motor (TR7)

5

0.35 BK

5752

Left Headlamp Leveling Motor Low Reference (TT6/TT7/TT8/TR7)

6

--

--

Not Used

7

0.5 TN

2501

High Speed GMLAN Serial Data Bus- (TT6/TT7/TT8/TR7)

8

0.5 TN/WH

2500

High Speed GMLAN Serial Data Bus+ (TT6/TT7/TT8/TR7)

9

--

--

Not Used

10

0.35 BN/WH

5180

Right Headlamp Leveling Motor (TR7)

11

0.35 OG/WH

5182

Right Headlamp Leveling Motor (TR7)

12

0.35 GY/BK

5183

Right Headlamp Leveling Motor (TR7)

13

--

--

Not Used

14

0.35 GY

5179

Left Headlamp Leveling Motor (TR7)

15

0.35 D-GN

7131

Left Front Headlamp Adaptive Forward Lighting System (AFS) Motor Signal 3 (TT6/TT7/TT8)

16

0.35 BN

7129

Left Front Headlamp Adaptive Forward Lighting System (AFS) Motor Signal 1 (TT6/TT7/TT8)

17-18

--

--

Not Used

19

0.5 TN

2501

High Speed GMLAN Serial Data Bus- (TT6/TT7/TT8/TR7)

20

0.5 TN/WH

2500

High Speed GMLAN Serial Data Bus+ (TT6/TT7/TT8/TR7)

21

--

--

Not Used

22

0.35 OG

7133

Right Front Headlamp Adaptive Forward Lighting System (AFS) Motor Signal 1 (TT6/TT7/TT8)

23

0.35 TN

7135

Right Front Headlamp Adaptive Forward Lighting System (AFS) Motor Signal 3 (TT6/TT7/TT8)

24

0.35 PK/BK

5181

Right Headlamp Leveling Motor (TR7)

25

0.5 BK

250

Ground (TT6/TT7/TT8/TR7)

26

0.35 L-BU

7130

Left Front Headlamp Adaptive Forward Lighting System (AFS) Motor Signal 2 (TT6/TT7/TT8)

27

0.35 GY

7132

Left Front Headlamp Adaptive Forward Lighting System (AFS) Motor Signal 4 (TT6/TT7/TT8)

28

0.35 PU/WH

1211

Right Front Suspension Position Sensor Voltage Reference (TR7)

29

0.35 L-BU/BK

1212

Right Front Suspension Position Sensor Low Reference (TR7)

30

0.35 TN/WH

1213

Right Front Suspension Position Sensor Signal (TR7)

31

0.35 OG/BK

1208

Left Rear Suspension Position Sensor Voltage Reference (TR7)

32

0.35 L-GN/BK

1209

Left Rear Suspension Position Sensor Low Reference (TR7)

33

0.35 L-GN/WH

1210

Left Rear Suspension Position Sensor Signal (TR7)

34

0.5 L-BU

5986

Serial Data Communication Enable (TT6/TT7/TT8/TR7)

35

0.35 BK

5753

Right Headlamp Leveling Motor Low Reference (TT6/TT7/TT8/TR7)

36

0.35 PK

7134

Right Front Headlamp Adaptive Forward Lighting System (AFS) Motor Signal 2 (TT6/TT7/TT8)

37

0.35 YE

7136

Right Front Headlamp Adaptive Forward Lighting System (AFS) Motor Signal 4 (TT6/TT7/TT8)

38

--

--

Not Used

Headlamp Washer Fluid Pump (CE4)


Object Number: 646148  Size: CH

Connector Part Information

  • OEM: 12020599
  • Service: See Catalog
  • Description: 2-Way F Metri-Pack 280 Series (BK)

Terminal Part Information

  • Terminal/Tray: 12129493/2
  • Core/Insulation Crimp: 4/5
  • Release Tool/Test Probe: 12094430/J-35616-4A (PU)

Headlamp Washer Fluid Pump (CE4)

Pin

Wire

Circuit

Function

A

2 PU

1197

Headlamp Washer Pump Control

B

2 BK

650

Ground

Heated Oxygen Sensor (HO2S) Bank 1 Sensor 1


Object Number: 518981  Size: CH

Connector Part Information

  • OEM: 12160482
  • Service: See Catalog
  • Description: 4-Way F Metri-Pack 150 Series Sealed (BK)

Terminal Part Information

  • Terminal/Tray: 12048074/2
  • Core/Insulation Crimp: E/1
  • Release Tool/Test Probe: 12094429/J-35616-14 (GN)

Heated Oxygen Sensor (HO2S) Bank 1 Sensor 1

Pin

Wire

Circuit

Function

A

0.5 PU/WH

3110

HO2S Reference Voltage (Bank 1 Sensor 1) (LP1/LY7)

0.5 TN/WH

3111

HO2S Low Reference (Bank 1 Sensor 1) (LLT)

B

0.5 PU/WH

3110

HO2S Reference Voltage (Bank 1 Sensor 1) (LLT)

0.5 TN/WH

3111

HO2S Low Reference (Bank 1 Sensor 1) (LP1/LY7)

C

0.8 PK/BK

5293

Powertrain Main Relay Fused Supply (4)

D

0.75 BK/WH

3113

HO2S Heater Low Control - Bank 1 Sensor 1

Heated Oxygen Sensor (HO2S) Bank 1 Sensor 2


Object Number: 280761  Size: CH

Connector Part Information

  • OEM: 12160825
  • Service: See Catalog
  • Description: 4-Way M Metri-Pack 150 Series Sealed (BK)

Terminal Part Information

  • Terminal/Tray: 12045773/2
  • Core/Insulation Crimp: E/1
  • Release Tool/Test Probe: 12094429/J-35616-3 (GY)

Heated Oxygen Sensor (HO2S) Bank 1 Sensor 2

Pin

Wire

Circuit

Function

A

0.5 TN/WH

3121

HO2S Low Signal (Bank 1 Sensor 2)

B

0.5 PU

3120

HO2S High Signal (Bank 1 Sensor 2)

C

0.8 PK/BK

5294

Battery Positive Voltage

D

0.8 BK/WH

3122

HO2S Heater Low Control (Bank 1 Sensor 2)

Heated Oxygen Sensor (HO2S) Bank 2 Sensor 1


Object Number: 518981  Size: CH

Connector Part Information

  • OEM: 12160482
  • Service: See Catalog
  • Description: 4-Way F Metri-Pack 150 Series Sealed (BK)

Terminal Part Information

  • Terminal/Tray: 12048074/2
  • Core/Insulation Crimp: E/1
  • Release Tool/Test Probe: 12094429/J-35616-14 (GN)

Heated Oxygen Sensor (HO2S) Bank 2 Sensor 1

Pin

Wire

Circuit

Function

A

0.5 PU/WH

3210

HO2S Reference Voltage (Bank 2 Sensor 1) (LP1/LY7)

0.5 TN/WH

3211

HO2S Low Reference (Bank 2 Sensor 1) (LLT)

B

0.5 TN/WH

3211

HO2S Low Reference (Bank 2 Sensor 1) (LP1/LY7)

0.5 PU/WH

3210

HO2S Reference Voltage (Bank 2 Sensor 1) (LLT)

C

0.8 PK/BK

5293

Powertrain Main Relay Fused Supply (4)

D

0.8 L-GN

3212

HO2S Heater Low Control (Bank 2 Sensor 1)

Heated Oxygen Sensor (HO2S) Bank 2 Sensor 2 (MV7)


Object Number: 280761  Size: CH

Connector Part Information

  • OEM: 12160825
  • Service: See Catalog
  • Description: 4-Way M Metri-Pack 150 Series Sealed (BK)

Terminal Part Information

  • Terminal/Tray: 12045773/2
  • Core/Insulation Crimp: E/1
  • Release Tool/Test Probe: 12094429/J-35616-3 (GY)

Heated Oxygen Sensor (HO2S) Bank 2 Sensor 2 (MV7)

Pin

Wire

Circuit

Function

A

0.5 TN

3221

HO2S Low Signal (Bank 2 Sensor 2)

B

0.5 PU

3220

HO2S High Signal (Bank 2 Sensor 2)

C

0.8 PK/BK

5294

Battery Positive Voltage

D

0.75 RD/WH

3223

HO2S Heater Low Control (Bank 2 Sensor 2)

Heated Oxygen Sensor (HO2S) Bank 2 Sensor 2 (MYB)


Object Number: 474210  Size: CH

Connector Part Information

  • OEM: 12176897
  • Service: See Catalog
  • Description: 4-Way F Metri-Pack 150 Sealed (GY)

Terminal Part Information

  • Terminal/Tray: 12048074/2
  • Core/Insulation Crimp: E/1
  • Release Tool/Test Probe: 12094429/J-35616-14 (GN)

Heated Oxygen Sensor (HO2S) Bank 2 Sensor 2 (MYB)

Pin

Wire

Circuit

Function

A

0.5 TN

3221

HO2S Low Signal (Bank 2 Sensor 2)

B

0.5 PU

3220

HO2S High Signal (Bank 2 Sensor 2)

C

0.8 PK/BK

5294

Battery Positive Voltage

D

0.8 RD/WH

3223

HO2S Heater Low Control (Bank 2 Sensor 2)

Heated Seat Element - Driver Back (KA1)


Object Number: 258301  Size: CH

Connector Part Information

  • OEM: 12059254
  • Service: See Catalog
  • Description: 2-Way F (GN)

Terminal Part Information

  • Terminal/Tray: See Terminal Repair Kit
  • Core/Insulation Crimp: See Terminal Repair Kit
  • Release Tool/Test Probe: See Terminal Repair Kit

Heated Seat Element - Driver Back (KA1)

Pin

Wire

Circuit

Function

A

0.8 BN

2432

Driver Heated Seat Back Element Supply Voltage

B

0.8 L-GN

2078

Heated Seat Cushion Element Control

Heated Seat Element - Driver Cushion (KA1)


Object Number: 39661  Size: CH

Connector Part Information

  • OEM: 12047786
  • Service: See Catalog
  • Description: 4-Way F (BK)

Terminal Part Information

  • Terminal/Tray: See Terminal Repair Kit
  • Core/Insulation Crimp: See Terminal Repair Kit
  • Release Tool/Test Probe: See Terminal Repair Kit

Heated Seat Element - Driver Cushion (KA1)

Pin

Wire

Circuit

Function

A

0.8 PK

2077

Heated Seat Cushion Element Control

B

0.8 BN

2432

Driver Heated Seat Back Element Supply Voltage

C

0.35 YE/BK

2079

Heated Seat Cushion Element Supply Voltage

D

0.35 YE

2080

Driver Heated Seat Cushion Temperature Sensor Low Reference

Heated Seat Element - Passenger Back (KA1)


Object Number: 258301  Size: CH

Connector Part Information

  • OEM: 12059254
  • Service: See Catalog
  • Description: 2-Way F (GN)

Terminal Part Information

  • Terminal/Tray: See Terminal Repair Kit
  • Core/Insulation Crimp: See Terminal Repair Kit
  • Release Tool/Test Probe: See Terminal Repair Kit

Heated Seat Element - Passenger Back (KA1)

Pin

Wire

Circuit

Function

A

0.8 TN

2481

Passenger Heated Seat Back Element Supply Voltage

B

0.8 PK

2480

Passenger Heated Seat Cushion Element Control

Heated Seat Element - Passenger Cushion (KA1)


Object Number: 39661  Size: CH

Connector Part Information

  • OEM: 12047786
  • Service: See Catalog
  • Description: 4-Way F (BK)

Terminal Part Information

  • Terminal/Tray: See Terminal Repair Kit
  • Core/Insulation Crimp: See Terminal Repair Kit
  • Release Tool/Test Probe: See Terminal Repair Kit

Heated Seat Element - Passenger Cushion (KA1)

Pin

Wire

Circuit

Function

A

0.8 D-BU

2479

Passenger Heated Seat Element Supply Voltage

B

0.8 TN

2481

Passenger Heated Seat Back Element Supply Voltage

C

0.35 GY

2434

Passenger Heated Seat Cushion Temperature Sensor Signal

D

0.35 PK

2435

Passenger Heated Seat Cushion Temperature Sensor Low Reference

High Pressure Fuel Pump (LLT)


Object Number: 784092  Size: CH

Connector Part Information

  • OEM: 1-928-403-874
  • Service: See Catalog
  • Description: 2-Way F Sealed (BK)

Terminal Part Information

  • Terminal/Tray: See Terminal Repair Kit
  • Core/Insulation Crimp: See Terminal Repair Kit
  • Release Tool/Test Probe: See Terminal Repair Kit

High Pressure Fuel Pump (LLT)

Pin

Wire

Circuit

Function

1

1 PU

7300

High Pressure Fuel Pump Actuator Low Control

2

1 YE

7301

High Pressure Fuel Pump Actuator High Control

Hood Ajar Switch (UHA/UA2)


Object Number: 646415  Size: CH

Connector Part Information

  • OEM: 15326808
  • Service: See Catalog
  • Description: 3-Way F GT 150 Series Sealed (BK)

Terminal Part Information

  • Terminal/Tray: 12191819/8
  • Core/Insulation Crimp: E/A
  • Release Tool/Test Probe: 15315247/J-35616-2A (GY)

Hood Ajar Switch (UHA/UA2)

Pin

Wire

Circuit

Function

A

0.35 PU

5531

Hood Closed Switch Signal (UHA)

B

0.35 PK/BK

109

Hood Ajar Switch Signal (UHA/UA2)

C

0.35 BK

650

Ground (UHA/UA2)

Horn Assembly


Object Number: 603098  Size: CH

Connector Part Information

  • OEM: 15305086
  • Service: See Catalog
  • Description: 2-Way F Metri-Pack 150 Series Sealed (BK)

Terminal Part Information

  • Terminal/Tray: 12176636/19
  • Core/Insulation Crimp: C/1
  • Release Tool/Test Probe: 12094429/J-35616-14 (GN)

Horn Assembly

Pin

Wire

Circuit

Function

A

0.8 BK

150

Ground

B

0.8 D-GN

1329

Horn Fuse Supply Voltage

Horn Switch X1


Object Number: 1862161  Size: CH

Connector Part Information

  • OEM: 2-520128-2
  • Service: Not Serviced
  • Description: 1-Way F (RD)

Terminal Part Information

  • Terminal/Tray: See Terminal Repair Kit
  • Core/Insulation Crimp: See Terminal Repair Kit
  • Release Tool/Test Probe: See Terminal Repair Kit

Horn Switch X1

Pin

Wire

Circuit

Function

1

0.35 BK

28

Horn Relay Control

Horn Switch X2


Object Number: 1862161  Size: CH

Connector Part Information

  • OEM: 2-520128-2
  • Service: Not Serviced
  • Description: 1-Way F (BARE)

Terminal Part Information

  • Terminal/Tray: See Terminal Repair Kit
  • Core/Insulation Crimp: See Terminal Repair Kit
  • Release Tool/Test Probe: See Terminal Repair Kit

Horn Switch X2

Pin

Wire

Circuit

Function

1

0.35 BK

350

Ground

0.35 BK

350

Ground

0.35 BK

350

Ground

HVAC Control Module X1


Object Number: 1664585  Size: CH

Connector Part Information

  • OEM: 7283-4544-30
  • Service: 89047360
  • Description: 18-Way F (BK)

Terminal Part Information

  • Pins: 1-3, 5, 8-13, 17, 18
  • Terminal/Tray: SAITS-A03-M064
  • Core/Insulation Crimp: P/P
  • Release Tool/Test Probe: See Terminal Repair Kit

HVAC Control Module X1

Pin

Wire

Circuit

Function

1

0.35 L-GN/BK

735

Ambient Air Temperature Sensor Signal

2

0.35 D-GN

734

Inside Air Temperature Sensor Signal

3

0.35 WH

193

Rear Defog Relay Control

4

--

--

Not Used

5

0.35 GY/BK

754

Blower Motor Speed Control

6-7

--

--

Not Used

8

0.35 D-GN

5060

Low Speed GMLAN Serial Data

9

0.35 OG

300

Ignition 3 Voltage

10

0.35 BK/WH

351

Ground

11

0.35 YE

61

Low Reference

12

0.35 L-BU/BK

590

Driver Sunload Sensor Signal

13

0.35 GY

1548

Passenger Sunload Sensor Signal

14-16

--

--

Not Used

17

0.35 D-GN

5060

Low Speed GMLAN Serial Data

18

0.35 OG

540

Battery Positive Voltage

HVAC Control Module X2


Object Number: 1664586  Size: CH

Connector Part Information

  • OEM: 7283-9081
  • Service: See Catalog
  • Description: 16-Way F (WH)

Terminal Part Information

  • Terminal/Tray: See Terminal Repair Kit
  • Core/Insulation Crimp: See Terminal Repair Kit
  • Release Tool/Test Probe: See Terminal Repair Kit

HVAC Control Module X2

Pin

Wire

Circuit

Function

1

0.35 WH/BK

1236

Auxiliary Air Temperature Door Control

2

0.35 GY/BK

2778

Right Air Temperature Door Control A

3

--

--

Not Used

4

0.35 D-BU

1646

Auxiliary Air Temperature Door Position Signal

5

0.35 L-BU

733

Air Temperature Door Position Signal

6

0.35 YE/BK

1814

Lower Mode Door Position Signal

7

0.35 PU

1838

Recirculation Door Position Signal

8

0.35 GY

605

5-Volt Reference 3

9

0.35 OG

2273

Mode Door Control

10

0.35 YE/GN

1318

Mode Door Control

11

0.35 BN

2274

Recirculation Door Control Circuit

12

0.35 D-GN

1614

Recirculation Door Control

13

0.35 YE/OG

1791

Low Reference

14

0.35 D-BU/WH

1199

Air Temperature Door Control

15

0.35 PK

2262

A/C Orifice Solenoid Supply Voltage

16

0.35 YE

61

Low Reference

I/P Compartment Lamp


Object Number: 82383  Size: CH

Connector Part Information

  • OEM: 12059247
  • Service: See Catalog
  • Description: 2-Way F Metri-Pack 150 Series (GY)

Terminal Part Information

  • Terminal/Tray: 12064971/5
  • Core/Insulation Crimp: E/C
  • Release Tool/Test Probe: 12094429/J-35616-14 (GN)

I/P Compartment Lamp

Pin

Wire

Circuit

Function

A

0.5 PU

175

Glove Box Lamp Control

B

0.5 OG

1732

Courtesy Lamps Supply Voltage

I/P Compartment Lamp Switch


Object Number: 258297  Size: CH

Connector Part Information

  • OEM: 12015197
  • Service: See Catalog
  • Description: 2-Way F Metri-Pack 280 Series (BU)

Terminal Part Information

  • Terminal/Tray: 12034046/2
  • Core/Insulation Crimp: E/A
  • Release Tool/Test Probe: 12094430/J-35616-4A (PU)

I/P Compartment Lamp Switch

Pin

Wire

Circuit

Function

A

0.5 BK

450

Ground

B

0.5 PU

175

Glove Box Lamp Control

I/P Courtesy Lamp - Left


Object Number: 82383  Size: CH

Connector Part Information

  • OEM: 12047662
  • Service: 12085535
  • Description: 2-Way F Metri-Pack 150 Series (BK)

Terminal Part Information

  • Pins: A
  • Terminal/Tray: 12047767/2
  • Core/Insulation Crimp: E/A
  • Release Tool/Test Probe: 12094429/J-35616-14 (GN)
  • Pins: B
  • Terminal/Tray: 12064971/5
  • Core/Insulation Crimp: E/C
  • Release Tool/Test Probe: 12094429/J-35616-14 (GN)

I/P Courtesy Lamp - Left

Pin

Wire

Circuit

Function

A

0.8 GY/BK

690

Courtesy Lamp Relay Control

B

0.5 BK

350

Ground

I/P Courtesy Lamp - Right


Object Number: 82383  Size: CH

Connector Part Information

  • OEM: 12047662
  • Service: 12085535
  • Description: 2-Way F Metri-Pack 150 Series (BK)

Terminal Part Information

  • Terminal/Tray: 12064971/5
  • Core/Insulation Crimp: E/C
  • Release Tool/Test Probe: 12094429/J-35616-14 (GN)

I/P Courtesy Lamp - Right

Pin

Wire

Circuit

Function

A

0.5 GY/BK

690

Courtesy Lamp Supply Voltage

B

0.5 BK

450

Ground

I/P Dimmer Switch


Object Number: 280764  Size: CH

Connector Part Information

  • OEM: 12064993
  • Service: See Catalog
  • Description: 6-Way F Micro-Pack 100 Series (BK)

Terminal Part Information

  • Pins: 5-10
  • Terminal/Tray: 12146447/3
  • Core/Insulation Crimp: E/C
  • Release Tool/Test Probe: 12031876-1/J-35616-6 (BN)

I/P Dimmer Switch

Pin

Wire

Circuit

Function

5

0.35 RD/WH

812

12-Volt Reference or IP Dimming Voltage Reference

6

0.35 YE

6817

LED Backlight Dimming Control

7

0.35 BK

350

Ground

8

0.35 PK/BK

1597

Courtesy Lamps Switch On Signal

9

0.35 D-GN

44

Instrument Panel Lamps Dimmer Switch Signal

10

0.35 BK/WH

351

Ground

Ignition Coil 1 (LLT)


Object Number: 1331446  Size: CH

Connector Part Information

  • OEM: 1928403441
  • Service: 88988582
  • Description: 4-Way F Sealed (BK)

Terminal Part Information

  • Terminal/Tray: 4-964286-1/16
  • Core/Insulation Crimp: E/1
  • Release Tool/Test Probe: 12093647/J-35616-4A (PU)

Ignition Coil 1 (LLT)

Pin

Wire

Circuit

Function

1

0.5 PU

2121

IC 1 Control

2

1 PK/BK

5291

Ignition 1 Voltage

3

1 BK

1350

Ground

4

1 BK

1350

Ground

Ignition Coil 1 (LP1/LY7)


Object Number: 1653384  Size: CH

Connector Part Information

  • OEM: 15466325
  • Service: 88988737
  • Description: 4-Way F Global Terminal/150 Sealed (BK)

Terminal Part Information

  • Terminal/Tray: 12191819/8
  • Core/Insulation Crimp: Pins A, D - 2/A
  • Core/Insulation Crimp: Pins B, C - E/A
  • Release Tool/Test Probe: 15315247/J-35616-2A (GY)

Ignition Coil 1 (LP1/LY7)

Pin

Wire

Circuit

Function

A

1 BK

1350

Ground

B

0.5 BN

2129

Low Reference

C

0.5 PU

2121

IC 1 Control

D

1 PK/BK

5291

Ignition 1 Voltage

Ignition Coil 2 (LLT)


Object Number: 1331446  Size: CH

Connector Part Information

  • OEM: 1928403441
  • Service: 88988582
  • Description: 4-Way F Sealed (BK)

Terminal Part Information

  • Pins: 1, 2
  • Terminal/Tray: 4-964286-1/16
  • Core/Insulation Crimp: E/1
  • Release Tool/Test Probe: 12093647/J-35616-4A (PU)

Ignition Coil 2 (LLT)

Pin

Wire

Circuit

Function

1

0.5 RD/WH

2122

IC 2 Control

2

1 PK/BK

5292

Ignition 1 Voltage

3

1 BK

1450

Ground

4

1 BK

1450

Ground

Ignition Coil 2 (LP1/LY7)


Object Number: 1653384  Size: CH

Connector Part Information

  • OEM: 15466325
  • Service: 88988737
  • Description: 4-Way F Global Terminal/150 Sealed (BK)

Terminal Part Information

  • Terminal/Tray: 12191819/8
  • Core/Insulation Crimp: Pins A, D - 2/A
  • Core/Insulation Crimp: Pins B, C - E/A
  • Release Tool/Test Probe: 15315247/J-35616-2A (GY)

Ignition Coil 2 (LP1/LY7)

Pin

Wire

Circuit

Function

A

1 BK

1450

Ground

B

0.5 BN/WH

2130

Low Reference

C

0.5 RD/WH

2122

IC 2 Control

D

1 PK/BK

5292

Ignition 1 Voltage

Ignition Coil 3 (LLT)


Object Number: 1331446  Size: CH

Connector Part Information

  • OEM: 1928403441
  • Service: 88988582
  • Description: 4-Way F Sealed (BK)

Terminal Part Information

  • Terminal/Tray: 4-964286-1/16
  • Core/Insulation Crimp: E/1
  • Release Tool/Test Probe: 12093647/J-35616-4A (PU)

Ignition Coil 3 (LLT)

Pin

Wire

Circuit

Function

1

0.5 L-BU

2123

IC 3 Control

2

1 PK/BK

5291

Ignition 1 Voltage

3

1 BK

1350

Ground

4

1 BK

1350

Ground

Ignition Coil 3 (LP1/LY7)


Object Number: 1653384  Size: CH

Connector Part Information

  • OEM: 15466325
  • Service: 88988737
  • Description: 4-Way F Global Terminal/150 Sealed (BK)

Terminal Part Information

  • Terminal/Tray: 12191819/8
  • Core/Insulation Crimp: Pins A, D - 2/A
  • Core/Insulation Crimp: Pins B, C - E/A
  • Release Tool/Test Probe: 15315247/J-35616-2A (GY)

Ignition Coil 3 (LP1/LY7)

Pin

Wire

Circuit

Function

A

1 BK

1350

Ground

B

0.5 BN

2129

Low Reference

C

0.5 L-BU

2123

IC 3 Control

D

1 PK/BK

5291

Ignition 1 Voltage

Ignition Coil 4 (LLT)


Object Number: 1331446  Size: CH

Connector Part Information

  • OEM: 1928403441
  • Service: 88988582
  • Description: 4-Way F Sealed (BK)

Terminal Part Information

  • Pins: 1, 2
  • Terminal/Tray: 4-964286-1/16
  • Core/Insulation Crimp: E/1
  • Release Tool/Test Probe: 12093647/J-35616-4A (PU)

Ignition Coil 4 (LLT)

Pin

Wire

Circuit

Function

1

0.5 D-GN/WH

2124

IC 4 Control

2

1 PK/BK

5292

Ignition 1 Voltage

3

1 BK

1450

Ground

4

1 BK

1450

Ground

Ignition Coil 4 (LP1/LY7)


Object Number: 1653384  Size: CH

Connector Part Information

  • OEM: 15466325
  • Service: 88988737
  • Description: 4-Way F Global Terminal/150 Sealed (BK)

Terminal Part Information

  • Terminal/Tray: 12191819/8
  • Core/Insulation Crimp: Pins A, D - 2/A
  • Core/Insulation Crimp: Pins B, C - E/A
  • Release Tool/Test Probe: 15315247/J-35616-2A (GY)

Ignition Coil 4 (LP1/LY7)

Pin

Wire

Circuit

Function

A

1 BK

1450

Ground

B

0.5 BN/WH

2130

Low Reference

C

0.5 D-GN/WH

2124

IC 4 Control

D

1 PK/BK

5292

Ignition 1 Voltage

Ignition Coil 5 (LLT)


Object Number: 1331446  Size: CH

Connector Part Information

  • OEM: 1928403441
  • Service: 88988582
  • Description: 4-Way F Sealed (BK)

Terminal Part Information

  • Terminal/Tray: 4-964286-1/16
  • Core/Insulation Crimp: E/1
  • Release Tool/Test Probe: 12093647/J-35616-4A (PU)

Ignition Coil 5 (LLT)

Pin

Wire

Circuit

Function

1

0.5 D-GN

2125

IC 5 Control

2

1 PK/BK

5291

Ignition 1 Voltage

3

1 BK

1350

Ground

4

1 BK

1350

Ground

Ignition Coil 5 (LP1/LY7)


Object Number: 1653384  Size: CH

Connector Part Information

  • OEM: 15466325
  • Service: 88988737
  • Description: 4-Way F Global Terminal/150 Sealed (BK)

Terminal Part Information

  • Terminal/Tray: 12191819/8
  • Core/Insulation Crimp: Pins A, D - 2/A
  • Core/Insulation Crimp: Pins B, C - E/A
  • Release Tool/Test Probe: 15315247/J-35616-2A (GY)

Ignition Coil 5 (LP1/LY7)

Pin

Wire

Circuit

Function

A

1 BK

1350

Ground

B

0.5 BN

2129

Low Reference

C

0.5 D-GN

2125

IC 5 Control

D

1 PK/BK

5291

Ignition 1 Voltage

Ignition Coil 6 (LLT)


Object Number: 1331446  Size: CH

Connector Part Information

  • OEM: 1928403441
  • Service: 88988582
  • Description: 4-Way F Sealed (BK)

Terminal Part Information

  • Terminal/Tray: 4-964286-1/16
  • Core/Insulation Crimp: E/1
  • Release Tool/Test Probe: 12093647/J-35616-4A (PU)

Ignition Coil 6 (LLT)

Pin

Wire

Circuit

Function

1

0.5 L-BU/WH

2126

IC 6 Control

2

1 PK/BK

5292

Ignition 1 Voltage

3

1 BK

1450

Ground

4

1 BK

1450

Ground

Ignition Coil 6 (LP1/LY7)


Object Number: 1653384  Size: CH

Connector Part Information

  • OEM: 15466325
  • Service: 88988737
  • Description: 4-Way F Global Terminal/150 Sealed (BK)

Terminal Part Information

  • Terminal/Tray: 12191819/8
  • Core/Insulation Crimp: Pins A, D - 2/A
  • Core/Insulation Crimp: Pins B, C - E/A
  • Release Tool/Test Probe: 15315247/J-35616-2A (GY)

Ignition Coil 6 (LP1/LY7)

Pin

Wire

Circuit

Function

A

1 BK

1450

Ground

B

0.5 BN/WH

2130

Low Reference

C

0.5 L-BU/WH

2126

IC 6 Control

D

1 PK/BK

5292

Ignition 1 Voltage

Ignition Lock Cylinder Control Actuator


Object Number: 1856797  Size: CH

Connector Part Information

  • OEM: 7283-7258-30
  • Service: See Catalog
  • Description: 2-Way (BK)

Terminal Part Information

  • Terminal/Tray: See Terminal Repair Kit
  • Core/Insulation Crimp: See Terminal Repair Kit
  • Release Tool/Test Probe: See Terminal Repair Kit

Ignition Lock Cylinder Control Actuator

Pin

Wire

Circuit

Function

1

0.35 PU/WH

1630

Steering Column Key Cylinder Lock Solenoid Control (MYB)

0.35 BK

350

Ground (MV7)

2

0.35 PU/WH

5905

Key Capture/Column Lock Shift Position Signal

Ignition Switch


Object Number: 1664590  Size: CH

Connector Part Information

  • OEM: HCMPB-C06-K
  • Service: 19153174
  • Description: 6-Way F HCM Series (BK)

Terminal Part Information

  • Terminal/Tray: See Terminal Repair Kit
  • Core/Insulation Crimp: See Terminal Repair Kit
  • Release Tool/Test Probe: See Terminal Repair Kit

Ignition Switch

Pin

Wire

Circuit

Function

1

0.35 PK

3

Ignition 1 Voltage

2

0.35 OG

1940

Battery Positive Voltage

3

0.35 BN

4

Accessory Voltage

4

0.35 WH

1390

Off/Run/Crank Voltage

5

0.35 L-GN

80

Key In Ignition Switch Signal (UHA/UHF)

6

0.35 WH/BK

1073

5-Volt Reference

Inflatable Restraint Front End Sensor - Left


Object Number: 1336240  Size: CH

Connector Part Information

  • OEM: 15356725
  • Service: See Catalog
  • Description: 2-Way F GT 150 Sealed (YE)

Terminal Part Information

  • Terminal/Tray: Service with Pigtail
  • Core/Insulation Crimp: N/A
  • Release Tool/Test Probe: 15315247/J-35616-2A (GY)

Inflatable Restraint Front End Sensor - Left

Pin

Wire

Circuit

Function

A

0.35 TN/OG

5045

Discriminating Sensor - Low Reference

B

0.35 YE

354

Discriminating Sensor - Signal

Inflatable Restraint Front End Sensor - Right


Object Number: 1336240  Size: CH

Connector Part Information

  • OEM: 15356725
  • Service: See Catalog
  • Description: 2-Way F GT 150 Series Sealed (YE)

Terminal Part Information

  • Terminal/Tray: Service with Pigtail
  • Core/Insulation Crimp: See Terminal Repair Kit
  • Release Tool/Test Probe: See Terminal Repair Kit

Inflatable Restraint Front End Sensor - Right

Pin

Wire

Circuit

Function

A

0.35 GY

5600

Right Front Discriminating Sensor Low Reference

B

0.35 D-GN

1409

Discriminating Sensor - Right - Signal

Inflatable Restraint Front Passenger Presence System (PPS) Sensor


Object Number: 831380  Size: CH

Connector Part Information

  • OEM: 15332141
  • Service: See Catalog
  • Description: 6-Way F (BK)

Terminal Part Information

  • Terminal/Tray: See Terminal Repair Kit
  • Core/Insulation Crimp: See Terminal Repair Kit
  • Release Tool/Test Probe: See Terminal Repair Kit

Inflatable Restraint Front Passenger Presence System (PPS) Sensor

Pin

Wire

Circuit

Function

A

0.35 OG

1740

Battery Positive Voltage

B

0.35 D-GN

5060

Low Speed GMLAN Serial Data

C

--

--

Not Used

D

0.35 BK/WH

451

Ground

E-F

--

--

Not Used

Inflatable Restraint I/P Module X1


Object Number: 1861740  Size: CH

Connector Part Information

  • OEM: 252922343
  • Service: See Catalog
  • Description: 2-Way F (YE)

Terminal Part Information

  • Terminal/Tray: See Terminal Repair Kit
  • Core/Insulation Crimp: See Terminal Repair Kit
  • Release Tool/Test Probe: See Terminal Repair Kit

Inflatable Restraint I/P Module X1

Pin

Wire

Circuit

Function

1

0.35 YE

3025

I/P Module - Stage 1 - High Control

2

0.35 OG

3024

I/P Module - Stage 1 - Low Control

Inflatable Restraint I/P Module X2


Object Number: 1861740  Size: CH

Connector Part Information

  • OEM: 252922343
  • Service: See Catalog
  • Description: 2-Way F (YE)

Terminal Part Information

  • Terminal/Tray: See Terminal Repair Kit
  • Core/Insulation Crimp: See Terminal Repair Kit
  • Release Tool/Test Probe: See Terminal Repair Kit

Inflatable Restraint I/P Module X2

Pin

Wire

Circuit

Function

1

0.35 PU

3026

I/P Module - Stage 2 - Low Control

2

0.35 GY

3027

I/P Module - Stage 2 - High Control

Inflatable Restraint Roof Rail Module - Driver


Object Number: 646194  Size: CH

Connector Part Information

  • OEM: 12186799
  • Service: See Catalog
  • Description: 2-Way M 280 (YE)

Terminal Part Information

  • Terminal/Tray: See Terminal Repair Kit
  • Core/Insulation Crimp: See Terminal Repair Kit
  • Release Tool/Test Probe: See Terminal Repair Kit

Inflatable Restraint Roof Rail Module - Driver

Pin

Wire

Circuit

Function

A

0.5 BN

5019

Roof Rail Module - Left - High Control

B

0.5 YE/BK

5020

Roof Rail Module - Left - Low Control

Inflatable Restraint Roof Rail Module - Passenger


Object Number: 646194  Size: CH

Connector Part Information

  • OEM: 12186799
  • Service: See Catalog
  • Description: 2-Way M 280 (YE)

Terminal Part Information

  • Terminal/Tray: Service with Pigtail
  • Core/Insulation Crimp: N/A
  • Release Tool/Test Probe: 12094429/J-35616-5 (PU)

Inflatable Restraint Roof Rail Module - Passenger

Pin

Wire

Circuit

Function

A

0.5 BK/WH

5021

Roof Rail Module - Right - High Control

B

0.5 L-GN

5022

Roof Rail Module - Right - Low Control

Inflatable Restraint Seat Position Sensor - Driver (without A45)


Object Number: 1664592  Size: CH

Connector Part Information

  • OEM: 89047381
  • Service: See Catalog
  • Description: 2-Way F (BK)

Terminal Part Information

  • Terminal/Tray: See Terminal Repair Kit
  • Core/Insulation Crimp: See Terminal Repair Kit
  • Release Tool/Test Probe: See Terminal Repair Kit

Inflatable Restraint Seat Position Sensor - Driver (without A45)

Pin

Wire

Circuit

Function

1

0.35 PK

5057

Seat Position Sensor - Low Reference

2

0.35 L-GN

5055

Seat Position Sensor - Left - Signal

Inflatable Restraint Seat Position Sensor - Passenger


Object Number: 1664592  Size: CH

Connector Part Information

  • OEM: 89047381
  • Service: See Catalog
  • Description: 2-Way F (BK)

Terminal Part Information

  • Terminal/Tray: See Terminal Repair Kit
  • Core/Insulation Crimp: See Terminal Repair Kit
  • Release Tool/Test Probe: See Terminal Repair Kit

Inflatable Restraint Seat Position Sensor - Passenger

Pin

Wire

Circuit

Function

1

0.35 PK

5057

Seat Position Sensor - Low Reference

2

0.35 L-BU

5056

Seat Position Sensor - Right - Signal

Inflatable Restraint Sensing and Diagnostic Module (SDM)


Object Number: 1468532  Size: CH

Connector Part Information

  • OEM: 0-184464-8
  • Service: See Catalog
  • Description: 60-Way F 0.64 GET Series Sealed (YE with BK Lock)

Terminal Part Information

  • Terminal/Tray: Service with Terminated Lead
  • Core/Insulation Crimp: N/A
  • Release Tool/Test Probe: N/A

Inflatable Restraint Sensing and Diagnostic Module (SDM)

Pin

Wire

Circuit

Function

1

0.5 BK/WH

1751

Ground

2

0.5 D-GN

5060

Low Speed GMLAN Serial Data

3

0.5 D-GN

5060

Low Speed GMLAN Serial Data

4

0.35 PK

3022

Steering Wheel Module - Stage 2 - Low Control

5

0.35 WH

3023

Steering Wheel Module - Stage 2 - High Control

6

0.35 GY

3027

I/P Module - Stage 2 - High Control

7

0.35 PU

3026

I/P Module - Stage 2 - Low Control

8

0.35 BN

3020

Steering Wheel Module - Stage 1 - Low Control

9

0.35 TN

3021

Steering Wheel Module - Stage 1 - High Control

10

0.35 YE

3025

I/P Module - Stage 1 - High Control

11

0.35 OG

3024

I/P Module - Stage 1 - Low Control

12

0.5 YE/BK

5020

Roof Rail Module - Left - Low Control

13

0.5 BN

5019

Roof Rail Module - Left - High Control

14

0.5 BK/WH

5021

Roof Rail Module - Right - High Control

15

0.5 L-GN

5022

Roof Rail Module - Right - Low Control

16

0.35 BN

2137

Side Impact Module - Left Front - High Control

17

0.35 YE/BK

2138

Side Impact Module - Left Front - Low Control

18

0.35 L-GN

2136

Side Impact Module - Right Front - Low Control

19

0.35 BK/WH

2135

Side Impact Module - Right Front - High Control

20-23

--

--

Not Used

24

0.35 OG/BK

2119

Seat Belt Pretensioner - Left - Low Control

25

0.35 BK/WH

2118

Seat Belt Pretensioner - Left - High Control

26

0.35 L-GN

2116

Seat Belt Pretensioner - Right - High Control

27

0.35 OG

2117

Seat Belt Pretensioner - Right - Low Control

28

0.35 PK

5057

Seat Position Sensor - Low Reference

29

0.35 L-GN

5055

Seat Position Sensor - Left - Signal

30

0.35 L-BU

5056

Seat Position Sensor - Right - Signal

31

0.35 OG

1740

Battery Positive Voltage

32

0.5 PK

1739

Ignition 1 Voltage

33-35

--

--

Not Used

36

0.35 YE

354

Discriminating Sensor - Signal

37

0.35 D-GN

1409

Discriminating Sensor - Right - Signal

38

0.35 TN/OG

5045

Front End Sensor - Signal

39

0.35 GY

5600

Right Front Discriminating Sensor Low Reference

40

0.35 WH

2132

Side Impact Sensing Module - Left - Signal

41

0.35 D-GN

2134

Side Impact Sensing Module - Right - Signal

42

0.35 YE

2131

Side Impact Sensing Module - Left - Voltage

43

0.35 TN

2133

Side Impact Sensing Module - Right - Voltage

44

0.35 L-BU

6622

Left Rear Side Impact Sensing Module Signal

45

0.35 L-BU/WH

6626

Right Rear Side Impact Sensing Module Signal

46

0.35 L-GN/BK

6623

Left Rear Side Impact Sensing Module Low Reference

47

0.35 PK/BK

6627

Right Rear Side Impact Sensing Module Low Reference

48-58

--

--

Not Used

59

0.35 D-GN

5016

Seat Belt Switch - Left - Signal

60

0.35 RD

1362

Seat Belt Switch - Right - Signal

Inflatable Restraint Side Impact Module - Left


Object Number: 1957670  Size: CH

Connector Part Information

  • OEM: 54570206
  • Service: See Catalog
  • Description: 2-Way F (YE)

Terminal Part Information

  • Terminal/Tray: See Terminal Repair Kit
  • Core/Insulation Crimp: See Terminal Repair Kit
  • Release Tool/Test Probe: See Terminal Repair Kit

Inflatable Restraint Side Impact Module - Left

Pin

Wire

Circuit

Function

1

0.5 BN

2137

Side Impact Module - Left Front - High Control

2

0.5 YE/BK

2138

Side Impact Module - Left Front - Low Control

Inflatable Restraint Side Impact Module - Right


Object Number: 1957670  Size: CH

Connector Part Information

  • OEM: 54570206
  • Service: See Catalog
  • Description: 2-Way F (YE)

Terminal Part Information

  • Terminal/Tray: See Terminal Repair Kit
  • Core/Insulation Crimp: See Terminal Repair Kit
  • Release Tool/Test Probe: See Terminal Repair Kit

Inflatable Restraint Side Impact Module - Right

Pin

Wire

Circuit

Function

1

0.5 TN

2135

Side Impact Module - Right Front - High Control

2

0.5 YE/BK

2136

Side Impact Module - Right Front - Low Control

Inflatable Restraint Side Impact Sensor (SIS) - Left Front


Object Number: 877918  Size: CH

Connector Part Information

  • OEM: 15356727
  • Service: See Catalog
  • Description: 2-Way F GT 150 Series Sealed (YE)

Terminal Part Information

  • Terminal/Tray: Service with Pigtail
  • Core/Insulation Crimp: N/A
  • Release Tool/Test Probe: See Terminal Repair Kit

Inflatable Restraint Side Impact Sensor (SIS) - Left Front

Pin

Wire

Circuit

Function

A

0.35 WH

2132

Side Impact Sensing Module - Left - Signal

B

0.35 YE

2131

Side Impact Sensing Module - Left - Voltage

Inflatable Restraint Side Impact Sensor (SIS) - Left Rear


Object Number: 877918  Size: CH

Connector Part Information

  • OEM: 15356727
  • Service: See Catalog
  • Description: 2-Way F GT 150 Series Sealed (YE)

Terminal Part Information

  • Terminal/Tray: See Terminal Repair Kit
  • Core/Insulation Crimp: See Terminal Repair Kit
  • Release Tool/Test Probe: See Terminal Repair Kit

Inflatable Restraint Side Impact Sensor (SIS) - Left Rear

Pin

Wire

Circuit

Function

A

0.35 L-GN/BK

6623

Left Rear Side Impact Sensing Module Low Reference

B

0.35 L-BU

6622

Left Rear Side Impact Sensing Module Signal

Inflatable Restraint Side Impact Sensor (SIS) - Right Front


Object Number: 877918  Size: CH

Connector Part Information

  • OEM: 15356727
  • Service: See Catalog
  • Description: 2-Way F GT 150 Series Sealed (YE)

Terminal Part Information

  • Terminal/Tray: Service with Pigtail
  • Core/Insulation Crimp: N/A
  • Release Tool/Test Probe: See Terminal Repair Kit

Inflatable Restraint Side Impact Sensor (SIS) - Right Front

Pin

Wire

Circuit

Function

A

0.35 D-GN

2134

Side Impact Sensing Module - Right - Signal

B

0.35 TN

2133

Side Impact Sensing Module - Right - Voltage

Inflatable Restraint Side Impact Sensor (SIS) - Right Rear


Object Number: 877918  Size: CH

Connector Part Information

  • OEM: 15356727
  • Service: See Catalog
  • Description: 2-Way F GT 150 Series Sealed (YE)

Terminal Part Information

  • Terminal/Tray: See Terminal Repair Kit
  • Core/Insulation Crimp: See Terminal Repair Kit
  • Release Tool/Test Probe: See Terminal Repair Kit

Inflatable Restraint Side Impact Sensor (SIS) - Right Rear

Pin

Wire

Circuit

Function

A

0.35 PK/BK

6627

Right Rear Side Impact Sensing Module Low Reference

B

0.35 L-BU/WH

6626

Right Rear Side Impact Sensing Module Signal

Inflatable Restraint Steering Wheel Module X1


Object Number: 1841819  Size: CH

Connector Part Information

  • OEM: 54560236
  • Service: See Catalog
  • Description: 2-Way F FFB90-4 Type B (GY)

Terminal Part Information

  • Terminal/Tray: Service with Pigtail
  • Core/Insulation Crimp: See Terminal Repair Kit
  • Release Tool/Test Probe: See Terminal Repair Kit

Inflatable Restraint Steering Wheel Module X1

Pin

Wire

Circuit

Function

1

0.35 TN

3021

Steering Wheel Module - Stage 1 - High Control

2

0.35 BN

3020

Steering Wheel Module - Stage 1 - Low Control

Inflatable Restraint Steering Wheel Module X2


Object Number: 1841821  Size: CH

Connector Part Information

  • OEM: 54560222
  • Service: See Catalog
  • Description: 2-Way F FFB90-4 Type G (PK)

Terminal Part Information

  • Terminal/Tray: Service with Pigtail
  • Core/Insulation Crimp: See Terminal Repair Kit
  • Release Tool/Test Probe: See Terminal Repair Kit

Inflatable Restraint Steering Wheel Module X2

Pin

Wire

Circuit

Function

1

0.35 WH

3023

Steering Wheel Module - Stage 2 - High Control

2

0.35 PK

3022

Steering Wheel Module - Stage 2 - Low Control

Inflatable Restraint Steering Wheel Module Coil X1


Object Number: 1862241  Size: CH

Connector Part Information

  • OEM: AIT2PB-10-1AK
  • Service: See Catalog
  • Description: 10-Way F AIT II Series (BK)

Terminal Part Information

  • Terminal/Tray: Service with Terminated Lead
  • Core/Insulation Crimp: N/A
  • Release Tool/Test Probe: See Terminal Repair Kit

Inflatable Restraint Steering Wheel Module Coil X1

Pin

Wire

Circuit

Function

1

0.35 BK

28

Horn Relay Control

2

0.35 PU

1375

Remote Radio Control Supply Voltage

3

0.35 PU/WH

7005

LED Dimming Signal

4

0.5 BK

350

Ground

5

0.35 GY

1884

Cruise Control Switch Signal

6

0.35 GN/WH

7158

Cruise Control Indicator Dimming Signal

7

0.35 D-BU

1796

Steering Wheel Controls Signal

8-10

--

--

Not Used

Inflatable Restraint Steering Wheel Module Coil X2


Object Number: 1862241  Size: CH

Connector Part Information

  • OEM: 15269795
  • Service: See Catalog
  • Description: 10-Way F AIT II Series (BK)

Terminal Part Information

  • Terminal/Tray: See Terminal Repair Kit
  • Core/Insulation Crimp: See Terminal Repair Kit
  • Release Tool/Test Probe: See Terminal Repair Kit

Inflatable Restraint Steering Wheel Module Coil X2

Pin

Wire

Circuit

Function

1-3

--

--

Not Used

4

0.35 D-BU

1796

Steering Wheel Controls Signal (MV7)

0.35 D-BU

1796

Steering Wheel Controls Signal (MYB)

5

0.35 GN/WH

7158

Cruise Control Indicator Dimming Signal

6

0.5 GY

1884

Cruise Control Switch Signal

7

0.35BK

350

Ground

8

0.35 PU/WH

7005

LED Dimming Signal

9

0.35 PU

1375

Remote Radio Control Supply Voltage

10

0.35 BK

28

Horn Relay Control

Inflatable Restraint Steering Wheel Module Coil X3


Object Number: 1399226  Size: CH

Connector Part Information

  • OEM: 15393421
  • Service: 88987853
  • Description: 4-Way F Micro-Pack 064 Series (YE)

Terminal Part Information

  • Terminal/Tray: Service with Pigtail
  • Core/Insulation Crimp: N/A
  • Release Tool/Test Probe: See Terminal Repair Kit

Inflatable Restraint Steering Wheel Module Coil X3

Pin

Wire

Circuit

Function

1

0.35 TN

3021

Steering Wheel Module - Stage 1 - High Control

2

0.35 BN

3020

Steering Wheel Module - Stage 1 - Low Control

3

0.35 WH

3023

Steering Wheel Module - Stage 2 - High Control

4

0.35 PK

3022

Steering Wheel Module - Stage 2 - Low Control

Inside Rearview Mirror (ISRVM)


Object Number: 872580  Size: CH

Connector Part Information

  • OEM: 917981-2
  • Service: See Catalog
  • Description: 16-Way F (BK)

Terminal Part Information

  • Terminal/Tray: See Terminal Repair Kit
  • Core/Insulation Crimp: See Terminal Repair Kit
  • Release Tool/Test Probe: See Terminal Repair Kit

Inside Rearview Mirror (ISRVM)

Pin

Wire

Circuit

Function

1-7

--

--

Not Used

8

0.35 BK/WH

1051

Ground

9

0.5 L-GN

24

Backup Lamp Supply Voltage

10

--

--

Not Used

11

0.35 D-GN/WH

2514

Keypad Signal (UE1)

12

0.35 L-GN/BK

2515

Keypad Supply Voltage (UE1)

13

0.35 YE

43

Accessory Voltage

14

0.35 YE/BK

2516

Keypad Green LED Signal (UE1)

15

0.35 BN/WH

2517

Keypad Red LED Signal (UE1)

16

--

--

Not Used

Instrument Panel Cluster (IPC)


Object Number: 1715223  Size: CH

Connector Part Information

  • OEM: 15126711
  • Service: See Catalog
  • Description: 20-Way F 0.64 Series (BK)

Terminal Part Information

  • Pins: 1, 2, 4, 5, 9-13, 17, 19, 20
  • Terminal/Tray: SAITS-A03-M064
  • Core/Insulation Crimp: Pins 1, 10 - See Terminal Repair Kit
  • Core/Insulation Crimp: Pins 2, 4, 5, 9, 11-13, 17, 19, 20 - P/P
  • Release Tool/Test Probe: See Terminal Repair Kit

Instrument Panel Cluster (IPC)

Pin

Wire

Circuit

Function

1

0.5 TN/WH

33

Brake Warning Indicator Control

2

0.35 PK

893

DIC Select Menu Switch Signal

3

--

--

Not Used

4

0.35 D-GN

5060

Low Speed GMLAN Serial Data

5

0.35 D-GN

5060

Low Speed GMLAN Serial Data

6-8

--

--

Not Used

9

0.35 D-BU/WH

5970

Washer Fluid Heated Control Switch LED Supply Voltage (XA7)

10

0.5 TN

185

Low Washer Fluid Indicator Control

11

0.35 D-GN/WH

1358

DIC Switch Signal

12

0.35 BN

897

DIC Switch Low Reference

13

0.35 BN/WH

419

MIL Control

14-16

--

--

Not Used

17

0.35 BK/WH

351

Ground

18

--

--

Not Used

19

0.35 OG

540

Battery Positive Voltage

20

0.35 PK

1739

Ignition 1 Voltage

Intake Manifold Tuning (IMT) Solenoid Valve (LP1/LY7)


Object Number: 594477  Size: CH

Connector Part Information

  • OEM: 15326389
  • Service: See Catalog
  • Description: 5-Way F Metri-Pack 150 Sealed (BK)

Terminal Part Information

  • Pins: E
  • Terminal/Tray: 12191819/8
  • Core/Insulation Crimp: 2/A
  • Release Tool/Test Probe: 15315247/J-35616-2A (GY)
  • Pins: B-E
  • Terminal/Tray: 15326267/19
  • Core/Insulation Crimp: Pins B, C, D - E/4
  • Core/Insulation Crimp: Pins E - E/1
  • Release Tool/Test Probe: 15315247/J-35616-2A (GY)

Intake Manifold Tuning (IMT) Solenoid Valve (LP1/LY7)

Pin

Wire

Circuit

Function

A

--

--

Not Used

B

0.5 YE

7017

Variable Intake Manifold Position Signal

C

0.5 L-BU

7302

Intake Manifold Tuning Valve (IMTV) Control Signal

D

0.5 BK/WH

1551

Ground

E

0.8 PK/BK

5293

Powertrain Main Relay Fused Supply

Intrusion Sensor (UA2)


Object Number: 684911  Size: CH

Connector Part Information

  • OEM: 15326747
  • Service: See Catalog
  • Description: 3-Way F (BK)

Terminal Part Information

  • Terminal/Tray: See Terminal Repair Kit
  • Core/Insulation Crimp: See Terminal Repair Kit
  • Release Tool/Test Probe: See Terminal Repair Kit

Intrusion Sensor (UA2)

Pin

Wire

Circuit

Function

A

0.35 OG

4540

Battery Positive Voltage

B

0.35 PU

5059

Intrusion Sensor Alarm On Signal

C

0.35 YE

5058

Intrusion Sensor Armed Signal

Keyless Entry Antenna - Center Console Active (UHA/UHF)


Object Number: 1470566  Size: CH

Connector Part Information

  • OEM: IL-AG5-5S-S3C9
  • Service: See Catalog
  • Description: 5-Way F (GN)

Terminal Part Information

  • Pins: 2-5
  • Terminal/Tray: See Terminal Repair Kit
  • Core/Insulation Crimp: See Terminal Repair Kit
  • Release Tool/Test Probe: See Terminal Repair Kit

Keyless Entry Antenna - Center Console Active (UHA/UHF)

Pin

Wire

Circuit

Function

1

--

--

Not Used

2

0.35 PU/WH

5715

Keyless Entry Active Antenna Supply Voltage

3

0.35 GY

5717

Keyless Entry Active Antenna Data Signal

4

0.35 L-BU

5716

Keyless Entry Active Antenna Clock Signal

5

0.35 OG/BK

5718

Keyless Entry Active Antenna Low Reference

Keyless Entry Antenna - Center Console Passive (UHA/UHF)


Object Number: 1334534  Size: CH

Connector Part Information

  • OEM: 12162017
  • Service: See Catalog
  • Description: 2-Way F Metri-Pack 150 Series Sealed (GY)

Terminal Part Information

  • Terminal/Tray: 12048074/2
  • Core/Insulation Crimp: E/1
  • Release Tool/Test Probe: 12094429/J-35616-14 (GN)

Keyless Entry Antenna - Center Console Passive (UHA/UHF)

Pin

Wire

Circuit

Function

A

0.35 PU

218

Keyless Entry/Tire Pressure Antenna Signal

B

0.35 TN

219

Keyless Entry Antenna Low Reference

Keyless Entry Antenna - Left Front Door Handle (UHA/UHF)


Object Number: 1963826  Size: CH

Connector Part Information

  • OEM: 174352-2
  • Service: See Catalog
  • Description: 2-Way F Econoseal J-Mark II Series Sealed (BK)

Terminal Part Information

  • Terminal/Tray: 184095-1/7
  • Core/Insulation Crimp: E/D
  • Release Tool/Test Probe: 12094429/J35616-33 (YE)

Keyless Entry Antenna - Left Front Door Handle (UHA/UHF)

Pin

Wire

Circuit

Function

1

0.35 YE

5714

Keyless Entry Antenna Low Reference

2

0.35 WH

5710

Keyless Entry Antenna Signal

Keyless Entry Antenna - Rear Compartment (UHA/UHF)


Object Number: 1334534  Size: CH

Connector Part Information

  • OEM: 12162017
  • Service: See Catalog
  • Description: 2-Way F Metri-Pack 150 Series Sealed (GY)

Terminal Part Information

  • Terminal/Tray: 12048074/2
  • Core/Insulation Crimp: E/1
  • Release Tool/Test Probe: 12094429/J-35616-14 (GN)

Keyless Entry Antenna - Rear Compartment (UHA/UHF)

Pin

Wire

Circuit

Function

A

0.35 OG

5708

Keyless Entry Antenna Signal

B

0.35 OG/BK

5712

Keyless Entry Antenna Low Reference

Keyless Entry Antenna - Right Front Door Handle (UHA/UHF)


Object Number: 1963826  Size: CH

Connector Part Information

  • OEM: 174352-2
  • Service: See Catalog
  • Description: 2-Way F Econoseal J-Mark II Series Sealed (BK)

Terminal Part Information

  • Terminal/Tray: 184095-1/7
  • Core/Insulation Crimp: E/D
  • Release Tool/Test Probe: 12094429/J35616-33 (YE)

Keyless Entry Antenna - Right Front Door Handle (UHA/UHF)

Pin

Wire

Circuit

Function

1

0.35 YE

5714

Keyless Entry Antenna Low Reference

2

0.35 WH

5710

Keyless Entry Antenna Signal

Knock Sensor (KS) 1


Object Number: 784092  Size: CH

Connector Part Information

  • OEM: 1928403874
  • Service: 88988963
  • Description: 2-Way F Compact 2.8 Series Sealed (BK)

Terminal Part Information

  • Terminal/Tray: 1928498054/8
  • Core/Insulation Crimp: E/1
  • Release Tool/Test Probe: J-38125-561/J-35616-35 (VT)

Knock Sensor (KS) 1

Pin

Wire

Circuit

Function

1

0.5 D-BU

496

Knock Sensor Signal

2

0.5 GY

1716

Knock Sensor Signal

Knock Sensor (KS) 2


Object Number: 784092  Size: CH

Connector Part Information

  • OEM: 1928403874
  • Service: 88988963
  • Description: 2-Way F Compact 2.8 Series Sealed (BK)

Terminal Part Information

  • Terminal/Tray: 1928498056/8
  • Core/Insulation Crimp: E/1
  • Release Tool/Test Probe: J-38125-561/J-35616-35 (VT)

Knock Sensor (KS) 2

Pin

Wire

Circuit

Function

1

0.5 L-BU

1876

Knock Sensor Signal

2

0.5 GY

2303

Knock Sensor Signal

License Lamp - Left


Object Number: 1862103  Size: CH

Connector Part Information

  • OEM: 34062-0001
  • Service: See Catalog
  • Description: 2-Way F Sealed (BK)

Terminal Part Information

  • Terminal/Tray: See Terminal Repair Kit
  • Core/Insulation Crimp: See Terminal Repair Kit
  • Release Tool/Test Probe: See Terminal Repair Kit

License Lamp - Left

Pin

Wire

Circuit

Function

1

0.35 BN/WH

309

Right Park Lamp Supply Voltage

2

0.35 BK

1050

Ground

License Lamp - Right


Object Number: 1862103  Size: CH

Connector Part Information

  • OEM: 34062-0001
  • Service: See Catalog
  • Description: 2-Way F Sealed (BK)

Terminal Part Information

  • Terminal/Tray: See Terminal Repair Kit
  • Core/Insulation Crimp: See Terminal Repair Kit
  • Release Tool/Test Probe: See Terminal Repair Kit

License Lamp - Right

Pin

Wire

Circuit

Function

1

0.35 BN/WH

309

Right Park Lamp Supply Voltage

2

0.35 BK

1050

Ground

Marker Lamp - Left Front (without T90)


Object Number: 35441  Size: CH

Connector Part Information

  • OEM: 12047663
  • Service: See Catalog
  • Description: 2-Way M Sealed (BK)

Terminal Part Information

  • Terminal/Tray: See Terminal Repair Kit
  • Core/Insulation Crimp: See Terminal Repair Kit
  • Release Tool/Test Probe: See Terminal Repair Kit

Marker Lamp - Left Front (without T90)

Pin

Wire

Circuit

Function

A

0.35 BK

709

Left Marker Lamp Supply Voltage

B

0.35 BK

150

Ground

Marker Lamp - Right Front (without T90)


Object Number: 35441  Size: CH

Connector Part Information

  • OEM: 12047663
  • Service: See Catalog
  • Description: 2-Way M Sealed (BK)

Terminal Part Information

  • Terminal/Tray: See Terminal Repair Kit
  • Core/Insulation Crimp: See Terminal Repair Kit
  • Release Tool/Test Probe: See Terminal Repair Kit

Marker Lamp - Right Front (without T90)

Pin

Wire

Circuit

Function

A

0.35 BK

309

Right Marker Lamp Supply Voltage

B

0.35 BK

250

Ground

Mass Air Flow (MAF)/Intake Air Temperature (IAT) Sensor


Object Number: 684983  Size: CH

Connector Part Information

  • OEM: 13520906
  • Service: 19151493
  • Description: 5-Way F GT 150 Sealed 4.0 (BK)

Terminal Part Information

  • Pins: C
  • Terminal/Tray: 12191812/19
  • Core/Insulation Crimp: C/A
  • Release Tool/Test Probe: 15315247/J-35616-2A (GY)
  • Terminal/Tray: 12191819/8
  • Core/Insulation Crimp: Pins A, B, D, E - E/A
  • Core/Insulation Crimp: Pins C - 2/A
  • Release Tool/Test Probe: 15315247/J-35616-2A (GY)

Mass Air Flow (MAF)/Intake Air Temperature (IAT) Sensor

Pin

Wire

Circuit

Function

A

0.5 YE

492

MAF Sensor Signal

B

0.5 PK

339

Ignition 1 Voltage

C

0.8 BK/WH

1551

Ground

D

0.5 L-BU

6289

Induction Air Temperature Sensor Signal

E

0.5 BK

2760

Low Reference

Memory Seat Module (MSM) (A45) X1


Object Number: 1566781  Size: CH

Connector Part Information

  • OEM: 15134091
  • Service: See Catalog
  • Description: 16-Way F (BK)

Terminal Part Information

  • Terminal/Tray: See Terminal Repair Kit
  • Core/Insulation Crimp: See Terminal Repair Kit
  • Release Tool/Test Probe: See Terminal Repair Kit

Memory Seat Module (MSM) (A45) X1

Pin

Wire

Circuit

Function

1-5

--

--

Not Used

6

0.8 PK

2077

Driver Seat Cushion Heated/Cool Ventilation Module Heat Control (KA1/KB6)

7

1 TN

2110

Steering Column Telescope Motor Control - Reverse

8

1 RD/WH

2098

Steering Column Telescope Motor Forward

9

1 TN

285

Driver Seat Horizontal Motor Forward Control

10

1 L-GN

284

Driver Seat Horizontal Motor Rearward Control

11

0.8 L-GN

2078

Driver Seat Cushion Heated/Cool Ventilation Module Cool Control (KA1/KB6)

12

1 D-GN

286

Driver Seat Front Vertical Motor Up Control

13

1 D-BU

287

Driver Seat Front Vertical Motor Down Control

14

0.8 D-BU

2479

Passenger Seat Cushion Heated/Cool Ventilation Module Heat Control (KA1/KB6)

15

1 YE

282

Driver Seat Rear Vertical Motor Up Control

16

1 L-BU

283

Driver Seat Rear Vertical Motor Down Control

Memory Seat Module (MSM) (A45) X2


Object Number: 1710989  Size: CH

Connector Part Information

  • OEM: 15134094
  • Service: See Catalog
  • Description: 6-Way F (BK)

Terminal Part Information

  • Terminal/Tray: See Terminal Repair Kit
  • Core/Insulation Crimp: See Terminal Repair Kit
  • Release Tool/Test Probe: See Terminal Repair Kit

Memory Seat Module (MSM) (A45) X2

Pin

Wire

Circuit

Function

1

0.35 GY

6206

Memory Sensor Low Reference

2

--

--

Not Used

3

0.35 YE

2080

Driver Seat Cushion Temperature Sensor Low Reference (KA1/KB6)

4-5

--

--

Not Used

6

0.35 PK

2435

Passenger Seat Cushion Temperature Sensor Low Reference (KA1/KB6)

Memory Seat Module (MSM) (A45) X3


Object Number: 1664577  Size: CH

Connector Part Information

  • OEM: 15134095
  • Service: See Catalog
  • Description: 6-Way F (BN)

Terminal Part Information

  • Terminal/Tray: See Terminal Repair Kit
  • Core/Insulation Crimp: See Terminal Repair Kit
  • Release Tool/Test Probe: See Terminal Repair Kit

Memory Seat Module (MSM) (A45) X3

Pin

Wire

Circuit

Function

1

3 BK

350

Ground

2

2 OG

3740

Battery Positive Voltage

3

0.35 PU/WH

6205

Driver Position Switch High Reference

4

3 BK

350

Ground

5

3 RD/WH

3840

Battery Positive Voltage

6

0.35 RD/WH

3140

Battery Positive Voltage

Memory Seat Module (MSM) (A45) X4


Object Number: 1664549  Size: CH

Connector Part Information

  • OEM: 15134092
  • Service: See Catalog
  • Description: 16-Way F (GN)

Terminal Part Information

  • Terminal/Tray: See Terminal Repair Kit
  • Core/Insulation Crimp: See Terminal Repair Kit
  • Release Tool/Test Probe: See Terminal Repair Kit

Memory Seat Module (MSM) (A45) X4

Pin

Wire

Circuit

Function

1-6

--

--

Not Used

7

1 BK

2112

Steering Column Tilt Motor Control - Down

8

1 PK

2111

Steering Column Tilt Motor Control - Up

9-11

--

--

Not Used

12

1 D-BU

611

Driver Seat Lumbar Motor Forward Control

13

1 PK

610

Driver Seat Lumbar Motor Rearward Control

14

0.8 PK

2480

Passenger Seat Cushion Heated/Cool Ventilation Module Cool Control (KA1/KB6)

15

1 L-GN

276

Driver Seat Recline Motor Forward Control

16

1 L-BU

277

Driver Seat Recline Motor Rearward Control

Memory Seat Module (MSM) (A45) X5


Object Number: 1715223  Size: CH

Connector Part Information

  • OEM: 15126711
  • Service: See Catalog
  • Description: 20-Way F (BK)

Terminal Part Information

  • Terminal/Tray: See Terminal Repair Kit
  • Core/Insulation Crimp: See Terminal Repair Kit
  • Release Tool/Test Probe: See Terminal Repair Kit

Memory Seat Module (MSM) (A45) X5

Pin

Wire

Circuit

Function

1

0.35 YE/BK

2079

Seat Cushion Temperature Sensor Signal (KA1/KB6)

2

0.35 GY

2434

Passenger Seat Cushion Temperature Sensor Signal (KA1/KB6)

3-8

--

--

Not Used

9

0.35 OG

2153

Steering Column Telescope Sensor Signal

10

--

--

Not Used

11

0.35 TN

6207

Memory Sensor High Reference

12-13

--

--

Not Used

14

0.35 BN/WH

557

Front Vertical Seat Motor Position Sensor Signal

15

0.35 TN

568

Rear Vertical Seat Motor Position Sensor Signal

16

0.35 D-GN

569

Horizontal Seat Motor Position Sensor Signal

17

0.35 WH/BK

570

Driver Seat Recline Motor Position Sensor Signal

18

--

--

Not Used

19

0.35 YE

1063

Driver Seat Lumbar Horizontal Position Sensor Signal

20

0.35 OG

2154

Steering Column Tilt Sensor Signal

Memory Seat Module (MSM) (A45) X6


Object Number: 1715228  Size: CH

Connector Part Information

  • OEM: 15126710
  • Service: See Catalog
  • Description: 20-Way F (GY)

Terminal Part Information

  • Terminal/Tray: See Terminal Repair Kit
  • Core/Insulation Crimp: See Terminal Repair Kit
  • Release Tool/Test Probe: See Terminal Repair Kit

Memory Seat Module (MSM) (A45) X6

Pin

Wire

Circuit

Function

1

--

--

Not Used

2

0.35 D-BU

5915

Passenger Seat Blower Speed Control (KB6)

3-5

--

--

Not Used

6

0.35 YE

1065

Driver Seat Lumbar Forward Switch Signal

7

--

--

Not Used

8

0.35 GY

2096

Steering Column Tilt and Telescope Up Switch Signal

9

0.35 PK

2094

Steering Column Tilt and Telescope Forward Switch Signal

10

--

--

Not Used

11

0.35 OG

5919

Driver Seat Blower Speed Control

12-15

--

--

Not Used

16

0.35 D-BU

1064

Driver Seat Lumbar Rearward Switch Signal

17

--

--

Not Used

18

0.35 YE

2097

Steering Column Tilt and Telescope Down Switch Signal

19

0.35 OG

2095

Steering Column Tilt and Telescope Reverse Switch Signal

20

--

--

Not Used

Memory Seat Module (MSM) (A45) X7


Object Number: 1715226  Size: CH

Connector Part Information

  • OEM: 15126709
  • Service: See Catalog
  • Description: 20-Way F (BN)

Terminal Part Information

  • Terminal/Tray: See Terminal Repair Kit
  • Core/Insulation Crimp: See Terminal Repair Kit
  • Release Tool/Test Probe: See Terminal Repair Kit

Memory Seat Module (MSM) (A45) X7

Pin

Wire

Circuit

Function

1-6

--

--

Not Used

7

0.35 D-GN

1518

Power Seat Front Vertical Up Switch Signal

8

0.35 YE

1519

Power Seat Rear Vertical Up Switch Signal

9

0.35 TN

1522

Power Seat Horizontal Forward Switch Signal

10

0.35 GY/BK

1269

Power Seat Recline Forward Switch Signal

11-15

--

--

Not Used

16

0.35 D-GN

5060

Low Speed GMLAN Serial Data

17

0.35 D-BU

1520

Power Seat Front Vertical Down Switch Signal

18

0.35 L-BU

1521

Power Seat Rear Vertical Down Switch Signal

19

0.35 L-GN

1523

Power Seat Horizontal Rearward Switch Signal

20

0.35 D-GN/WH

1270

Power Seat Recline Rearward Switch Signal

Mode Actuator


Object Number: 861682  Size: CH

Connector Part Information

  • OEM: 7283583030
  • Service: See Catalog
  • Description: 5-Way F (BK)

Terminal Part Information

  • Terminal/Tray: See Terminal Repair Kit
  • Core/Insulation Crimp: See Terminal Repair Kit
  • Release Tool/Test Probe: See Terminal Repair Kit

Mode Actuator

Pin

Wire

Circuit

Function

1

0.35 GY

605

5-Volt Reference 3

2

0.35 YE

61

Low Reference

3

0.35 YE/BK

1814

Lower Mode Door Position Signal

4

0.35 OG

2273

Mode Door Control

5

0.35 YE/GN

1318

Mode Door Control

Navigation and Traffic Data Antenna (U2X)


Object Number: 1283905  Size: CH

Connector Part Information

  • OEM: 7283-6454-40
  • Service: See Catalog
  • Description: 14-Way F (L-GY)

Terminal Part Information

  • Terminal/Tray: See Terminal Repair Kit
  • Core/Insulation Crimp: See Terminal Repair Kit
  • Release Tool/Test Probe: See Terminal Repair Kit

Navigation and Traffic Data Antenna (U2X)

Pin

Wire

Circuit

Function

1

0.35 YE

--

COAX

2-3

--

--

Not Used

4

0.35 GY

--

COAX

5

0.35 BARE

1782

Drain Wire

6

0.35 BN

--

COAX

7-11

--

--

Not Used

12

0.35 YE

--

COAX

13-14

--

--

Not Used

Noise Compensation Microphone (UQS)


Object Number: 258301  Size: CH

Connector Part Information

  • OEM: 12059254
  • Service: See Catalog
  • Description: 2-Way F (GN)

Terminal Part Information

  • Terminal/Tray: See Terminal Repair Kit
  • Core/Insulation Crimp: See Terminal Repair Kit
  • Release Tool/Test Probe: See Terminal Repair Kit

Noise Compensation Microphone (UQS)

Pin

Wire

Circuit

Function

A

0.35 BARE

1489

Drain Wire

B

0.35 D-GN

1488

Noise Compensation Microphone Supply Voltage

Object Alarm Sensor - Left Rear Corner (UD7)


Object Number: 1664596  Size: CH

Connector Part Information

  • OEM: 31403-3700
  • Service: 88988337
  • Description: 3-Way F MX64 Series Sealed (BK)

Terminal Part Information

  • Terminal/Tray: SAITS-A03-M064
  • Core/Insulation Crimp: P/P
  • Release Tool/Test Probe: See Terminal Repair Kit

Object Alarm Sensor - Left Rear Corner (UD7)

Pin

Wire

Circuit

Function

1

0.35 D-BU

2374

Object Sensor Supply Voltage

2

0.35 GY

2379

Object Sensor Low Reference

3

0.35 YE

2375

Left Rear Corner Object Sensor Signal

Object Alarm Sensor - Left Rear Middle (UD7)


Object Number: 1664596  Size: CH

Connector Part Information

  • OEM: 31403-3700
  • Service: 88988337
  • Description: 3-Way F MX64 Series Sealed (BK)

Terminal Part Information

  • Terminal/Tray: SAITS-A03-M064
  • Core/Insulation Crimp: P/P
  • Release Tool/Test Probe: See Terminal Repair Kit

Object Alarm Sensor - Left Rear Middle (UD7)

Pin

Wire

Circuit

Function

1

0.35 D-BU

2374

Object Sensor Supply Voltage

2

0.35 GY

2379

Object Sensor Low Reference

3

0.35 OG

2376

Left Rear Middle Object Sensor Signal

Object Alarm Sensor - Right Rear Corner (UD7)


Object Number: 1664596  Size: CH

Connector Part Information

  • OEM: 31403-3700
  • Service: 88988337
  • Description: 3-Way F MX64 Series Sealed (BK)

Terminal Part Information

  • Terminal/Tray: SAITS-A03-M064
  • Core/Insulation Crimp: P/P
  • Release Tool/Test Probe: See Terminal Repair Kit

Object Alarm Sensor - Right Rear Corner (UD7)

Pin

Wire

Circuit

Function

1

0.35 D-BU

2374

Object Sensor Supply Voltage

2

0.35 GY

2379

Object Sensor Low Reference

3

0.35 RD

2378

Right Rear Corner Object Sensor Signal

Object Alarm Sensor - Right Rear Middle (UD7)


Object Number: 1664596  Size: CH

Connector Part Information

  • OEM: 31403-3700
  • Service: 88988337
  • Description: 3-Way F MX64 Series Sealed (BK)

Terminal Part Information

  • Terminal/Tray: SAITS-A03-M064
  • Core/Insulation Crimp: P/P
  • Release Tool/Test Probe: See Terminal Repair Kit

Object Alarm Sensor - Right Rear Middle (UD7)

Pin

Wire

Circuit

Function

1

0.35 D-BU

2374

Object Sensor Supply Voltage

2

0.35 GY

2379

Object Sensor Low Reference

3

0.35 D-GN

2377

Right Rear Middle Object Sensor Signal

Outside Rearview Mirror - Driver


Object Number: 1664597  Size: CH

Connector Part Information

  • OEM: 7282-7696-40
  • Service: See Catalog
  • Description: 12-Way M (L-GY)

Terminal Part Information

  • Terminal/Tray: See Terminal Repair Kit
  • Core/Insulation Crimp: See Terminal Repair Kit
  • Release Tool/Test Probe: See Terminal Repair Kit

Outside Rearview Mirror - Driver

Pin

Wire

Circuit

Function

1

0.35 D-BU/WH

6160

Outside Left Mirror Vertical Position Control

2

0.35 WH

7197

Outside Left Mirror Drive Motor Common

3

0.35 D-GN/WH

6159

Outside Left Mirror Horizontal Position Control

4

0.35 YE

190

Driver Folding Mirror Motor Extend Control (DL7/D26)

5

0.35 L-BU

191

Driver Folding Mirror Motor Retract Control (DL7/D26)

6

0.8 BK

350

Ground

7

0.8 WH

606

Driver Mirror Heating Element Supply Voltage

8

--

--

Not Used

9

0.35 D-BU

672

5-Volt Reference (A45)

10

0.35 D-GN

784

Driver Mirror Vertical Position Sensor Signal (A45)

11

0.35 GY

786

Driver Mirror Horizontal Position Sensor Signal (A45)

12

0.35 BN

673

Low Reference (A45)

Outside Rearview Mirror - Passenger


Object Number: 1664597  Size: CH

Connector Part Information

  • OEM: 7282-7696-40
  • Service: See Catalog
  • Description: 12-Way M (L-GY)

Terminal Part Information

  • Terminal/Tray: See Terminal Repair Kit
  • Core/Insulation Crimp: See Terminal Repair Kit
  • Release Tool/Test Probe: See Terminal Repair Kit

Outside Rearview Mirror - Passenger

Pin

Wire

Circuit

Function

1

0.35 OG/BK

6162

Outside Right Mirror Vertical Position Control

2

0.35 WH

7196

Outside Right Mirror Drive Motor Common

3

0.35 GY/BK

6161

Outside Right Mirror Horizontal Position Control

4

0.35 YE

5004

Passenger Folding Mirror Motor Extend Control (DL7/D26)

5

0.35 L-BU

5023

Passenger Folding Mirror Motor Retract Control (DL7/D26)

6

0.8 BK

450

Ground

7

0.8 PU

607

Passenger Mirror Heating Element Supply Voltage

8

--

--

Not Used

9

0.35 YE

674

5-Volt Reference (A45)

10

0.35 BN

787

Passenger Mirror Vertical Position Sensor Signal (A45)

11

0.35 L-BU/BK

785

Passenger Mirror Horizontal Position Sensor Signal (A45)

12

0.35 L-GN

675

Low Reference (A45)

Park Brake Switch


Object Number: 439818  Size: CH

Connector Part Information

  • OEM: 12047682
  • Service: See Catalog
  • Description: 1-Way F Metri-Pack 150 Series (BK)

Terminal Part Information

  • Terminal/Tray: 12064971/5
  • Core/Insulation Crimp: E/C
  • Release Tool/Test Probe: 12094429/J-35616-14 (GN)

Park Brake Switch

Pin

Wire

Circuit

Function

A

0.5 OG/BK

233

Park Brake Switch Signal

Park Lamp - Left Front


Object Number: 35441  Size: CH

Connector Part Information

  • OEM: 12047663
  • Service: See Catalog
  • Description: 2-Way M (BK)

Terminal Part Information

  • Terminal/Tray: See Terminal Repair Kit
  • Core/Insulation Crimp: See Terminal Repair Kit
  • Release Tool/Test Probe: See Terminal Repair Kit

Park Lamp - Left Front

Pin

Wire

Circuit

Function

A

0.35 BK

709

Left Park Lamp Supply Voltage

B

0.35 BK

150

Ground

Park Lamp - Right Front


Object Number: 35441  Size: CH

Connector Part Information

  • OEM: 12047663
  • Service: See Catalog
  • Description: 2-Way M (BK)

Terminal Part Information

  • Terminal/Tray: See Terminal Repair Kit
  • Core/Insulation Crimp: See Terminal Repair Kit
  • Release Tool/Test Probe: See Terminal Repair Kit

Park Lamp - Right Front

Pin

Wire

Circuit

Function

A

0.35 BK

309

Right Park Lamp Supply Voltage

B

0.35 BK

250

Ground

Park Lamp Relay (T90)


Object Number: 281201  Size: CH

Connector Part Information

  • OEM: 12110541
  • Service: See Catalog
  • Description: 6-Way F Metri-Pack 280 Series, Flexlock (BK)

Terminal Part Information

  • Pins: A1, A2, C1, C2
  • Terminal/Tray: 12110844/4
  • Core/Insulation Crimp: Pins A1, A2 - E/C
  • Core/Insulation Crimp: Pins C1, C2 - E/A
  • Release Tool/Test Probe: 15315247/J-35616-4A (PU)

Park Lamp Relay (T90)

Pin

Wire

Circuit

Function

A1

0.35 BK

1050

Ground

A2

0.35 BN

2209

Rear Park Lamps Supply Voltage

B1-B2

--

--

Not Used

C1

0.5 BN/WH

309

Right Park Lamp Supply Voltage

C2

0.5 PU

709

Left Park Lamp Supply Voltage

Pedestrian Impact Detection Module X1 (B3T)


Object Number: 1974972  Size: CH

Connector Part Information

  • OEM: 1452636-3
  • Service: See Catalog
  • Description: 56-Way F (BK)

Terminal Part Information

  • Pins: 15-18, 35-38
  • Terminal/Tray: 1411560-2/25
  • Core/Insulation Crimp: E/C
  • Release Tool/Test Probe: 12094429/J-35616-64B (L-BU)

Pedestrian Impact Detection Module X1 (B3T)

Pin

Wire

Circuit

Function

1-14

--

--

Not Used

15

0.35 WH

7492

Hood Actuator Hood High Reference

16

0.35 PU

7491

Hood Actuator Hood Low Reference

17

0.35 OG

7489

Actuator Hood Low Reference

18

0.35 PK

7490

Hood Actuator Hood High Reference

19-34

--

--

Not Used

35

0.5 TN/WH

2500

High Speed GMLAN Serial Data Bus+

36

0.5 TN/WH

2500

High Speed GMLAN Serial Data Bus+

37

0.5 TN

2501

High Speed GMLAN Serial Data Bus-

38

0.5 TN

2501

High Speed GMLAN Serial Data Bus-

39-56

--

--

Not Used

Pedestrian Impact Detection Module X2 (B3T)


Object Number: 1974973  Size: CH

Connector Part Information

  • OEM: 1452636-4
  • Service: See Catalog
  • Description: 56-Way F (BK)

Terminal Part Information

  • Pins: 15, 16, 29-31, 39-42
  • Terminal/Tray: 1411560-2/25
  • Core/Insulation Crimp: E/C
  • Release Tool/Test Probe: 12094429/J-35616-64B (L-BU)

Pedestrian Impact Detection Module X2 (B3T)

Pin

Wire

Circuit

Function

1-14

--

--

Not Used

15

0.5 OG

2740

Battery Positive Voltage

16

0.35 BK/WH

351

Ground

17-28

--

--

Not Used

29

0.35 L-BU

5986

Serial Data Communication Enable

30

0.35 YE/BK

2160

Front End Discriminating Sensor Signal

31

0.35 GY/BK

2260

SIR Forward Sensor Low Reference

32-38

--

--

Not Used

39

0.35 YE

1834

Forward Discriminating Sensor Signal

40

0.35 BK

407

Low Reference

41

0.35 GY

349

Discriminating Sensor - Left - Signal

42

0.35 D-GN/WH

6620

Left Middle Side Impact Sensing Module Signal

43-56

--

--

Not Used

Pedestrian Impact Detection Sensor - Front Upper Beam (B3T)


Object Number: 810084  Size: CH

Connector Part Information

  • OEM: 1-967640-1
  • Service: 88953370
  • Description: 4-Way F MQS Socket Housing, Sealed (BK)

Terminal Part Information

  • Terminal/Tray: 962885-5/15
  • Core/Insulation Crimp: 6/6
  • Release Tool/Test Probe: 12094429/J-35616-64B (L-BU)

Pedestrian Impact Detection Sensor - Front Upper Beam (B3T)

Pin

Wire

Circuit

Function

1

0.35 BK

407

Low Reference

2

0.35 YE

1834

Forward Discriminating Sensor Signal

3

0.35 D-GN/WH

6620

Left Middle Side Impact Sensing Module Signal

4

0.35 GY

349

Discriminating Sensor - Left - Signal

Pedestrian Impact Detection Sensor - Rear Upper Beam (B3T)


Object Number: 784092  Size: CH

Connector Part Information

  • OEM: 5-1241905-7
  • Service: See Catalog
  • Description: 2-Way F (YE)

Terminal Part Information

  • Terminal/Tray: 962885-5/15
  • Core/Insulation Crimp: 6/6
  • Release Tool/Test Probe: 12094429/J-35616-64B (L-BU)

Pedestrian Impact Detection Sensor - Rear Upper Beam (B3T)

Pin

Wire

Circuit

Function

1

0.35 YE/BK

2160

Front End Discriminating Sensor Signal

2

0.35 GY/BK

2260

SIR Forward Sensor Low Reference

Radio Antenna Module


Object Number: 1420733  Size: CH

Connector Part Information

  • OEM: 172335-1
  • Service: 19149535
  • Description: 1-Way F Mini Universal Mate-N-Lock (WH)

Terminal Part Information

  • Terminal/Tray: 770904-1/25
  • Core/Insulation Crimp: E/2
  • Release Tool/Test Probe: J-38125-220/J-35616-6 (BN)

Radio Antenna Module

Pin

Wire

Circuit

Function

A

0.35 WH

7066

Entertainment Remote Enable Signal

Radio X1


Object Number: 1974986  Size: CH

Connector Part Information

  • OEM: RADPB-44-1AK
  • Service: See Catalog
  • Description: 44-Way F (BK)

Terminal Part Information

  • Pins: 29-34, 37, 39-43
  • Terminal/Tray: 12191812/19
  • Core/Insulation Crimp: E/C
  • Release Tool/Test Probe: 15315247/J-35616-2A (GY)
  • Pins: 38, 44
  • Terminal/Tray: 15304711/8
  • Core/Insulation Crimp: 2/A
  • Release Tool/Test Probe: 15315247/J-35616-4A (PU)
  • Pins: 2-11, 13-24, 27, 28
  • Terminal/Tray: SAITS-A03-M064
  • Core/Insulation Crimp: Pins 2, 13, 16, 27 - See Terminal Repair Kit
  • Core/Insulation Crimp: Pins 3-11, 14, 15, 17-24, 28 - P/P
  • Release Tool/Test Probe: See Terminal Repair Kit

Radio X1

Pin

Wire

Circuit

Function

1

--

--

Not Used

2

0.5 YE

1219

Navigation Display Serial Data Low

3

0.5 BARE

813

Drain Wire

4

0.35 OG

6761

Center Channel Low Level Audio Signal (-) (UQS)

5

0.35 PK

6762

Subwoofer Low Level Audio (-) (UQS)

6

0.35 L-BU

1405

Remote Playback Device Audio Common Signal (UE1)

7

0.35 GY

388

Remote Radio Right Audio Signal (U2X/U2Y)

8

0.35 BK/WH

372

Remote Radio Audio Output (U2X/U2Y)

9

0.35 BARE

5345

Drain Wire (U2X/U2Y)

10

0.35 D-GN/WH

5841

Right Auxiliary Audio Signal (2)

11

0.35 PK

2060

Auxiliary Detection Signal

12

--

--

Not Used

13

0.5 VT/GN

7311

High Position Display Control Wake-Up Signal

14

0.35 D-GN

5060

Low Speed GMLAN Serial Data

15

0.35 OG

5748

Radio Audio Mute Signal (WXS)

16

0.5 BK

1171

Navigation Display Serial Data High

17

0.35 BARE

6759

Discrete Audio Drain Wire (UQS)

18

0.35 D-BU

6760

Center Channel Low Level Audio Signal (UQS)

19

0.35 WH

6763

Subwoofer Low Level Audio Signal (UQS)

20

0.35 OG/BK

1406

Remote Playback Device Left Audio Signal (UE1/WXS)

21

0.35 D-GN/WH

368

Remote Radio Right Audio Signal (U2X/U2Y)

22

0.35 BN/WH

367

Remote Radio Left Audio Signal (U2X/U2Y)

23

0.35 D-BU

5843

Auxiliary Audio Common Signal

24

0.35 L-GN

5839

Left Auxiliary Audio Signal (2)

25-26

--

--

Not Used

27

0.5 L-GN

1011

Remote Radio Control Signal

28

0.35 D-GN

5060

Low Speed GMLAN Serial Data

29

0.35 BARE

1573

Drain Wire (UQS)

30

0.35 BARE

1574

Drain Wire

31

0.35 L-GN

1948

Right Front Low Level Audio Signal (-)

32

0.35 D-GN

1947

Left Front Low Level Audio Signal (-)

33

0.35 BK

1946

Right Rear Low Level Audio Signal (-)

34

0.35 BN

1999

Left Rear Low Level Audio Signal (-)

35-36

--

--

Not Used

37

0.35 OG

5748

Radio Audio Mute Signal (UQA)

38

1 BK/WH

851

Ground

39

0.35 L-GN

512

Right Front Low Level Audio Signal (+)

40

0.35 TN

511

Left Front Low Level Audio Signal (+)

41

0.35 D-BU

546

Right Rear Low Level Audio Signal (+)

42

0.35 BN

599

Left Rear Low Level Audio Signal (+)

43

0.35 WH

7066

Entertainment Remote Enable Signal (U2R/U2S/U2T/UAV/U2X/U2Y)

44

1 OG

1040

Battery Positive Voltage

Radio X4 (UQS/UAV/U2X/U2Y/WXS)


Object Number: 1715228  Size: CH

Connector Part Information

  • OEM: 15126710
  • Service: See Catalog
  • Description: 20-Way F USCAR 0.64 Series (GY)

Terminal Part Information

  • Pins: 1-11, 13-20
  • Terminal/Tray: SAITS-A03-M064
  • Core/Insulation Crimp: Pins 1-3, 6, 8, 11, 14, 16, 18, 20 - P/P
  • Core/Insulation Crimp: Pins 4, 5, 7, 9, 10, 13, 15, 17, 19 - See Terminal Repair Kit
  • Release Tool/Test Probe: See Terminal Repair Kit

Radio X4 (UQS/UAV/U2X/U2Y/WXS)

Pin

Wire

Circuit

Function

1

0.35 GY

--

COAX (U2X)

2

0.35 YE

--

COAX (U2X)

3

0.35 BARE

1782

Drain Wire (U2X)

4

0.5 YE

901

Video Display Position Control (UAV/U2X/U2Y)

5

0.5 GY

--

COAX (U2X/U2Y)

6

0.35 GY

655

Cellular Microphone Signal (WXS)

0.35 PK

5149

Voice Recognition Audio Signal (UAV with UE1)

7

0.5 YE

5342

Navigation Audio Signal (+) (UQS with UAV/U2X/U2Y)

8

0.35 BARE

--

COAX (UAV/U2X/U2Y)

9

0.5 TN

--

COAX (UAV/U2X/U2Y)

10

0.5 OG

--

COAX (UAV/U2X/U2Y)

11

0.35 BN

--

COAX (U2X)

12

--

--

Not Used

13

0.5 YE

902

Video Display Position Signal (UAV/U2X/U2Y)

14

0.35 YE

--

COAX (U2X)

15

0.5 BK

--

COAX (U2X/U2Y)

16

0.35 PK/BK

5152

Voice Recognition Audio Low Reference (UAV with UE1)

0.35 BARE

514

Ground (WXS)

17

0.5 WH

5343

Navigation Audio Signal (-) (UQS with UAV/U2X/U2Y)

18

0.35 BARE

5344

Drain Wire (UQS with UAV/U2X/U2Y)

19

0.5 YE

--

COAX (UAV/U2X/U2Y)

20

0.35 D-GN/WH

817

Vehicle Speed Signal (UAV/U2X/U2Y)

Radio X5 (UAV/U2X/U2Y)


Object Number: 1974985  Size: CH

Connector Part Information

  • OEM: MX38-FF-A-A-L915
  • Service: See Catalog
  • Description: 3-Way F (L-BU)

Terminal Part Information

  • Pins: 1-3
  • Terminal/Tray: SAITS-A03-M064
  • Core/Insulation Crimp: Pins 1, 2 - See Terminal Repair Kit
  • Core/Insulation Crimp: Pins 3 - P/P
  • Release Tool/Test Probe: See Terminal Repair Kit

Radio X5 (UAV/U2X/U2Y)

Pin

Wire

Circuit

Function

1

0.5 GY/BK

--

COAX

2

0.5 D-GN/WH

--

COAX

3

0.35 BARE

--

COAX

Radio/HVAC Control


Object Number: 1566784  Size: CH

Connector Part Information

  • OEM: 7283-9076-30
  • Service: 15136073
  • Description: 16-Way F (BK)

Terminal Part Information

  • Pins: 1-4, 6, 8, 9, 11, 14-16
  • Terminal/Tray: SAITS-A03T-M064/14
  • Core/Insulation Crimp: Pins 1, 2, 4, 8, 11, 16 - See Terminal Repair Kit
  • Core/Insulation Crimp: Pins 3, 6, 9, 14, 15 - P/P
  • Release Tool/Test Probe: J38125-215A/64B

Radio/HVAC Control

Pin

Wire

Circuit

Function

1

0.5 BK

1171

Navigation Display Serial Data High

2

0.5 YE

1219

Navigation Display Serial Data Low

3

0.35 BARE

813

Drain Wire

4

0.5 VT/GN

7311

High Position Display Control Wake-Up Signal

5

--

--

Not Used

6

0.35 L-GN

6096

Washer Fluid Heated Control Switch Signal (XA7)

7

--

--

Not Used

8

0.5 OG

1040

Battery Positive Voltage

9

0.35 D-GN

5060

Low Speed GMLAN Serial Data

10

--

--

Not Used

11

0.5 L-GN

1011

Remote Radio Control Signal

12-13

--

--

Not Used

14

0.35 BN/WH

1571

Traction Control Switch Signal

15

0.35 TN

2144

Hazard Switch Signal

16

0.5 BK/WH

851

Ground

Radio/HVAC Display X1 (UAV/U2X/U2Y)


Object Number: 1716517  Size: CH

Connector Part Information

  • OEM: 7283-9028-30
  • Service: 89047352
  • Description: 8-Way F YESC Kaizen Series (BK)

Terminal Part Information

  • Pins: 1-4, 6-8
  • Terminal/Tray: SAITS-A03-M064
  • Core/Insulation Crimp: Pins 1-3, 7, 8 - See Terminal Repair Kit
  • Core/Insulation Crimp: Pins 4, 6 - P/P
  • Release Tool/Test Probe: See Terminal Repair Kit

Radio/HVAC Display X1 (UAV/U2X/U2Y)

Pin

Wire

Circuit

Function

1

0.5 OG

1040

Battery Positive Voltage

2

0.5 BK/WH

851

Ground

3

0.5 OG

--

COAX

4

0.35 WH

7066

Entertainment Remote Enable Signal

5

--

--

Not Used

6

0.35 BARE

--

COAX

7

0.5 TN

--

COAX

8

0.5 YE

--

COAX

Radio/HVAC Display X2 (UAV/U2X/U2Y)


Object Number: 1664573  Size: CH

Connector Part Information

  • OEM: 7283-9029-40
  • Service: 19115653
  • Description: 8-Way F YESC Kaizen Series (L-GY)

Terminal Part Information

  • Pins: 1-5
  • Terminal/Tray: SAITS-A03-M064
  • Core/Insulation Crimp: Pins 1, 4, 5 - See Terminal Repair Kit
  • Core/Insulation Crimp: Pins 2, 3 - P/P
  • Release Tool/Test Probe: See Terminal Repair Kit

Radio/HVAC Display X2 (UAV/U2X/U2Y)

Pin

Wire

Circuit

Function

1

0.5 OG

2240

Battery Positive Voltage

2

0.35 BK

350

Ground

3

0.35 WH

7066

Entertainment Remote Enable Signal

4

0.5 YE

901

Video Display Position Control

5

0.5 YE

902

Video Display Position Signal

6-8

--

--

Not Used

Radio/HVAC Display X3 (UAV/U2X/U2Y)


Object Number: 1974985  Size: CH

Connector Part Information

  • OEM: MX38-FF-A-A-L915
  • Service: See Catalog
  • Description: 3-Way F (L-BU)

Terminal Part Information

  • Pins: 1-3
  • Terminal/Tray: SAITS-A03-M064
  • Core/Insulation Crimp: Pins 1, 2 - See Terminal Repair Kit
  • Core/Insulation Crimp: Pins 3 - P/P
  • Release Tool/Test Probe: See Terminal Repair Kit

Radio/HVAC Display X3 (UAV/U2X/U2Y)

Pin

Wire

Circuit

Function

1

0.5 GY/BK

--

COAX

2

0.5 D-GN/WH

--

COAX

3

0.35 BARE

--

COAX

Rear Compartment Lid Latch


Object Number: 130635  Size: CH

Connector Part Information

  • OEM: 12045813
  • Service: See Catalog
  • Description: 4-Way F Metri-Pack 150 Series (CR)

Terminal Part Information

  • Terminal/Tray: 12064971/5
  • Core/Insulation Crimp: E/C
  • Release Tool/Test Probe: 12094429/J-35616-14 (GN)

Rear Compartment Lid Latch

Pin

Wire

Circuit

Function

A

0.5 BK/WH

56

Rear Compartment Lid Release Switch

B

0.5 BK

1050

Ground

C

0.35 PK/BK

1303

Liftgate Ajar Switch Signal

D

0.5 RD/BK

744

Rear Compartment Lid Ajar Switch Signal

Rear Compartment Lid Release Switch - Interior


Object Number: 39660  Size: CH

Connector Part Information

  • OEM: 12047785
  • Service: See Catalog
  • Description: 4-Way F Metri-Pack 150 Series (BK)

Terminal Part Information

  • Terminal/Tray: See Terminal Repair Kit
  • Core/Insulation Crimp: See Terminal Repair Kit
  • Release Tool/Test Probe: See Terminal Repair Kit

Rear Compartment Lid Release Switch - Interior

Pin

Wire

Circuit

Function

A

0.35 BK/WH

51

Low Reference

B

--

--

Not Used

C

0.35 PK

6190

Rear Compartment Lid Release Switch Signal

D

0.35 YE

1491

Backlight Lamp Control

Rear Compartment Lid Release Switch - Exterior (UHA/UHF)


Object Number: 130635  Size: CH

Connector Part Information

  • OEM: 15934059
  • Service: See Catalog
  • Description: 4-Way F (BK)

Terminal Part Information

  • Pins: A, C
  • Terminal/Tray: 12064971/5
  • Core/Insulation Crimp: E/C
  • Release Tool/Test Probe: 12094429/J-35616-14 (GN)

Rear Compartment Lid Release Switch - Exterior (UHA/UHF)

Pin

Wire

Circuit

Function

A

0.35 PU/WH

383

Trunk Release Control

B

--

--

Not Used

C

0.35 GY

1051

Ground

D

--

--

Not Used

Rear Object Sensor Control Module X1 (UD7)


Object Number: 1664569  Size: CH

Connector Part Information

  • OEM: 31410-1120
  • Service: 89047364
  • Description: 12-Way F 0.64 Series (BK)

Terminal Part Information

  • Pins: 1, 2, 4, 6, 7, 9, 10
  • Terminal/Tray: SAITS-A03-M064
  • Core/Insulation Crimp: P/P
  • Release Tool/Test Probe: See Terminal Repair Kit

Rear Object Sensor Control Module X1 (UD7)

Pin

Wire

Circuit

Function

1

0.35 OG

3140

Battery Positive Voltage

2

0.35 WH

2370

Telltale Assembly Supply Voltage

3

--

--

Not Used

4

0.35 OG

2371

Left Amber Indicator Control

5

--

--

Not Used

6

0.35 D-GN

5060

Low Speed GMLAN Serial Data

7

0.35 BK

850

Ground

8

--

--

Not Used

9

0.35 D-BU

2372

Center Amber Indicator Control

10

0.35 GY

2373

Red Indicator Control

11-12

--

--

Not Used

Rear Object Sensor Control Module X2 (UD7)


Object Number: 1664573  Size: CH

Connector Part Information

  • OEM: 7283-9029-40
  • Service: See Catalog
  • Description: 8-Way F YESC Kaizen Series (GY)

Terminal Part Information

  • Terminal/Tray: See Terminal Repair Kit
  • Core/Insulation Crimp: See Terminal Repair Kit
  • Release Tool/Test Probe: See Terminal Repair Kit

Rear Object Sensor Control Module X2 (UD7)

Pin

Wire

Circuit

Function

1

0.35 RD

2378

Right Rear Corner Object Sensor Signal

2

0.35 D-GN

2377

Right Rear Middle Object Sensor Signal

3

0.35 OG

2376

Left Rear Middle Object Sensor Signal

4

0.35 D-BU

2374

Object Sensor Supply Voltage

5

0.35 YE

2375

Left Rear Corner Object Sensor Signal

6-7

--

--

Not Used

8

0.35 GY

2379

Object Sensor Low Reference

Rear Parking Assist (RPA) Display (UD7)


Object Number: 130635  Size: CH

Connector Part Information

  • OEM: 12045813
  • Service: See Catalog
  • Description: 4-Way F (GY)

Terminal Part Information

  • Terminal/Tray: See Terminal Repair Kit
  • Core/Insulation Crimp: See Terminal Repair Kit
  • Release Tool/Test Probe: See Terminal Repair Kit

Rear Parking Assist (RPA) Display (UD7)

Pin

Wire

Circuit

Function

A

0.35 WH

2370

Telltale Assembly Supply Voltage

B

0.35 OG

2371

Left Amber Indicator Control

C

0.35 D-BU

2372

Center Amber Indicator Control

D

0.35 GY

2373

Red Indicator Control

Rear Window Defogger X1


Object Number: 38284  Size: CH

Connector Part Information

  • OEM: 12064750
  • Service: See Catalog
  • Description: 2-Way M Metri-Pack 480 Series (BK)

Terminal Part Information

  • Terminal/Tray: 12033820/2
  • Core/Insulation Crimp: B/G
  • Release Tool/Test Probe: 12094430/J-35616-40 (BU)

Rear Window Defogger X1

Pin

Wire

Circuit

Function

A

5 PU

293

Rear Defog Element Supply Voltage

B

5 BK

1950

Amplifier Present Signal

Rear Window Defogger X2


Object Number: 696943  Size: CH

Connector Part Information

  • OEM: 12065652
  • Service: See Catalog
  • Description: 1-Way M Metri-Pack 480 Series (BK)

Terminal Part Information

  • Terminal/Tray: 12033820/2
  • Core/Insulation Crimp: B/G
  • Release Tool/Test Probe: 12094430/J-35616-40 (BU)

Rear Window Defogger X2

Pin

Wire

Circuit

Function

A

5 BK

1050

Ground

Recirculation Actuator


Object Number: 826267  Size: CH

Connector Part Information

  • OEM: IL-AG5-7S-s3C1
  • Service: See Catalog
  • Description: 7-Way F IL-AG5 Series (GN)

Terminal Part Information

  • Terminal/Tray: See Terminal Repair Kit
  • Core/Insulation Crimp: See Terminal Repair Kit
  • Release Tool/Test Probe: See Terminal Repair Kit

Recirculation Actuator

Pin

Wire

Circuit

Function

1

0.35 YE

61

Low Reference

2

--

--

Not Used

3

0.35 GY

605

5-Volt Reference 3

4

--

--

Not Used

5

0.35 PU

1838

Recirculation Door Position Signal

6

0.35 BN

2274

Recirculation Door Control Circuit

7

0.35 D-GN

1614

Recirculation Door Control

Remote Control Door Lock Receiver (RCDLR) X1 (UHA/UHF)


Object Number: 800518  Size: CH

Connector Part Information

  • OEM: 15332177
  • Service: See Catalog
  • Description: 16-Way F GT 150 Series (BK)

Terminal Part Information

  • Pins: C, G, H, L, N, P, R, S
  • Terminal/Tray: 12191812/19
  • Core/Insulation Crimp: E/C
  • Release Tool/Test Probe: 15315247/J-35616-2A (GY)

Remote Control Door Lock Receiver (RCDLR) X1 (UHA/UHF)

Pin

Wire

Circuit

Function

A-B

--

--

Not Used

C

0.35 PU/WH

5905

Key Capture/Column Lock Shift Position Signal

D-F

--

--

Not Used

G

0.35 L-GN

80

Key In Ignition Switch Signal

H

0.35 OG

3440

Battery Positive Voltage

J-K

--

--

Not Used

L

0.35 D-GN

5060

Low Speed GMLAN Serial Data

M

--

--

Not Used

N

0.35 PK

5879

Passenger Door Handle Switch Signal

P

0.35 L-BU

383

Trunk Release Control

R

0.35 D-BU

5882

Driver Door Handle Switch Signal

S

0.35 BK

1051

Ground

Remote Control Door Lock Receiver (RCDLR) X2 (UHA/UHF)


Object Number: 646384  Size: CH

Connector Part Information

  • OEM: 15332153
  • Service: 88986440
  • Description: 10-Way F GT 150 Series (BK)

Terminal Part Information

  • Terminal/Tray: 12191812/19
  • Core/Insulation Crimp: E/C
  • Release Tool/Test Probe: 15315247/J-35616-2A (GY)

Remote Control Door Lock Receiver (RCDLR) X2 (UHA/UHF)

Pin

Wire

Circuit

Function

A

0.35 PU/WH

5715

Keyless Entry Active Antenna Supply Voltage

B

0.35 GY

5717

Keyless Entry Active Antenna Data Signal

C

0.35 L-BU

5716

Keyless Entry Active Antenna Clock Signal

D

0.35 PU

218

Keyless Entry/Tire Pressure Antenna Signal

E

0.35 OG/BK

5712

Keyless Entry Antenna Low Reference

F

0.35 OG/BK

5718

Keyless Entry Active Antenna Low Reference

G-H

--

--

Not Used

J

0.35 TN

219

Keyless Entry Antenna Low Reference

K

0.35 OG

5708

Keyless Entry Antenna Signal

Remote Control Door Lock Receiver (RCDLR) X3 (UHA/UHF)


Object Number: 646374  Size: CH

Connector Part Information

  • OEM: 15332145
  • Service: See Catalog
  • Description: 8-Way F GT 150 Series (BK)

Terminal Part Information

  • Pins: A, F, G, H
  • Terminal/Tray: 12191812/19
  • Core/Insulation Crimp: E/C
  • Release Tool/Test Probe: 15315247/J-35616-2A (GY)

Remote Control Door Lock Receiver (RCDLR) X3 (UHA/UHF)

Pin

Wire

Circuit

Function

A

0.35 YE

5710

Keyless Entry Antenna Signal

B-E

--

--

Not Used

F

0.35 YE/BK

5714

Keyless Entry Antenna Low Reference

G

0.35 PK

5709

Keyless Entry Antenna Signal

H

0.35 PK/BK

5713

Keyless Entry Antenna Low Reference

Repeater Lamp - Left Front (T90)


Object Number: 1581759  Size: CH

Connector Part Information

  • OEM: E-5229
  • Service: See Catalog
  • Description: 2-Way F Sleeve Assembly (GY)

Terminal Part Information

  • Terminal/Tray: 7116-4102-08/9
  • Core/Insulation Crimp: E/1
  • Release Tool/Test Probe: 12094430/J-35616-2A (GY)

Repeater Lamp - Left Front (T90)

Pin

Wire

Circuit

Function

1

0.5 L-BU/WH

1314

Left Front Turn Signal Lamp Supply Voltage

2

0.5 BK

150

Ground

Repeater Lamp - Right Front (T90)


Object Number: 1581759  Size: CH

Connector Part Information

  • OEM: E-5229
  • Service: See Catalog
  • Description: 2-Way F Sleeve Assembly (GY)

Terminal Part Information

  • Terminal/Tray: 7116-4102-08/9
  • Core/Insulation Crimp: E/1
  • Release Tool/Test Probe: 12094430/J-35616-2A (GY)

Repeater Lamp - Right Front (T90)

Pin

Wire

Circuit

Function

1

0.5 D-BU/WH

1315

Right Front Turn Signal Lamp Supply Voltage

2

0.5 BK

250

Ground

Seat Adjuster Switch - Driver


Object Number: 623046  Size: CH

Connector Part Information

  • OEM: 15326931
  • Service: See Catalog
  • Description: 10-Way F (BK)

Terminal Part Information

  • Terminal/Tray: See Terminal Repair Kit
  • Core/Insulation Crimp: See Terminal Repair Kit
  • Release Tool/Test Probe: See Terminal Repair Kit

Seat Adjuster Switch - Driver

Pin

Wire

Circuit

Function

A

3 D-GN

286

Driver Seat Front Vertical Motor Up Control (without A45)

0.35 D-GN

1518

Power Seat Front Vertical Up Switch Signal (A45)

B

3 BK

350

Ground (without A45)

C

3 L-GN

284

Driver Seat Horizontal Motor Rearward Control (without A45)

0.35 L-GN

1523

Power Seat Horizontal Rearward Switch Signal (A45)

D

3 TN

285

Driver Seat Horizontal Motor Forward Control (without A45)

0.35 TN

1522

Power Seat Horizontal Forward Switch Signal (A45)

E

0.35 OG

3840

Battery Positive Voltage (without A45)

0.35 PU/WH

6205

Driver Position Switch High Reference (A45)

F

3 YE

282

Driver Seat Rear Vertical Motor Up Control (without A45)

0.35 YE

1519

Power Seat Rear Vertical Up Switch Signal (A45)

G

3 L-BU

277

Driver Seat Recline Motor Rearward Control (without A45)

0.35 D-GN/WH

1270

Power Seat Recline Rearward Switch Signal (A45)

H

3 L-GN

276

Recline Motor Forward Control (without A45)

0.35 GY/BK

1269

Power Seat Recline Forward Switch Signal (A45)

J

3 L-BU

283

Driver Seat Rear Vertical Motor Down Control (without A45)

0.35 L-BU

1521

Power Seat Rear Vertical Down Switch Signal (A45)

K

3 D-BU

287

Driver Seat Front Vertical Motor Down Control (without A45)

0.35 D-BU

1520

Power Seat Front Vertical Down Switch Signal (A45)

Seat Adjuster Switch - Passenger (AH8)


Object Number: 623046  Size: CH

Connector Part Information

  • OEM: 15326931
  • Service: See Catalog
  • Description: 10-Way F (BK)

Terminal Part Information

  • Terminal/Tray: See Terminal Repair Kit
  • Core/Insulation Crimp: See Terminal Repair Kit
  • Release Tool/Test Probe: See Terminal Repair Kit

Seat Adjuster Switch - Passenger (AH8)

Pin

Wire

Circuit

Function

A

3 D-BU

287

Driver Seat Front Vertical Motor Down Control

B

3 BK

450

Ground

C

3 L-GN

284

Driver Seat Horizontal Motor Rearward Control

D

3 TN

285

Driver Seat Horizontal Motor Forward Control

E

3 OG

3940

Battery Positive Voltage

F

3 L-BU

283

Driver Seat Rear Vertical Motor Down Control

G

3 L-GN

276

Recline Motor Forward Control

H

3 L-BU

277

Driver Seat Recline Motor Rearward Control

J

3 YE

282

Driver Seat Rear Vertical Motor Up Control

K

3 D-GN

286

Driver Seat Front Vertical Motor Up Control

Seat Back Ventilation Heating and Cooling Module - Driver (KB6)


Object Number: 287973  Size: CH

Connector Part Information

  • OEM: 12065423
  • Service: See Catalog
  • Description: 3-Way F (NA)

Terminal Part Information

  • Terminal/Tray: See Terminal Repair Kit
  • Core/Insulation Crimp: See Terminal Repair Kit
  • Release Tool/Test Probe: See Terminal Repair Kit

Seat Back Ventilation Heating and Cooling Module - Driver (KB6)

Pin

Wire

Circuit

Function

A

0.35 OG

5919

Driver Seat Blower Speed Control

B

0.35 BK

350

Ground

C

0.35 PK

539

Ignition 1 Voltage

Seat Back Ventilation Heating and Cooling Module - Passenger (KB6)


Object Number: 287973  Size: CH

Connector Part Information

  • OEM: 12065423
  • Service: See Catalog
  • Description: 3-Way F (NA)

Terminal Part Information

  • Terminal/Tray: See Terminal Repair Kit
  • Core/Insulation Crimp: See Terminal Repair Kit
  • Release Tool/Test Probe: See Terminal Repair Kit

Seat Back Ventilation Heating and Cooling Module - Passenger (KB6)

Pin

Wire

Circuit

Function

A

0.35 D-BU

5915

Passenger Seat Blower Speed Control

B

0.35 BK

450

Ground

C

0.35 PK

539

Ignition 1 Voltage

Seat Belt Pretensioner - Driver


Object Number: 878503  Size: CH

Connector Part Information

  • OEM: 1376030-1
  • Service: 88988308
  • Description: 2-Way F Squib Unsealed (YE)

Terminal Part Information

  • Terminal/Tray: Service w/Pigtail
  • Core/Insulation Crimp: See Terminal Repair Kit
  • Release Tool/Test Probe: See Terminal Repair Kit

Seat Belt Pretensioner - Driver

Pin

Wire

Circuit

Function

1

0.35 BK/WH

2118

Seat Belt Pretensioner - Left - High Control

2

0.35 OG/BK

2119

Seat Belt Pretensioner - Left - Low Control

Seat Belt Pretensioner - Passenger


Object Number: 878503  Size: CH

Connector Part Information

  • OEM: 1376030-1
  • Service: 88988308
  • Description: 2-Way F Squib Unsealed (YE)

Terminal Part Information

  • Terminal/Tray: Service w/Pigtail
  • Core/Insulation Crimp: See Terminal Repair Kit
  • Release Tool/Test Probe: See Terminal Repair Kit

Seat Belt Pretensioner - Passenger

Pin

Wire

Circuit

Function

1

0.35 L-GN

2116

Seat Belt Pretensioner - Right - High Control

2

0.35 OG

2117

Seat Belt Pretensioner - Right - Low Control

Seat Belt Switch - Driver


Object Number: 1664595  Size: CH

Connector Part Information

  • OEM: 12048457
  • Service: See Catalog
  • Description: 2-Way F (BK)

Terminal Part Information

  • Terminal/Tray: See Terminal Repair Kit
  • Core/Insulation Crimp: See Terminal Repair Kit
  • Release Tool/Test Probe: See Terminal Repair Kit

Seat Belt Switch - Driver

Pin

Wire

Circuit

Function

A

0.35 PK

5057

Seat Position Sensor - Low Reference

B

0.35 D-GN

5016

Seat Belt Switch - Left - Signal

Seat Belt Switch - Passenger


Object Number: 1664595  Size: CH

Connector Part Information

  • OEM: 12048457
  • Service: See Catalog
  • Description: 2-Way F (BK)

Terminal Part Information

  • Terminal/Tray: See Terminal Repair Kit
  • Core/Insulation Crimp: See Terminal Repair Kit
  • Release Tool/Test Probe: See Terminal Repair Kit

Seat Belt Switch - Passenger

Pin

Wire

Circuit

Function

A

0.35 RD

1362

Seat Belt Switch - Right - Signal

B

0.35 PK

5057

Seat Position Sensor - Low Reference

Seat Cushion Ventilation Heating and Cooling Module - Driver (KB6)


Object Number: 287973  Size: CH

Connector Part Information

  • OEM: 12065423
  • Service: See Catalog
  • Description: 3-Way F (NA)

Terminal Part Information

  • Terminal/Tray: See Terminal Repair Kit
  • Core/Insulation Crimp: See Terminal Repair Kit
  • Release Tool/Test Probe: See Terminal Repair Kit

Seat Cushion Ventilation Heating and Cooling Module - Driver (KB6)

Pin

Wire

Circuit

Function

A

0.35 OG

5919

Driver Seat Blower Speed Control

B

0.35 BK

450

Ground

C

0.35 PK

539

Ignition 1 Voltage

Seat Cushion Ventilation Heating and Cooling Module - Passenger (KB6)


Object Number: 287973  Size: CH

Connector Part Information

  • OEM: 12065423
  • Service: See Catalog
  • Description: 3-Way F (NA)

Terminal Part Information

  • Terminal/Tray: See Terminal Repair Kit
  • Core/Insulation Crimp: See Terminal Repair Kit
  • Release Tool/Test Probe: See Terminal Repair Kit

Seat Cushion Ventilation Heating and Cooling Module - Passenger (KB6)

Pin

Wire

Circuit

Function

A

0.35 D-BU

5915

Passenger Seat Blower Speed Control

B

0.35 BK

350

Ground

C

0.35 PK

539

Ignition 1 Voltage

Seat Front Vertical Motor - Driver (without A45)


Object Number: 1830207  Size: CH

Connector Part Information

  • OEM: 1438992-1
  • Service: See Catalog
  • Description: 5-Way F (BK)

Terminal Part Information

  • Terminal/Tray: See Terminal Repair Kit
  • Core/Insulation Crimp: See Terminal Repair Kit
  • Release Tool/Test Probe: See Terminal Repair Kit

Seat Front Vertical Motor - Driver (without A45)

Pin

Wire

Circuit

Function

1

3 D-GN

286

Driver Seat Front Vertical Motor Up Control

2-4

--

--

Not Used

5

3 D-BU

287

Driver Seat Front Vertical Motor Down Control

Seat Front Vertical Motor - Driver (A45) X1


Object Number: 1830207  Size: CH

Connector Part Information

  • OEM: 1438992-1
  • Service: See Catalog
  • Description: 5-Way F (BK)

Terminal Part Information

  • Terminal/Tray: See Terminal Repair Kit
  • Core/Insulation Crimp: See Terminal Repair Kit
  • Release Tool/Test Probe: See Terminal Repair Kit

Seat Front Vertical Motor - Driver (A45) X1

Pin

Wire

Circuit

Function

1

3 D-GN

286

Driver Seat Front Vertical Motor Up Control

2-4

--

--

Not Used

5

3 D-BU

287

Driver Seat Front Vertical Motor Down Control

Seat Front Vertical Motor - Driver (A45) X2


Object Number: 333035  Size: CH

Connector Part Information

  • OEM: 12047781
  • Service: See Catalog
  • Description: 3-Way F (BK)

Terminal Part Information

  • Terminal/Tray: See Terminal Repair Kit
  • Core/Insulation Crimp: See Terminal Repair Kit
  • Release Tool/Test Probe: See Terminal Repair Kit

Seat Front Vertical Motor - Driver (A45) X2

Pin

Wire

Circuit

Function

A

0.35 TN

6207

Memory Sensor High Reference

B

0.35 BN/WH

557

Front Vertical Seat Motor Position Sensor Signal

C

0.35 GY

6206

Memory Sensor Low Reference

Seat Front Vertical Motor - Passenger (AH8)


Object Number: 1830207  Size: CH

Connector Part Information

  • OEM: 1438992-1
  • Service: See Catalog
  • Description: 5-Way F (BK)

Terminal Part Information

  • Terminal/Tray: See Terminal Repair Kit
  • Core/Insulation Crimp: See Terminal Repair Kit
  • Release Tool/Test Probe: See Terminal Repair Kit

Seat Front Vertical Motor - Passenger (AH8)

Pin

Wire

Circuit

Function

1

3 D-BU

287

Driver Seat Front Vertical Motor Down Control

2-4

--

--

Not Used

5

3 D-GN

286

Driver Seat Front Vertical Motor Up Control

Seat Horizontal Motor - Driver (without A45)


Object Number: 1830207  Size: CH

Connector Part Information

  • OEM: 1438992-5
  • Service: See Catalog
  • Description: 5-Way F (BK)

Terminal Part Information

  • Terminal/Tray: See Terminal Repair Kit
  • Core/Insulation Crimp: See Terminal Repair Kit
  • Release Tool/Test Probe: See Terminal Repair Kit

Seat Horizontal Motor - Driver (without A45)

Pin

Wire

Circuit

Function

1

3 TN

285

Driver Seat Horizontal Motor Forward Control

2-4

--

--

Not Used

5

3 L-GN

284

Driver Seat Horizontal Motor Rearward Control

Seat Horizontal Motor - Driver (A45) X1


Object Number: 1830207  Size: CH

Connector Part Information

  • OEM: 1438992-5
  • Service: See Catalog
  • Description: 5-Way F (BU)

Terminal Part Information

  • Terminal/Tray: See Terminal Repair Kit
  • Core/Insulation Crimp: See Terminal Repair Kit
  • Release Tool/Test Probe: See Terminal Repair Kit

Seat Horizontal Motor - Driver (A45) X1

Pin

Wire

Circuit

Function

1

1 TN

285

Driver Seat Horizontal Motor Forward Control

2-4

--

--

Not Used

5

1 L-GN

284

Driver Seat Horizontal Motor Rearward Control

Seat Horizontal Motor - Driver (A45) X2


Object Number: 333035  Size: CH

Connector Part Information

  • OEM: 12047781
  • Service: See Catalog
  • Description: 3-Way F (BK)

Terminal Part Information

  • Terminal/Tray: See Terminal Repair Kit
  • Core/Insulation Crimp: See Terminal Repair Kit
  • Release Tool/Test Probe: See Terminal Repair Kit

Seat Horizontal Motor - Driver (A45) X2

Pin

Wire

Circuit

Function

A

0.35 TN

6207

Memory Sensor High Reference

B

0.35 D-GN

569

Horizontal Seat Motor Position Sensor Signal

C

0.35 GY

6206

Memory Sensor Low Reference

Seat Horizontal Motor - Passenger (AH8/AL2)


Object Number: 1830207  Size: CH

Connector Part Information

  • OEM: 1438992-5
  • Service: See Catalog
  • Description: 5-Way F (BU)

Terminal Part Information

  • Terminal/Tray: See Terminal Repair Kit
  • Core/Insulation Crimp: See Terminal Repair Kit
  • Release Tool/Test Probe: See Terminal Repair Kit

Seat Horizontal Motor - Passenger (AH8/AL2)

Pin

Wire

Circuit

Function

1

3 TN

285

Driver Seat Horizontal Motor Forward Control

2-4

--

--

Not Used

5

3 L-GN

284

Driver Seat Horizontal Motor Rearward Control

Seat Lumbar Adjuster Switch - Driver (AL2)


Object Number: 62432  Size: CH

Connector Part Information

  • OEM: 12041429
  • Service: See Catalog
  • Description: 5-Way F (BK)

Terminal Part Information

  • Terminal/Tray: See Terminal Repair Kit
  • Core/Insulation Crimp: See Terminal Repair Kit
  • Release Tool/Test Probe: See Terminal Repair Kit

Seat Lumbar Adjuster Switch - Driver (AL2)

Pin

Wire

Circuit

Function

A

--

--

Not Used

B

0.35 YE

1065

Driver Seat Lumbar Forward Switch Signal

C

--

--

Not Used

D

0.35 PU/WH

6205

Driver Position Switch High Reference

E

0.35 D-BU

1064

Driver Seat Lumbar Rearward Switch Signal

Seat Lumbar Adjuster Switch - Passenger (AL2)


Object Number: 62432  Size: CH

Connector Part Information

  • OEM: 12041429
  • Service: See Catalog
  • Description: 5-Way F (BK)

Terminal Part Information

  • Terminal/Tray: See Terminal Repair Kit
  • Core/Insulation Crimp: See Terminal Repair Kit
  • Release Tool/Test Probe: See Terminal Repair Kit

Seat Lumbar Adjuster Switch - Passenger (AL2)

Pin

Wire

Circuit

Function

A

3 BK

450

Ground

B

3 D-BU

211

Passenger Seat Lumbar Motor Forward Control

C

3 BK

450

Ground

D

3 OG

3940

Battery Positive Voltage

E

3 WH

210

Passenger Seat Lumbar Motor Rearward Control

Seat Lumbar Horizontal Motor - Driver (AL2)


Object Number: 39689  Size: CH

Connector Part Information

  • OEM: 12064754
  • Service: See Catalog
  • Description: 6-Way F (BK)

Terminal Part Information

  • Terminal/Tray: See Terminal Repair Kit
  • Core/Insulation Crimp: See Terminal Repair Kit
  • Release Tool/Test Probe: See Terminal Repair Kit

Seat Lumbar Horizontal Motor - Driver (AL2)

Pin

Wire

Circuit

Function

A

1 D-BU

611

Driver Seat Lumbar Motor Forward Control

B

1 PK

610

Driver Seat Lumbar Motor Rearward Control

C

0.35 GY

6206

Memory Sensor Low Reference

D

0.35 TN

6207

Memory Sensor High Reference

E

0.35 YE

1063

Driver Seat Lumbar Horizontal Position Sensor Signal

F

--

--

Not Used

Seat Lumbar Horizontal Motor - Passenger (AL2)


Object Number: 1862168  Size: CH

Connector Part Information

  • OEM: 3-1437843-9
  • Service: See Catalog
  • Description: 2-Way F (BK)

Terminal Part Information

  • Terminal/Tray: See Terminal Repair Kit
  • Core/Insulation Crimp: See Terminal Repair Kit
  • Release Tool/Test Probe: See Terminal Repair Kit

Seat Lumbar Horizontal Motor - Passenger (AL2)

Pin

Wire

Circuit

Function

1

3 D-BU

211

Passenger Seat Lumbar Motor Forward Control

2

3 WH

210

Passenger Seat Lumbar Motor Rearward Control

Seat Rear Vertical Motor - Driver (without A45)


Object Number: 1830207  Size: CH

Connector Part Information

  • OEM: 1438992-4
  • Service: See Catalog
  • Description: 5-Way F (BK)

Terminal Part Information

  • Terminal/Tray: See Terminal Repair Kit
  • Core/Insulation Crimp: See Terminal Repair Kit
  • Release Tool/Test Probe: See Terminal Repair Kit

Seat Rear Vertical Motor - Driver (without A45)

Pin

Wire

Circuit

Function

1

3 L-BU

283

Driver Seat Rear Vertical Motor Down Control

2-4

--

--

Not Used

5

3 YE

282

Driver Seat Rear Vertical Motor Up Control

Seat Rear Vertical Motor - Driver (A45) X1


Object Number: 1830207  Size: CH

Connector Part Information

  • OEM: 1438992-4
  • Service: See Catalog
  • Description: 5-Way F (WH)

Terminal Part Information

  • Terminal/Tray: See Terminal Repair Kit
  • Core/Insulation Crimp: See Terminal Repair Kit
  • Release Tool/Test Probe: See Terminal Repair Kit

Seat Rear Vertical Motor - Driver (A45) X1

Pin

Wire

Circuit

Function

1

1 L-BU

283

Driver Seat Rear Vertical Motor Down Control

2-4

--

--

Not Used

5

1 YE

282

Driver Seat Rear Vertical Motor Up Control

Seat Rear Vertical Motor - Driver (A45) X2


Object Number: 333035  Size: CH

Connector Part Information

  • OEM: 12065422
  • Service: See Catalog
  • Description: 3-Way F (NA)

Terminal Part Information

  • Terminal/Tray: See Terminal Repair Kit
  • Core/Insulation Crimp: See Terminal Repair Kit
  • Release Tool/Test Probe: See Terminal Repair Kit

Seat Rear Vertical Motor - Driver (A45) X2

Pin

Wire

Circuit

Function

A

0.35 GY

6206

Memory Sensor Low Reference

B

0.35 TN

568

Rear Vertical Seat Motor Position Sensor Signal

C

0.35 TN

6207

Memory Sensor High Reference

Seat Rear Vertical Motor - Passenger (AH8)


Object Number: 1830207  Size: CH

Connector Part Information

  • OEM: 1438992-4
  • Service: See Catalog
  • Description: 5-Way F (WH)

Terminal Part Information

  • Terminal/Tray: See Terminal Repair Kit
  • Core/Insulation Crimp: See Terminal Repair Kit
  • Release Tool/Test Probe: See Terminal Repair Kit

Seat Rear Vertical Motor - Passenger (AH8)

Pin

Wire

Circuit

Function

1

3 YE

282

Driver Seat Rear Vertical Motor Up Control

2-4

--

--

Not Used

5

3 L-BU

283

Driver Seat Rear Vertical Motor Down Control

Seat Recline Motor - Driver (without A45)


Object Number: 1830207  Size: CH

Connector Part Information

  • OEM: 1438992-1
  • Service: See Catalog
  • Description: 5-Way F (BK)

Terminal Part Information

  • Terminal/Tray: See Terminal Repair Kit
  • Core/Insulation Crimp: See Terminal Repair Kit
  • Release Tool/Test Probe: See Terminal Repair Kit

Seat Recline Motor - Driver (without A45)

Pin

Wire

Circuit

Function

1

3 L-BU

277

Driver Seat Recline Motor Rearward Control

2-4

--

--

Not Used

5

3 L-GN

276

Driver Seat Recline Motor Forward Control

Seat Recline Motor - Driver (A45) X1


Object Number: 1830207  Size: CH

Connector Part Information

  • OEM: 1438992-1
  • Service: See Catalog
  • Description: 5-Way F (BK)

Terminal Part Information

  • Terminal/Tray: See Terminal Repair Kit
  • Core/Insulation Crimp: See Terminal Repair Kit
  • Release Tool/Test Probe: See Terminal Repair Kit

Seat Recline Motor - Driver (A45) X1

Pin

Wire

Circuit

Function

1

1 L-BU

277

Driver Seat Recline Motor Rearward Control

2-4

--

--

Not Used

5

1 L-GN

276

Driver Seat Recline Motor Forward Control

Seat Recline Motor - Driver (A45) X2


Object Number: 333035  Size: CH

Connector Part Information

  • OEM: 12065422
  • Service: See Catalog
  • Description: 3-Way F (BK)

Terminal Part Information

  • Terminal/Tray: See Terminal Repair Kit
  • Core/Insulation Crimp: See Terminal Repair Kit
  • Release Tool/Test Probe: See Terminal Repair Kit

Seat Recline Motor - Driver (A45) X2

Pin

Wire

Circuit

Function

A

0.35 GY

6206

Memory Sensor Low Reference

B

0.35 WH/BK

570

Driver Seat Recline Motor Position Sensor Signal

C

0.35 TN

6207

Memory Sensor High Reference

Seat Recline Motor - Passenger (AH8)


Object Number: 1830207  Size: CH

Connector Part Information

  • OEM: 1438992-1
  • Service: See Catalog
  • Description: 5-Way F (BK)

Terminal Part Information

  • Terminal/Tray: See Terminal Repair Kit
  • Core/Insulation Crimp: See Terminal Repair Kit
  • Release Tool/Test Probe: See Terminal Repair Kit

Seat Recline Motor - Passenger (AH8)

Pin

Wire

Circuit

Function

1

3 L-BU

277

Driver Seat Recline Motor Rearward Control

2-4

--

--

Not Used

5

3 L-GN

276

Driver Seat Recline Motor Forward Control

Speaker - Center I/P


Object Number: 130724  Size: CH

Connector Part Information

  • OEM: 12064869
  • Service: See Catalog
  • Description: 2-Way F Metri-Pack 150 Series (BU)

Terminal Part Information

  • Terminal/Tray: 12064971/5
  • Core/Insulation Crimp: E/C
  • Release Tool/Test Probe: 12094429/J-35616-14 (GN)

Speaker - Center I/P

Pin

Wire

Circuit

Function

A

0.5 L-BU

1960

Front Center Speaker Output (-)

B

0.5 YE

1860

Front Center Speaker Output (+)

Speaker - Left Front (UQA)


Object Number: 280768  Size: CH

Connector Part Information

  • OEM: 12052832
  • Service: See Catalog
  • Description: 2-Way F Metri-Pack 150 Series (BK)

Terminal Part Information

  • Terminal/Tray: 12064971/5
  • Core/Insulation Crimp: E/C
  • Release Tool/Test Probe: 12094429/J-35616-14 (GN)

Speaker - Left Front (UQA)

Pin

Wire

Circuit

Function

A

0.5 GY

118

Left Front Speaker Output (-)

B

0.5 TN

201

Left Front Speaker Output (+)

Speaker - Left Front (UQS)


Object Number: 130724  Size: CH

Connector Part Information

  • OEM: 12064869
  • Service: See Catalog
  • Description: 2-Way F Metri-Pack 150 Series (BU)

Terminal Part Information

  • Terminal/Tray: 12064971/5
  • Core/Insulation Crimp: E/C
  • Release Tool/Test Probe: 12094429/J-35616-14 (GN)

Speaker - Left Front (UQS)

Pin

Wire

Circuit

Function

A

0.5 YE

1956

Left Front Speaker Output (-)

B

0.5 BK

1856

Left Front Speaker Output (+)

Speaker - Left Front Door


Object Number: 130724  Size: CH

Connector Part Information

  • OEM: 12064869
  • Service: See Catalog
  • Description: 2-Way F (BU)

Terminal Part Information

  • Terminal/Tray: See Terminal Repair Kit
  • Core/Insulation Crimp: See Terminal Repair Kit
  • Release Tool/Test Probe: See Terminal Repair Kit

Speaker - Left Front Door

Pin

Wire

Circuit

Function

A

0.8 GY

118

Left Front Speaker Output (-)

B

0.8 TN

201

Left Front Speaker Output (+)

Speaker - Left Rear


Object Number: 280768  Size: CH

Connector Part Information

  • OEM: 12052832
  • Service: See Catalog
  • Description: 2-Way F (BK)

Terminal Part Information

  • Terminal/Tray: See Terminal Repair Kit
  • Core/Insulation Crimp: See Terminal Repair Kit
  • Release Tool/Test Probe: See Terminal Repair Kit

Speaker - Left Rear

Pin

Wire

Circuit

Function

A

0.5 L-BU

115

Left Rear Speaker Output (-)

B

0.5 D-BU

46

Left Rear Speaker Output (+)

Speaker - Left Rear Compartment (UQS)


Object Number: 130724  Size: CH

Connector Part Information

  • OEM: 12064869
  • Service: See Catalog
  • Description: 2-Way F Metri-Pack 150 Series (BU)

Terminal Part Information

  • Terminal/Tray: 12064971/5
  • Core/Insulation Crimp: E/C
  • Release Tool/Test Probe: 12094429/J-35616-14 (GN)

Speaker - Left Rear Compartment (UQS)

Pin

Wire

Circuit

Function

A

0.5 WH

1959

Left Rear Midrange Speaker Output (-)

B

0.5 TN

1859

Left Rear Midrange Speaker Output (+)

Speaker - Rear Subwoofer (UQA)


Object Number: 153645  Size: CH

Connector Part Information

  • OEM: 12129081
  • Service: See Catalog
  • Description: 2-Way F Metri-Pack 280 Series, Flexlock (BK)

Terminal Part Information

  • Terminal/Tray: 12110842/4
  • Core/Insulation Crimp: A/B
  • Release Tool/Test Probe: 15315247/J-35616-4A (PU)

Speaker - Rear Subwoofer (UQA)

Pin

Wire

Circuit

Function

A

2 L-GN/BK

1794

Rear Subwoofer Speaker Output (-)

B

2 D-BU/WH

346

Rear Subwoofer Speaker Output (+)

Speaker - Rear Subwoofer (UQS)


Object Number: 1420766  Size: CH

Connector Part Information

  • OEM: 6098-2180
  • Service: See Catalog
  • Description: 5-Way F 090 Series (BK)

Terminal Part Information

  • Terminal/Tray: See Terminal Repair Kit
  • Core/Insulation Crimp: See Terminal Repair Kit
  • Release Tool/Test Probe: See Terminal Repair Kit

Speaker - Rear Subwoofer (UQS)

Pin

Wire

Circuit

Function

A

1 OG

4440

Battery Positive Voltage

B

1 BK

850

Ground

C

0.35 OG

5748

Radio Audio Mute Signal

D

0.5 L-GN/BK

1794

Rear Subwoofer Speaker Output (-)

E

0.5 D-BU/WH

346

Rear Subwoofer Speaker Output (+)

Speaker - Right Front (UQA)


Object Number: 280768  Size: CH

Connector Part Information

  • OEM: 12052832
  • Service: See Catalog
  • Description: 2-Way F Metri-Pack 150 Series (BK)

Terminal Part Information

  • Terminal/Tray: 12064971/5
  • Core/Insulation Crimp: E/C
  • Release Tool/Test Probe: 12094429/J-35616-14 (GN)

Speaker - Right Front (UQA)

Pin

Wire

Circuit

Function

A

0.5 D-GN

117

Right Front Speaker Output (-)

B

0.5 L-GN

200

Right Front Speaker Output (+)

Speaker - Right Front (UQS)


Object Number: 130724  Size: CH

Connector Part Information

  • OEM: 12064869
  • Service: See Catalog
  • Description: 2-Way F Metri-Pack 150 Series (BU)

Terminal Part Information

  • Terminal/Tray: 12064971/5
  • Core/Insulation Crimp: E/C
  • Release Tool/Test Probe: 12094429/J-35616-14 (GN)

Speaker - Right Front (UQS)

Pin

Wire

Circuit

Function

A

0.5 PU

1952

Right Front Speaker Output (-)

B

0.5 L-GN

1852

Right Front Speaker Output (+)

Speaker - Right Front Door


Object Number: 280768  Size: CH

Connector Part Information

  • OEM: 12052832
  • Service: See Catalog
  • Description: 2-Way F (BK)

Terminal Part Information

  • Terminal/Tray: See Terminal Repair Kit
  • Core/Insulation Crimp: See Terminal Repair Kit
  • Release Tool/Test Probe: See Terminal Repair Kit

Speaker - Right Front Door

Pin

Wire

Circuit

Function

A

1 D-GN

117

Right Front Speaker Output (-)

B

1 L-GN

200

Right Front Speaker Output (+)

Speaker - Right Rear


Object Number: 280768  Size: CH

Connector Part Information

  • OEM: 12052832
  • Service: See Catalog
  • Description: 2-Way F Metri-Pack 150 Series (BK)

Terminal Part Information

  • Terminal/Tray: 12064971/5
  • Core/Insulation Crimp: E/C
  • Release Tool/Test Probe: 12094429/J-35616-14 (GN)

Speaker - Right Rear

Pin

Wire

Circuit

Function

A

0.5 L-BU

115

Right Rear Speaker Output (-)

B

0.5 D-BU

46

Right Rear Speaker Output (+)

Speaker - Right Rear Compartment (UQS)


Object Number: 130724  Size: CH

Connector Part Information

  • OEM: 12064869
  • Service: See Catalog
  • Description: 2-Way F Metri-Pack 150 Series (BU)

Terminal Part Information

  • Terminal/Tray: 12064971/5
  • Core/Insulation Crimp: E/C
  • Release Tool/Test Probe: 12094429/J-35616-14 (GN)

Speaker - Right Rear Compartment (UQS)

Pin

Wire

Circuit

Function

A

0.5 RD

1955

Right Rear Midrange Speaker Output (-)

B

0.5 TN

1855

Right Rear Midrange Speaker Output (+)

Starter Motor X1

Terminal Part Information

  • Terminal: 12146365
  • Core/Insulation Crimp: N/A
  • Description: Ring Terminal

Starter Motor X1

Pin

Wire

Circuit

Function

--

13 RD

6

Battery Positive Voltage

Starter Motor X2

Terminal Part Information

  • Terminal: 15317554
  • Core/Insulation Crimp: N/A
  • Description: Ring Terminal

Starter Motor X2

Pin

Wire

Circuit

Function

--

13 PU

6

Starter Solenoid Crank Voltage

Steering Wheel/Column Tilt/Telescope Actuator X1 (A45 and N38)


Object Number: 698669  Size: CH

Connector Part Information

  • OEM: 15326886
  • Service: See Catalog
  • Description: 4-Way F GT 280 Series (BK)

Terminal Part Information

  • Terminal/Tray: See Terminal Repair Kit
  • Core/Insulation Crimp: See Terminal Repair Kit
  • Release Tool/Test Probe: See Terminal Repair Kit

Steering Wheel/Column Tilt/Telescope Actuator X1 (A45 and N38)

Pin

Wire

Circuit

Function

A

1 BK

2112

Steering Column Tilt Motor Control - Down

B

1 RD

2111

Steering Column Tilt Motor Control - Up

C

1 RD

2098

Steering Column Telescope Motor Forward

D

1 BK

2110

Steering Column Telescope Motor Control - Reverse

Steering Wheel/Column Tilt/Telescope Actuator X2 (A45 and N38)


Object Number: 646420  Size: CH

Connector Part Information

  • OEM: 15332135
  • Service: See Catalog
  • Description: 4-Way F GT 150 Series (BK)

Terminal Part Information

  • Terminal/Tray: See Terminal Repair Kit
  • Core/Insulation Crimp: See Terminal Repair Kit
  • Release Tool/Test Probe: See Terminal Repair Kit

Steering Wheel/Column Tilt/Telescope Actuator X2 (A45 and N38)

Pin

Wire

Circuit

Function

A

0.35 OG

2154

Steering Column Tilt Sensor Signal

B

0.35 GY

6206

Memory Sensor Low Reference

C

0.35 TN

6207

Memory Sensor High Reference

D

0.35 OG

2153

Steering Column Telescope Sensor Signal

Steering Wheel/Column Tilt/Telescope Switch (N38)


Object Number: 1862240  Size: CH

Connector Part Information

  • OEM: AIT2PB-06-1AK
  • Service: 19167753
  • Description: 6-Way F AIT II Series (BK)

Terminal Part Information

  • Pins: 1-3, 5, 6
  • Terminal/Tray: See Terminal Repair Kit
  • Core/Insulation Crimp: See Terminal Repair Kit
  • Release Tool/Test Probe: See Terminal Repair Kit

Steering Wheel/Column Tilt/Telescope Switch (N38)

Pin

Wire

Circuit

Function

1

0.35 PU/WH

6205

Driver Position Switch High Reference

2

0.35 GY

2096

Steering Column Tilt and Telescope Up Switch Signal

3

0.35 PK

2094

Steering Column Tilt and Telescope Forward Switch Signal (A45)

4

--

--

Not Used

5

0.35 OG

2095

Steering Column Tilt and Telescope Reverse Switch Signal (A45)

6

0.35 YE

2097

Steering Column Tilt and Telescope Down Switch Signal

Steering Wheel Control Switch - Left


Object Number: 1283887  Size: CH

Connector Part Information

  • OEM: 50-57-9408
  • Service: See Catalog
  • Description: 8-Way F (BK)

Terminal Part Information

  • Terminal/Tray: See Terminal Repair Kit
  • Core/Insulation Crimp: See Terminal Repair Kit
  • Release Tool/Test Probe: See Terminal Repair Kit

Steering Wheel Control Switch - Left

Pin

Wire

Circuit

Function

1

0.35 PU

1375

Remote Radio Control Supply Voltage

2

0.35 GY

1884

Cruise Control Switch Signal

3

0.35 PU/WH

7005

LED Dimming Signal

4

0.35 BK

350

Ground

5

0.35 PU

1375

Remote Radio Control Supply Voltage

6

0.35 D-BU

1796

Steering Wheel Controls Signal

7

0.35 D-GN/WH

7158

Cruise Control Indicator Dimming Signal

8

--

--

Not Used

Steering Wheel Control Switch - Right


Object Number: 605511  Size: CH

Connector Part Information

  • OEM: 50-57-9405
  • Service: See Catalog
  • Description: 5-Way F (BK)

Terminal Part Information

  • Terminal/Tray: See Terminal Repair Kit
  • Core/Insulation Crimp: See Terminal Repair Kit
  • Release Tool/Test Probe: See Terminal Repair Kit

Steering Wheel Control Switch - Right

Pin

Wire

Circuit

Function

1

0.35 PU

1375

Remote Radio Control Supply Voltage

2

0.35 D-BU

1796

Steering Wheel Controls Signal

3

0.35 PU/WH

7005

LED Dimming Signal

4

0.35 BK

350

Ground

5

0.35 PU

1375

Remote Radio Control Supply Voltage

Steering Wheel Position Sensor


Object Number: 40427  Size: CH

Connector Part Information

  • OEM: 19115612
  • Service: See Catalog
  • Description: 6-Way F (BK)

Terminal Part Information

  • Pins: 2, 3, 5, 6
  • Terminal/Tray: See Terminal Repair Kit
  • Core/Insulation Crimp: See Terminal Repair Kit
  • Release Tool/Test Probe: See Terminal Repair Kit

Steering Wheel Position Sensor

Pin

Wire

Circuit

Function

1

--

--

Not Used

2

0.35 L-GN/BK

6432

CAN Bus Low Serial Data

3

0.35 TN/WH

6433

CAN Bus High Serial Data

4

--

--

Not Used

5

0.35 GY

1056

Steering Wheel Position Sensor 5-Volt Reference Voltage

6

0.35 BK/WH

351

Ground (JL4)

Sunload Sensor


Object Number: 130637  Size: CH

Connector Part Information

  • OEM: 12064760
  • Service: See Catalog
  • Description: 4-Way F Metri-Pack 150 Series (BK)

Terminal Part Information

  • Terminal/Tray: 12064971/5
  • Core/Insulation Crimp: E/C
  • Release Tool/Test Probe: 12094429/J-35616-14 (GN)

Sunload Sensor

Pin

Wire

Circuit

Function

A

0.35 L-BU/BK

590

Driver Sunload Sensor Signal

B

0.35 GY

1548

Passenger Sunload Sensor Signal

C

0.35 YE

61

Low Reference

D

0.35 L-GN/BK

1137

DRL Ambient Light Sensor Signal

Sunroof Control Module (C3U)


Object Number: 1851891  Size: CH

Connector Part Information

  • OEM: 7282-6459-40
  • Service: 19167677
  • Description: 10-Way F (L-GY)

Terminal Part Information

  • Terminal/Tray: See Terminal Repair Kit
  • Core/Insulation Crimp: See Terminal Repair Kit
  • Release Tool/Test Probe: See Terminal Repair Kit

Sunroof Control Module (C3U)

Pin

Wire

Circuit

Function

1

0.35 BK

1050

Ground

2

0.35 BK

1050

Ground

3

0.35 D-GN

801

RAP Fuse Supply Voltage

4

--

--

Not Used

5

0.35 OG

5027

Sunroof Switch - Data 1

6

1 RD/WH

3240

Battery Positive Voltage

7

0.35 D-GN/WH

7006

Inter Device Dedicated Bus Serial Data

8-9

--

--

Not Used

10

0.35 L-BU

5029

Sunroof Switch - Data 3

Sunroof Shade Module (C3U)


Object Number: 1851891  Size: CH

Connector Part Information

  • OEM: 7282-6459-40
  • Service: 19167677
  • Description: 10-Way F (L-GY)

Terminal Part Information

  • Terminal/Tray: See Terminal Repair Kit
  • Core/Insulation Crimp: See Terminal Repair Kit
  • Release Tool/Test Probe: See Terminal Repair Kit

Sunroof Shade Module (C3U)

Pin

Wire

Circuit

Function

1

0.35 BK

1050

Ground

2

--

--

Not Used

3

0.35 D-GN

801

RAP Fuse Supply Voltage

4

--

--

Not Used

5

0.35 PU

5032

Sunroof Switch - Data 6

6

1 RD/WH

3240

Battery Positive Voltage

7

0.35 D-GN/WH

7006

Inter Device Dedicated Bus Serial Data

8-9

--

--

Not Used

10

0.35 TN

5030

Sunroof Switch - Data 4

Sunroof Shade Switch (C3U)


Object Number: 130714  Size: CH

Connector Part Information

  • OEM: 12124997
  • Service: See Catalog
  • Description: 5-Way F (BK)

Terminal Part Information

  • Terminal/Tray: See Terminal Repair Kit
  • Core/Insulation Crimp: See Terminal Repair Kit
  • Release Tool/Test Probe: See Terminal Repair Kit

Sunroof Shade Switch (C3U)

Pin

Wire

Circuit

Function

A

0.35 GY

8

I/P Dimmer Switch Signal

B

0.35 BK

1050

Ground

C

--

--

Not Used

D

0.35 TN

5030

Sunroof Switch - Data 4

E

0.35 PU

5032

Sunroof Switch - Data 6

Sunroof Switch (C3U)


Object Number: 130714  Size: CH

Connector Part Information

  • OEM: 13607185
  • Service: See Catalog
  • Description: 5-Way F (BU)

Terminal Part Information

  • Terminal/Tray: See Terminal Repair Kit
  • Core/Insulation Crimp: See Terminal Repair Kit
  • Release Tool/Test Probe: See Terminal Repair Kit

Sunroof Switch (C3U)

Pin

Wire

Circuit

Function

A

0.35 GY

8

Instrument Panel Lamp Supply Voltage/Instrument Panel Lamps Dimmer Switch Signal

B

0.35 BK

1050

Ground

C

--

--

Not Used

D

0.35 OG

5029

Sunroof Switch - Data 3

E

0.35 L-BU

5027

Sunroof Switch - Data 1

Sunshade - Left


Object Number: 35441  Size: CH

Connector Part Information

  • OEM: 12047663
  • Service: See Catalog
  • Description: 2-Way F (BK)

Terminal Part Information

  • Terminal/Tray: See Terminal Repair Kit
  • Core/Insulation Crimp: See Terminal Repair Kit
  • Release Tool/Test Probe: See Terminal Repair Kit

Sunshade - Left

Pin

Wire

Circuit

Function

A

0.5 OG

1732

Courtesy Lamps Supply Voltage

B

0.5 BK

1050

Ground

Sunshade - Right


Object Number: 35441  Size: CH

Connector Part Information

  • OEM: 12047663
  • Service: See Catalog
  • Description: 2-Way F (BK)

Terminal Part Information

  • Terminal/Tray: See Terminal Repair Kit
  • Core/Insulation Crimp: See Terminal Repair Kit
  • Release Tool/Test Probe: See Terminal Repair Kit

Sunshade - Right

Pin

Wire

Circuit

Function

A

0.5 OG

1732

Courtesy Lamps Supply Voltage

B

0.5 BK

1050

Ground

Tail Lamp - Left (T90)


Object Number: 62463  Size: CH

Connector Part Information

  • OEM: 12064766
  • Service: See Catalog
  • Description: 8-Way F Metri-Pack 150 Series (BU)

Terminal Part Information

  • Pins: B, E
  • Terminal/Tray: See Terminal Repair Kit
  • Core/Insulation Crimp: See Terminal Repair Kit
  • Release Tool/Test Probe: See Terminal Repair Kit
  • Pins: D, F
  • Terminal/Tray: 12064971/5
  • Core/Insulation Crimp: E/C
  • Release Tool/Test Probe: 12094429/J-35616-14 (GN)

Tail Lamp - Left (T90)

Pin

Wire

Circuit

Function

A

--

--

Not Used

B

0.35 L-BU

20

Stop Lamp Supply Voltage

C

--

--

Not Used

D

0.35 YE

5356

Left Tail Lamp Outage Detection Signal

E

0.8 L-GN

24

Backup Lamp Supply Voltage

F

0.35 PU

709

Right Park Lamp Supply Voltage

G

0.35 L-BU

14

Left Turn Signal Lamps Supply Voltage

H

0.5 BK

850

Ground

Tail Lamp - Left (without T90)


Object Number: 62463  Size: CH

Connector Part Information

  • OEM: 12064766
  • Service: See Catalog
  • Description: 8-Way F Metri-Pack 150 Series (BU)

Terminal Part Information

  • Pins: B, E, G, H
  • Terminal/Tray: See Terminal Repair Kit
  • Core/Insulation Crimp: See Terminal Repair Kit
  • Release Tool/Test Probe: See Terminal Repair Kit
  • Pins: D, F
  • Terminal/Tray: 12064971/5
  • Core/Insulation Crimp: E/C
  • Release Tool/Test Probe: 12094429/J-35616-14 (GN)

Tail Lamp - Left (without T90)

Pin

Wire

Circuit

Function

A

--

--

Not Used

B

0.35 YE

18

Left Rear Stop/Turn Lamp Supply Voltage

C

0.5 BK

850

Ground

D

0.35 YE

5356

Left Tail Lamp Outage Detection Signal

E

0.8 L-GN

24

Backup Lamp Supply Voltage

F

0.8 PU

709

Left Park Lamp Supply Voltage

G-H

--

--

Not Used

Tail Lamp - Right (T90)


Object Number: 62463  Size: CH

Connector Part Information

  • OEM: 12064766
  • Service: See Catalog
  • Description: 8-Way F Metri-Pack 150 Series (BU)

Terminal Part Information

  • Pins: B, G, H
  • Terminal/Tray: See Terminal Repair Kit
  • Core/Insulation Crimp: See Terminal Repair Kit
  • Release Tool/Test Probe: See Terminal Repair Kit
  • Pins: B, D, F, H
  • Terminal/Tray: 12064971/5
  • Core/Insulation Crimp: E/C
  • Release Tool/Test Probe: 12094429/J-35616-14 (GN)

Tail Lamp - Right (T90)

Pin

Wire

Circuit

Function

A

--

--

Not Used

B

0.35 L-BU

20

Stop Lamp Supply Voltage

C

--

--

Not Used

D

0.35 PU

5357

Right Tail Lamp Outage Detection Signal

E

0.35 L-GN

24

Backup Lamp Supply Voltage

F

0.35 BN/WH

309

Right Park Lamp Supply Voltage

G

0.35 D-BU

15

Right Turn Signal Lamps Supply Voltage

H

0.8 BK

1050

Ground

Tail Lamp - Right (without T90)


Object Number: 62463  Size: CH

Connector Part Information

  • OEM: 12064766
  • Service: See Catalog
  • Description: 8-Way F Metri-Pack 150 Series (BU)

Terminal Part Information

  • Pins: B, C, E
  • Terminal/Tray: See Terminal Repair Kit
  • Core/Insulation Crimp: See Terminal Repair Kit
  • Release Tool/Test Probe: See Terminal Repair Kit
  • Pins: C, D, F
  • Terminal/Tray: 12064971/5
  • Core/Insulation Crimp: E/C
  • Release Tool/Test Probe: 12094429/J-35616-14 (GN)

Tail Lamp - Right (without T90)

Pin

Wire

Circuit

Function

A

--

--

Not Used

B

0.35 D-GN

19

Right Rear Stop/Turn Lamp Supply Voltage

C

0.8 BK

1050

Ground

D

0.35 PU

5357

Right Tail Lamp Outage Detection Signal

E

0.8 L-GN

24

Backup Lamp Supply Voltage

F

0.35 BN/WH

309

Right Park Lamp Supply Voltage

G-H

--

--

Not Used

Television Antenna Module X1 (U2X/U2Y)


Object Number: 1664622  Size: CH

Connector Part Information

  • OEM: 1-1355928-2
  • Service: 88988326
  • Description: 54-Way F (BK)

Terminal Part Information

  • Pins: 3, 5-9, 13, 14, 19, 20
  • Terminal/Tray: See Terminal Repair Kit
  • Core/Insulation Crimp: See Terminal Repair Kit
  • Release Tool/Test Probe: See Terminal Repair Kit

Television Antenna Module X1 (U2X/U2Y)

Pin

Wire

Circuit

Function

1-2

--

--

Not Used

3

0.35 D-GN

5060

Low Speed GMLAN Serial Data

4

--

--

Not Used

5

0.35 GY

388

Remote Radio Right Audio Signal

6

0.35 D-GN/WH

368

Remote Radio Right Audio Signal

7

0.35 BK/WH

372

Remote Radio Audio Output

8

0.35 BN/WH

367

Remote Radio Left Audio Signal

9

0.35 BARE

5345

Drain Wire

10-12

--

--

Not Used

13

0.5 GY

--

COAX

14

0.5 BK

--

COAX

15-18

--

--

Not Used

19

0.35 BK

851

Ground

20

0.35 OG

3340

Battery Positive Voltage

21-54

--

--

Not Used

Theft Deterrent Alarm Siren (UA2)


Object Number: 810084  Size: CH

Connector Part Information

  • OEM: 1-967640-1
  • Service: 88953370
  • Description: 4-Way F MQS Socket Housing, Sealed (BK)

Terminal Part Information

  • Terminal/Tray: 962885-5/15
  • Core/Insulation Crimp: 6/6
  • Release Tool/Test Probe: 12094429/J-35616-64B (L-BU)

Theft Deterrent Alarm Siren (UA2)

Pin

Wire

Circuit

Function

1

0.35 PK

539

Ignition 1 Voltage

2

0.35 OG

4540

Battery Positive Voltage

3

0.35 TN/BK

5168

Power Sounder Enable Signal

4

0.35 BK

850

Ground

Theft Deterrent Module (without UHA/UHF)


Object Number: 1593355  Size: CH

Connector Part Information

  • OEM: 50-57-9705
  • Service: 88988353
  • Description: 5-Way F SL Series (BK)

Terminal Part Information

  • Pins: 1-3, 5
  • Terminal/Tray: See Terminal Repair Kit
  • Core/Insulation Crimp: See Terminal Repair Kit
  • Release Tool/Test Probe: See Terminal Repair Kit

Theft Deterrent Module (without UHA/UHF)

Pin

Wire

Circuit

Function

1

0.35 OG

1940

Battery Positive Voltage

2

0.35 BN

4

Accessory Voltage

3

0.35 BK/WH

351

Ground

4

--

--

Not Used

5

0.35 D-GN

5060

Low Speed GMLAN Serial Data

Throttle Body


Object Number: 1664617  Size: CH

Connector Part Information

  • OEM: 15355297
  • Service: 19115594
  • Description: 6-Way F GT 150 Series Sealed (BK)

Terminal Part Information

  • Terminal/Tray: 12191819/8
  • Core/Insulation Crimp: E/A
  • Release Tool/Test Probe: 15315247/J-35616-2A (GY)

Throttle Body

Pin

Wire

Circuit

Function

A

0.5 BN

582

TAC Motor Control - 2

B

0.5 YE

581

TAC Motor Control - 1

C

0.5 BK

2752

Low Reference

D

0.5 D-GN

485

TP Sensor 1 Signal

E

0.5 GY

2701

5-Volt Reference 3

F

0.5 PU

486

TP Sensor 2 Signal

Tire Pressure Module (UH3)


Object Number: 1626681  Size: CH

Connector Part Information

  • OEM: 962108-2
  • Service: 12162954
  • Description: 18-Way F Micro Quadlock (BK)

Terminal Part Information

  • Pins: 1, 2, 5, 10-13, 15, 17, 18
  • Terminal/Tray: 928999-5/15
  • Core/Insulation Crimp: H/H
  • Release Tool/Test Probe: 12094429/J-35616-64B (L-BU)

Tire Pressure Module (UH3)

Pin

Wire

Circuit

Function

1

0.35 PK

539

Ignition 1 Voltage

2

0.35 L-BU/BK

5732

Tire Pressure Receiver Supply Voltage

3-4

--

--

Not Used

5

0.35 L-BU/BK

5732

Tire Pressure Receiver Supply Voltage

6-9

--

--

Not Used

10

0.35 BK

1051

Ground

11

0.35 GY

5733

Left Front Tire Pressure Receiver Signal

12

0.35 L-GN/BK

5731

Tire Pressure Receiver Low Reference

13

0.35 OG

5734

Right Front Tire Pressure Receiver Signal

14

--

--

Not Used

15

0.35 PU

5735

Right Rear Tire Pressure Receiver Signal

16

--

--

Not Used

17

0.35 YE

5736

Left Rear Tire Pressure Receiver Signal

18

0.35 L-GN/BK

5731

Tire Pressure Receiver Low Reference

Tire Pressure Module (without UHA/UHF/UH3)


Object Number: 1673483  Size: CH

Connector Part Information

  • OEM: 15462684
  • Service: 88988745
  • Description: 4-Way F ILAG5 Series (GN)

Terminal Part Information

  • Pins: 1, 2, 4
  • Terminal/Tray: See Terminal Repair Kit
  • Core/Insulation Crimp: See Terminal Repair Kit
  • Release Tool/Test Probe: See Terminal Repair Kit

Tire Pressure Module (without UHA/UHF/UH3)

Pin

Wire

Circuit

Function

1

0.35 OG

3440

Battery Positive Voltage

2

0.35 D-GN

5060

Low Speed GMLAN Serial Data

3

--

--

Not Used

4

0.35 BK

1051

Ground

Tire Pressure Receiver - Left Front (UH3)


Object Number: 816171  Size: CH

Connector Part Information

  • OEM: 1928403870
  • Service: 88952842
  • Description: 3-Way F Sealed (BK)

Terminal Part Information

  • Terminal/Tray: 4-964286-1/16
  • Core/Insulation Crimp: E/1
  • Release Tool/Test Probe: 12093647/J-35616-4A (PU)

Tire Pressure Receiver - Left Front (UH3)

Pin

Wire

Circuit

Function

1

0.35 L-BU/BK

5732

Tire Pressure Receiver Supply Voltage

2

0.35 GY

5733

Left Front Tire Pressure Receiver Signal

3

0.35 L-GN/BK

5731

Tire Pressure Receiver Low Reference

Tire Pressure Receiver - Left Rear (UH3)


Object Number: 816171  Size: CH

Connector Part Information

  • OEM: 1928403870
  • Service: 88952842
  • Description: 3-Way F Sealed (BK)

Terminal Part Information

  • Terminal/Tray: 4-964286-1/16
  • Core/Insulation Crimp: E/1
  • Release Tool/Test Probe: 12093647/J-35616-4A (PU)

Tire Pressure Receiver - Left Rear (UH3)

Pin

Wire

Circuit

Function

1

0.35 L-BU/BK

5732

Tire Pressure Receiver Supply Voltage

2

0.35 YE

5736

Left Rear Tire Pressure Receiver Signal

3

0.35 L-GN/BK

5731

Tire Pressure Receiver Low Reference

Tire Pressure Receiver - Right Front (UH3)


Object Number: 816171  Size: CH

Connector Part Information

  • OEM: 1928403870
  • Service: 88952842
  • Description: 3-Way F Sealed (BK)

Terminal Part Information

  • Terminal/Tray: 4-964286-1/16
  • Core/Insulation Crimp: E/1
  • Release Tool/Test Probe: 12093647/J-35616-4A (PU)

Tire Pressure Receiver - Right Front (UH3)

Pin

Wire

Circuit

Function

1

0.35 L-BU/BK

5732

Tire Pressure Receiver Supply Voltage

2

0.35 OG

5734

Right Front Tire Pressure Receiver Signal

3

0.35 L-GN/BK

5731

Tire Pressure Receiver Low Reference

Tire Pressure Receiver - Right Rear (UH3)


Object Number: 816171  Size: CH

Connector Part Information

  • OEM: 1928403870
  • Service: 88952842
  • Description: 3-Way F Sealed (BK)

Terminal Part Information

  • Terminal/Tray: 4-964286-1/16
  • Core/Insulation Crimp: E/1
  • Release Tool/Test Probe: 12093647/J-35616-4A (PU)

Tire Pressure Receiver - Right Rear (UH3)

Pin

Wire

Circuit

Function

1

0.35 L-BU/BK

5732

Tire Pressure Receiver Supply Voltage

2

0.35 PU

5735

Right Rear Tire Pressure Receiver Signal

3

0.35 L-GN/BK

5731

Tire Pressure Receiver Low Reference

Transfer Case Clutch Coil X1 (MX7)


Object Number: 1526384  Size: CH

Connector Part Information

  • OEM: 15326677
  • Service: See Catalog
  • Description: 2-Way F GT 280 Series Sealed (BK)

Terminal Part Information

  • Terminal/Tray: 15304719/19
  • Core/Insulation Crimp: 2/5
  • Release Tool/Test Probe: 15315247/J-35616-4A (PU)

Transfer Case Clutch Coil X1 (MX7)

Pin

Wire

Circuit

Function

A

1 YE/WH

7483

Clutch Coil Control

B

1 YE/BK

7482

Clutch Coil Return

Transfer Case Clutch Coil X2 (MX7)


Object Number: 523630  Size: CH

Connector Part Information

  • OEM: 15326801
  • Service: See Catalog
  • Description: 2-Way F GT 150 Series Sealed (BK)

Terminal Part Information

  • Terminal/Tray: 12191819/8
  • Core/Insulation Crimp: E/A
  • Release Tool/Test Probe: 15315247/J-35616-2A (GY)

Transfer Case Clutch Coil X2 (MX7)

Pin

Wire

Circuit

Function

A

0.5 GN/BK

7480

Clutch Calibration Resistor 5-Volt Reference

B

0.5 GN

7481

Clutch Calibration Resistor Signal

Transfer Case Fluid Temperature Sensor (MX7)


Object Number: 1974966  Size: CH

Connector Part Information

  • OEM: 15355317
  • Service: See Catalog
  • Description: 2-Way F GT 150 Series Sealed (BK)

Terminal Part Information

  • Terminal/Tray: 15326267/19
  • Core/Insulation Crimp: E/4
  • Release Tool/Test Probe: 15315247/J-35616-2A (GY)

Transfer Case Fluid Temperature Sensor (MX7)

Pin

Wire

Circuit

Function

A

0.5 PU

7485

Oil Temperature Sensor Signal

B

0.5 OG

7484

Oil Temperature Sensor 5-Volt Reference

Transfer Case Shift Control Module X1 (MX7)


Object Number: 1483276  Size: CH

Connector Part Information

  • OEM: 7283-6456-90
  • Service: 88952778
  • Description: 16-Way F Kaizen YESC Series (BU)

Terminal Part Information

  • Pins: 8, 16
  • Terminal/Tray: 7116-4100-08/9
  • Core/Insulation Crimp: E/C
  • Release Tool/Test Probe: 12094430/J-35616-2A (GY)
  • Pins: 6, 15
  • Terminal/Tray: 7116-4101-08/9
  • Core/Insulation Crimp: E/A
  • Release Tool/Test Probe: 12094430/J-35616-2A (GY)

Transfer Case Shift Control Module X1 (MX7)

Pin

Wire

Circuit

Function

1

0.35 PU

7485

Oil Temperature Sensor Signal

2

--

--

Not Used

3

0.5 PK

339

Ignition 1 Voltage

4

1 YE/BK

7482

Clutch Coil Return

5

1 YE/WH

7483

Clutch Coil Control

6

0.35 D-BU

5985

Accessory Wakeup Serial Data

7

0.5 TN

2501

High Speed GMLAN Serial Data Bus-

8

0.5 TN/WH

2500

High Speed GMLAN Serial Data Bus+

9

0.35 OG

7484

Oil Temperature Sensor 5-Volt Reference

10

--

--

Not Used

11

0.35 GN

7481

Clutch Calibration Resistor Signal

12

0.35 GN/BK

7480

Clutch Calibration Resistor 5-Volt Reference

13-14

--

--

Not Used

15

0.5 TN

2501

High Speed GMLAN Serial Data Bus-

16

0.5 TN/WH

2500

High Speed GMLAN Serial Data Bus+

Transfer Case Shift Control Module X2 (MX7)


Object Number: 1866237  Size: CH

Connector Part Information

  • OEM: 15466671
  • Service: 19149301
  • Description: 4-Way F GT 280 Series (L-GY)

Terminal Part Information

  • Terminal/Tray: 15304711/8
  • Core/Insulation Crimp: 2/A
  • Release Tool/Test Probe: 15315247/J-35616-4A (PU)

Transfer Case Shift Control Module X2 (MX7)

Pin

Wire

Circuit

Function

A-B

--

--

Not Used

C

1 OG

2640

Battery Positive Voltage

D

1 BK

350

Ground

Turn Signal Lamp - Left Front


Object Number: 1710949  Size: CH

Connector Part Information

  • OEM: 09442003
  • Service: See Catalog
  • Description: 2-Way F (BK)

Terminal Part Information

  • Terminal/Tray: See Terminal Repair Kit
  • Core/Insulation Crimp: See Terminal Repair Kit
  • Release Tool/Test Probe: See Terminal Repair Kit

Turn Signal Lamp - Left Front

Pin

Wire

Circuit

Function

A

0.8 BK

1314

Left Front Turn Signal Lamp Supply Voltage

B

0.8 BK

150

Ground

Turn Signal Lamp - Right Front


Object Number: 1710949  Size: CH

Connector Part Information

  • OEM: 09442003
  • Service: See Catalog
  • Description: 2-Way F (BK)

Terminal Part Information

  • Terminal/Tray: See Terminal Repair Kit
  • Core/Insulation Crimp: See Terminal Repair Kit
  • Release Tool/Test Probe: See Terminal Repair Kit

Turn Signal Lamp - Right Front

Pin

Wire

Circuit

Function

A

0.8 BK

1315

Right Front Turn Signal Lamp Supply Voltage

B

0.8 BK

250

Ground

Turn Signal/Multifunction Switch X1


Object Number: 1862243  Size: CH

Connector Part Information

  • OEM: AIT2PB-10-1FS
  • Service: See Catalog
  • Description: 10-Way F AIT II Series (NA)

Terminal Part Information

  • Terminal/Tray: See Terminal Repair Kit
  • Core/Insulation Crimp: See Terminal Repair Kit
  • Release Tool/Test Probe: See Terminal Repair Kit

Turn Signal/Multifunction Switch X1

Pin

Wire

Circuit

Function

1

0.35 BK/WH

351

Ground

2

0.35 L-BU/WH

1414

Left Front Turn Signal Switch Signal

3

0.35 D-BU/WH

1415

Right Front Turn Signal Switch Signal

4

0.35 D-GN

306

Headlamp Switch Headlamps Off Signal

5

0.35 WH

103

Headlamp Switch Headlamps On Signal

6

0.35 BN/WH

301

Rear Park Lamps Supply Voltage/Park Lamp Switch On Signal

7

0.35 OG

192

Front Fog Lamp Switch Signal (T96)

8

0.35 L-BU

187

Rear Fog Lamp Switch Signal (T79)

9

0.35 BK/WH

351

Ground

10

0.35 BK/WH

351

Ground (T96/T79)

Turn Signal/Multifunction Switch X2


Object Number: 1862242  Size: CH

Connector Part Information

  • OEM: AIT2PB-10-1BH
  • Service: See Catalog
  • Description: 10-Way F AIT II Series (GY)

Terminal Part Information

  • Pins: 7, 8, 10
  • Terminal/Tray: See Terminal Repair Kit
  • Core/Insulation Crimp: See Terminal Repair Kit
  • Release Tool/Test Probe: See Terminal Repair Kit

Turn Signal/Multifunction Switch X2

Pin

Wire

Circuit

Function

1-6

--

--

Not Used

7

0.35 PU

524

Headlamp Dimmer Switch High Beam Signal

8

0.35 BK/WH

351

Ground

9

--

--

Not Used

10

0.35 BN

1356

Flash To Pass Switch Signal

Variable Effort Steering Actuator (MX7)


Object Number: 1420683  Size: CH

Connector Part Information

  • OEM: 09630401
  • Service: See Catalog
  • Description: 2-Way F Sealed (BU)

Terminal Part Information

  • Terminal/Tray: 4-964286-1/16
  • Core/Insulation Crimp: E/1
  • Release Tool/Test Probe: 12093647/J-35616-4A (PU)

Variable Effort Steering Actuator (MX7)

Pin

Wire

Circuit

Function

1

0.5 WH

1294

Variable Effort Steering Actuator Supply Voltage

2

0.5 BN

1295

Variable Effort Steering Actuator Control

Vehicle Communication Interface Module (VCIM) X1 (UE1)


Object Number: 814530  Size: CH

Connector Part Information

  • OEM: 917981-1
  • Service: 15306351
  • Description: 16-Way F.040/.070 Hybrid Series (WH)

Terminal Part Information

  • Pins: 1-3, 6, 7, 10-12, 15
  • Terminal/Tray: 175266-5/15
  • Core/Insulation Crimp: Pins 1-3, 6, 10-12 - J/J
  • Core/Insulation Crimp: Pins 7, 15 - K/K
  • Release Tool/Test Probe: 15315247/J-35616-16 (L-GN)

Vehicle Communication Interface Module (VCIM) X1 (UE1)

Pin

Wire

Circuit

Function

1

0.35 D-GN

5060

Low Speed GMLAN Serial Data

2

0.35 BN/WH

2517

Keypad Red LED Signal

3

0.35 YE/BK

2516

Keypad Green LED Signal

4-5

--

--

Not Used

6

0.35 L-GN/BK

2515

Keypad Supply Voltage

7

0.8 BK/WH

851

Ground

8-9

--

--

Not Used

10

0.35 TN/WH

2500

High Speed GMLAN Serial Data Bus+

11

0.35 D-GN/WH

2514

Keypad Signal

12

0.35 TN

2501

High Speed GMLAN Serial Data Bus-

13-14

--

--

Not Used

15

0.8 OG

3340

Battery Positive Voltage

16

--

--

Not Used

Vehicle Communication Interface Module (VCIM) X2 (UE1)


Object Number: 814532  Size: CH

Connector Part Information

  • OEM: 917975-1
  • Service: 88952886
  • Description: 12-Way F.040/.070 Hybrid Series (WH)

Terminal Part Information

  • Pins: 1-4, 8-10
  • Terminal/Tray: 175266-5/15
  • Core/Insulation Crimp: J/J
  • Release Tool/Test Probe: 15315247/J-35616-16 (L-GN)
  • Pins: 1
  • Terminal/Tray: 770904-1/25
  • Core/Insulation Crimp: E/2
  • Release Tool/Test Probe: J-38125-220/J-35616-6 (BN)

Vehicle Communication Interface Module (VCIM) X2 (UE1)

Pin

Wire

Circuit

Function

1

0.35 OG/BK

1406

Remote Playback Device Left Audio Signal

2

0.35 L-BU

1405

Remote Playback Device Audio Common Signal

3

0.35 TN/WH

2500

High Speed GMLAN Serial Data Bus+

4

0.35 TN

2501

High Speed GMLAN Serial Data Bus-

5-7

--

--

Not Used

8

0.35 BARE

814

Drain Wire

9

0.35 GY

655

Cellular Microphone Signal

10

0.35 BARE

514

Ground

11-12

--

--

Not Used

Vehicle Communication Interface Module (VCIM) X3 (UE1)


Object Number: 814531  Size: CH

Connector Part Information

  • OEM: 917983-2
  • Service: 88988722
  • Description: 16-Way M MKII Hybrid (BK)

Terminal Part Information

  • Pins: 2, 4, 5
  • Terminal/Tray: 175266-5/15
  • Core/Insulation Crimp: J/J
  • Release Tool/Test Probe: 15315247/J-35616-16 (L-GN)

Vehicle Communication Interface Module (VCIM) X3 (UE1)

Pin

Wire

Circuit

Function

1

--

--

Not Used

2

0.35 PK

5149

Voice Recognition Audio Signal

3

--

--

Not Used

4

0.35 PK/BK

5152

Voice Recognition Audio Low Reference

5

0.35 BARE

1792

Drain Wire (UAV)

6-16

--

--

Not Used

Vehicle Inclination Sensor (UA2)


Object Number: 894390  Size: CH

Connector Part Information

  • OEM: 15324229
  • Service: See Catalog
  • Description: 4-Way F Timer 1.2 Series (BK)

Terminal Part Information

  • Terminal/Tray: 962943-5/16
  • Core/Insulation Crimp: See Terminal Repair Kit
  • Release Tool/Test Probe: J-38125-560/J-35616-33 (YE)

Vehicle Inclination Sensor (UA2)

Pin

Wire

Circuit

Function

1

0.35 OG

4540

Battery Positive Voltage

2

--

--

Not Used

3

0.35 L-BU

5362

Inclination Sensor Signal

4

0.35 YE

5058

Intrusion Sensor Armed Signal

Vehicle Speed Sensor (VSS) (MV7)


Object Number: 1356095  Size: CH

Connector Part Information

  • OEM: 1928402868
  • Service: See Catalog
  • Description: 3-Way F (BK)

Terminal Part Information

  • Pins: 1, 3
  • Terminal/Tray: 4-964286-1/16
  • Core/Insulation Crimp: E/1
  • Release Tool/Test Probe: 12093647/J-35616-4A (PU)

Vehicle Speed Sensor (VSS) (MV7)

Pin

Wire

Circuit

Function

1

0.5 PU/WH

821

VSS High Signal

2

0.8 BK/WH

1551

Ground

3

0.35 PK/BK

5294

Battery Positive Voltage

Wheel Speed Sensor (WSS) - Left Front


Object Number: 1862103  Size: CH

Connector Part Information

  • OEM: 34062-0011
  • Service: 19167740
  • Description: 2-Way F 1.5 Series Sealed (BK)

Terminal Part Information

  • Terminal/Tray: 34083-1002/28
  • Core/Insulation Crimp: C/E/1
  • Release Tool/Test Probe: 12094429/J-35616-14 (GN)

Wheel Speed Sensor (WSS) - Left Front

Pin

Wire

Circuit

Function

1

0.5 YE

873

Left Front Wheel Speed Sensor Low Reference

2

0.5 L-BU

830

Left Front Wheel Speed Sensor Signal

Wheel Speed Sensor (WSS) - Left Rear


Object Number: 1862103  Size: CH

Connector Part Information

  • OEM: 34062-0011
  • Service: 19167740
  • Description: 2-Way F 1.5 Series Sealed (BK)

Terminal Part Information

  • Terminal/Tray: 34083-1002/28
  • Core/Insulation Crimp: C/E/1
  • Release Tool/Test Probe: 12094429/J-35616-14 (GN)

Wheel Speed Sensor (WSS) - Left Rear

Pin

Wire

Circuit

Function

1

0.5 RD

885

Left Rear Wheel Speed Sensor Low Reference

2

0.5 BK

884

Left Rear Wheel Speed Sensor Signal

Wheel Speed Sensor (WSS) - Right Front


Object Number: 1862103  Size: CH

Connector Part Information

  • OEM: 34062-0011
  • Service: 19167740
  • Description: 2-Way F 1.5 Series Sealed (BK)

Terminal Part Information

  • Terminal/Tray: 34083-1002/28
  • Core/Insulation Crimp: C/E/1
  • Release Tool/Test Probe: 12094429/J-35616-14 (GN)

Wheel Speed Sensor (WSS) - Right Front

Pin

Wire

Circuit

Function

1

0.5 TN

833

Right Front Wheel Speed Sensor Low Reference

2

0.5 D-GN

872

Right Front Wheel Speed Sensor Signal

Wheel Speed Sensor (WSS) - Right Rear


Object Number: 1862103  Size: CH

Connector Part Information

  • OEM: 34062-0011
  • Service: 19167740
  • Description: 2-Way F 1.5 Series Sealed (BK)

Terminal Part Information

  • Terminal/Tray: 34083-1002/28
  • Core/Insulation Crimp: C/E/1
  • Release Tool/Test Probe: 12094429/J-35616-14 (GN)

Wheel Speed Sensor (WSS) - Right Rear

Pin

Wire

Circuit

Function

1

0.5 WH

883

Right Rear Wheel Speed Sensor Low Reference

2

0.5 BN

882

Right Rear Wheel Speed Sensor Signal

Window Motor - Driver


Object Number: 1986165  Size: CH

Connector Part Information

  • OEM: 902970-00
  • Service: See Catalog
  • Description: 6-Way F Sealed (BK)

Terminal Part Information

  • Terminal/Tray: See Terminal Repair Kit
  • Core/Insulation Crimp: See Terminal Repair Kit
  • Release Tool/Test Probe: See Terminal Repair Kit

Window Motor - Driver

Pin

Wire

Circuit

Function

1-2

--

--

Not Used

3

2 OG

4340

Battery Positive Voltage

4

2 BK

350

Ground

5

0.5 BN

6132

Local Interconnect Network 1

6

--

--

Not Used

Window Motor - Left Rear


Object Number: 684837  Size: CH

Connector Part Information

  • OEM: 12129487
  • Service: See Catalog
  • Description: 2-Way F Sealed (GY)

Terminal Part Information

  • Terminal/Tray: See Terminal Repair Kit
  • Core/Insulation Crimp: See Terminal Repair Kit
  • Release Tool/Test Probe: See Terminal Repair Kit

Window Motor - Left Rear

Pin

Wire

Circuit

Function

A

1 D-BU

668

Power Window Motor Left Rear Up Control

B

1 BN

669

Power Window Motor Left Rear Down Control

Window Motor - Passenger


Object Number: 1986165  Size: CH

Connector Part Information

  • OEM: 902970-00
  • Service: See Catalog
  • Description: 6-Way F Sealed (BK)

Terminal Part Information

  • Terminal/Tray: See Terminal Repair Kit
  • Core/Insulation Crimp: See Terminal Repair Kit
  • Release Tool/Test Probe: See Terminal Repair Kit

Window Motor - Passenger

Pin

Wire

Circuit

Function

1-2

--

--

Not Used

3

2 OG

4340

Battery Positive Voltage

4

2 BK

450

Ground

5

0.5 D-BU

6133

Local Interconnect Network 2

6

--

--

Not Used

Window Motor - Right Rear


Object Number: 684837  Size: CH

Connector Part Information

  • OEM: 12129487
  • Service: See Catalog
  • Description: 2-Way F Sealed (GY)

Terminal Part Information

  • Terminal/Tray: See Terminal Repair Kit
  • Core/Insulation Crimp: See Terminal Repair Kit
  • Release Tool/Test Probe: See Terminal Repair Kit

Window Motor - Right Rear

Pin

Wire

Circuit

Function

A

1 D-BU

670

Power Window Motor Right Rear Up Control

B

1 BN

671

Power Window Motor Right Rear Down Control

Window Switch - Left Rear


Object Number: 556473  Size: CH

Connector Part Information

  • OEM: 15326924
  • Service: See Catalog
  • Description: 8-Way F GT 280 Series (BK)

Terminal Part Information

  • Pins: E
  • Terminal/Tray: 15304713/19
  • Core/Insulation Crimp: 4/4
  • Release Tool/Test Probe: 15315247/J-35616-4A (PU)
  • Pins: A-D, F-H
  • Terminal/Tray: 15304711/8
  • Core/Insulation Crimp: Pins A-D - E/A
  • Core/Insulation Crimp: Pins F-H - 2/A
  • Release Tool/Test Probe: 15315247/J-35616-4A (PU)

Window Switch - Left Rear

Pin

Wire

Circuit

Function

A

0.35 GY

8

I/P Dimmer Switch Signal

B

0.35 PU

169

Power Window Master Switch Left Rear Down Signal

C

0.35 L-GN

168

Power Window Master Switch Left Rear Up Signal

D

0.35 L-BU/WH

1307

Power Window Master Switch Lockout Control

E

2 BK

350

Ground

F

1 D-BU

668

Power Window Motor Left Rear Up Control

G

1 BN

669

Power Window Motor Left Rear Down Control

H

1 RD/WH

4740

Battery Positive Voltage

Window Switch - Right Rear


Object Number: 556473  Size: CH

Connector Part Information

  • OEM: 15326924
  • Service: See Catalog
  • Description: 8-Way F GT 280 Series (BK)

Terminal Part Information

  • Pins: E
  • Terminal/Tray: 15304713/19
  • Core/Insulation Crimp: 4/4
  • Release Tool/Test Probe: 15315247/J-35616-4A (PU)
  • Pins: A-D, F-H
  • Terminal/Tray: 15304711/8
  • Core/Insulation Crimp: Pins A-D - E/A
  • Core/Insulation Crimp: Pins F-H - 2/A
  • Release Tool/Test Probe: 15315247/J-35616-4A (PU)

Window Switch - Right Rear

Pin

Wire

Circuit

Function

A

0.35 GY

8

Instrument Panel Lamp Supply Voltage/Instrument Panel Lamps Dimmer Switch Signal

B

0.35 PU

171

Power Window Master Switch Right Rear Down Signal

C

0.35 L-GN

170

Power Window Master Switch Right Rear Up Signal

D

0.35 L-BU/WH

280

Power Window Master Switch Lockout Right Rear Signal

E

2 BK

450

Ground

F

1 D-BU

670

Power Window Motor Right Rear Up Control

G

1 BN

671

Power Window Motor Right Rear Down Control

H

1 RD/WH

4640

Battery Positive Voltage

Windshield Outside Moisture Sensor (CE1)


Object Number: 722341  Size: CH

Connector Part Information

  • OEM: 43645-0400
  • Service: See Catalog
  • Description: 4-Way F (BK)

Terminal Part Information

  • Terminal/Tray: See Terminal Repair Kit
  • Core/Insulation Crimp: See Terminal Repair Kit
  • Release Tool/Test Probe: See Terminal Repair Kit

Windshield Outside Moisture Sensor (CE1)

Pin

Wire

Circuit

Function

1

0.35 L-GN

482

Windshield Outside Moisture Sensor Signal 2

2

0.35 BK

481

Windshield Outside Moisture Sensor Signal 1

3

0.35 BK

1051

Ground

4

0.35 D-GN

801

RAP Fuse Supply Voltage

Windshield Washer Fluid Level Switch


Object Number: 655692  Size: CH

Connector Part Information

  • OEM: 12162195
  • Service: See Catalog
  • Description: 2-Way F Metri-Pack 150.2 Series Sealed (BK)

Terminal Part Information

  • Terminal/Tray: 12124075/5
  • Core/Insulation Crimp: E/C
  • Release Tool/Test Probe: 12180559-1/J-35616-14 (GN)

Windshield Washer Fluid Level Switch

Pin

Wire

Circuit

Function

A

0.5 BK

650

Ground

B

0.5 TN

185

Low Washer Fluid Indicator Control

Windshield Washer Fluid Pump


Object Number: 635009  Size: CH

Connector Part Information

  • OEM: 12052641
  • Service: See Catalog
  • Description: 2-Way F Metri-Pack 150 Series Sealed (BK)

Terminal Part Information

  • Terminal/Tray: 12048074/2
  • Core/Insulation Crimp: E/1
  • Release Tool/Test Probe: 12094429/J-35616-14 (GN)

Windshield Washer Fluid Pump

Pin

Wire

Circuit

Function

A

0.8 RD

228

Windshield Washer Pump Control

B

0.5 BK

650

Ground

Windshield Washer Solvent Heater X1 (XA7)


Object Number: 1715214  Size: CH

Connector Part Information

  • OEM: 7282-3214-30
  • Service: See Catalog
  • Description: 2-Way F Sealed (BK)

Terminal Part Information

  • Terminal/Tray: See Terminal Repair Kit
  • Core/Insulation Crimp: See Terminal Repair Kit
  • Release Tool/Test Probe: See Terminal Repair Kit

Windshield Washer Solvent Heater X1 (XA7)

Pin

Wire

Circuit

Function

1

5 OG

2440

Battery Positive Voltage

2

5 BK

1150

Ground

Windshield Washer Solvent Heater X2 (XA7)


Object Number: 1664625  Size: CH

Connector Part Information

  • OEM: 33472-0611
  • Service: 19115669
  • Description: 6-Way F Sealed (BK)

Terminal Part Information

  • Pins: 1, 4-6
  • Terminal/Tray: 33012-1003/23
  • Core/Insulation Crimp: 2/E/2
  • Release Tool/Test Probe: J-38125-217/J-35616-14 (GN)

Windshield Washer Solvent Heater X2 (XA7)

Pin

Wire

Circuit

Function

1

0.35 L-GN

6096

Washer Fluid Heated Control Switch Signal

2

0.35 D-BU/WH

5970

Washer Fluid Heated Control Switch LED Supply Voltage

3

--

--

Not Used

4

0.35 BK/WH

351

Ground

5

0.35 PK

94

Windshield Washer Switch Signal

6

0.35 D-GN

300

Ignition 3 Voltage

Windshield Wiper/Washer Switch


Object Number: 1974979  Size: CH

Connector Part Information

  • OEM: AIT2PB-10-1DM
  • Service: See Catalog
  • Description: 10-Way F (GN)

Terminal Part Information

  • Terminal/Tray: See Terminal Repair Kit
  • Core/Insulation Crimp: See Terminal Repair Kit
  • Release Tool/Test Probe: See Terminal Repair Kit

Windshield Wiper/Washer Switch

Pin

Wire

Circuit

Function

1

0.35 L-BU

1714

Windshield Wiper Switch Low Signal

2

0.35 BK/WH

1251

Ground

3

0.35 L-GN

1715

Windshield Wiper Switch High Signal

4

0.35 PK

94

Windshield Washer Switch Signal (XA7)

5-10

--

--

Not Used

Windshield Wiper Motor


Object Number: 1715213  Size: CH

Connector Part Information

  • OEM: 15316488
  • Service: 19149298
  • Description: 5-Way F 090 Series Sealed (GY)

Terminal Part Information

  • Terminal/Tray: See Terminal Repair Kit
  • Core/Insulation Crimp: See Terminal Repair Kit
  • Release Tool/Test Probe: See Terminal Repair Kit

Windshield Wiper Motor

Pin

Wire

Circuit

Function

1

2 D-GN

95

Windshield Washer Switch Signal

2

0.35 BK

650

Ground

3

0.35 YE

196

Windshield Wiper Motor Park Switch Signal

4

2 PU

92

Windshield Wiper Motor High Speed

5

2 BK

650

Ground

Yaw Rate and Lateral Acceleration Sensor


Object Number: 831393  Size: CH

Connector Part Information

  • OEM: 1-967616-1
  • Service: 15306420
  • Description: 6-Way F MQS Socket Housing, Sealed (BK)

Terminal Part Information

  • Terminal/Tray: 962885-5/15
  • Core/Insulation Crimp: 6/6
  • Release Tool/Test Probe: 12094429/J-35616-64B (L-BU)

Yaw Rate and Lateral Acceleration Sensor

Pin

Wire

Circuit

Function

1

0.35 GY/BK

1337

12-Volt Reference

2

0.35 D-BU

6433

CAN Bus High Serial Data

3

0.35 PU

6432

CAN Bus Low Serial Data

4

0.35 TN/WH

6433

CAN Bus High Serial Data

5

0.35 L-GN/BK

6432

CAN Bus Low Serial Data

6

0.35 BK/WH

451

Ground