GM Service Manual Online
For 1990-2009 cars only

Tool Required

J 22912-B Split Plate Bearing Puller


    Object Number: 1413917  Size: SH

    Important: Inspect the input shaft subassembly before disassemble. Refer to Gears and Shafts Cleaning and Inspection.

  1. Remove the 5th/6th gear synchronizer hub snap ring (163).

  2. Object Number: 1413921  Size: SH

    Important: Place the edge of gear on press plate.

  3. Using a hydraulic press and J 22912-B , remove the 6th gear and the synchronizer as a unit.

  4. Object Number: 1998290  Size: SH

    Important: Before removing sleeve (118), cover components in order to keep the ball and spring from ejecting loose.

  5. Remove the following components as an assembly:
  6. • The 5th/6th gear synchronizer sleeve (118)
    • The 5th/6th gear synchronizer hub (124) including insert (119), detent ball (127) and spring (123)
    • The 5th gear synchronizer blocking ring (121)
    • The 6th gear (201)
    • The 6th gear bearing (131)
    • The 6th gear bearing spacer (189)

    Object Number: 1539081  Size: SH
  7. Remove the 6th gear snap ring (170).
  8. Remove the 3rd gear thrust washer (113).
  9. Remove the locating pin (192).
  10. Remove the 3rd gear assembly which includes:
  11. • The 3rd gear (197)
    • The 3rd gear blocking ring (104)
  12. Remove the 3rd gear bearing (132).

  13. Object Number: 1539082  Size: SH
  14. Remove the 3rd/4th gear spacer (190).
  15. Remove the snap ring (156) and discard.

  16. Object Number: 1413931  Size: SH

    Important: Place the edge of gear on press plate.

  17. Using a hydraulic press and J 22912-B , remove the 4th gear and the synchronizer as a unit.

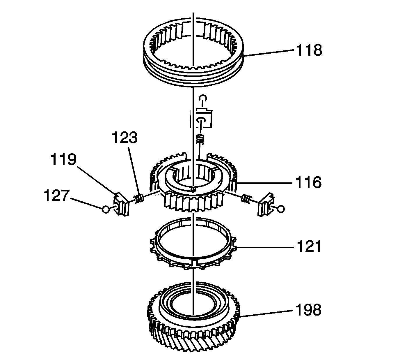
  18. Object Number: 1921452  Size: SH

    Important: Before removing sleeve (118), cover components in order to keep the ball and spring from ejecting loose.

  19. Remove the following components as an assembly:
  20. • The 3rd/4th gear synchronizer sleeve (118)
    • The 3rd/4th gear synchronizer hub (116) including insert (119), detent ball (127) and spring (123)
    • The 4th gear blocking ring (121)
    • The 4th gear (198)

    Object Number: 1425654  Size: SH
  21. Remove the 4th gear bearing (130) from the input shaft.

  22. Object Number: 1413935  Size: SH
  23. Remove the snap ring (176) and discard.

  24. Object Number: 1413936  Size: SH
  25. Using a hydraulic press, remove the counter gear front bearing from the input shaft.