GM Service Manual Online
For 1990-2009 cars only
Connector 1: X101 Body Harness to Engine Harness
Connector 2: X104 Engine Harness to the I/P Harness
Connector 3: X105 Engine Harness to the I/P Harness
Connector 4: X110 Front End Lighting Harness to the Left Front Repeater Lamp Jumper Harness (T90)
Connector 5: X111 Front End Lighting Harness to the Right Front Repeater Lamp Jumper Harness (T90)
Connector 6: X114 Front End Lighting Harness to the Left Front Headlamp Harness
Connector 7: X115 Front End Lighting Harness to the Right Front Headlamp Harness
Connector 8: X121 Engine Harness to Fuel Injector Harness (LP1/LY7)
Connector 9: X135 Body Harness to Engine Harness
Connector 10: X160 Engine Harness to the Fuel Injector Harness (LLT)
Connector 11: X161 Engine Harness to the Fuel Injector Harness (LLT)
Connector 12: X163 I/P Harness to Body Harness
Connector 13: X165 Forward Lamp Harness to Body Harness
Connector 14: X170 Body Harness to Forward Lamp Harness (UH3)
Connector 15: X175 Front Pedestrian Protection Harness to the Instrument Panel Harness (B3T)
Connector 16: X200 Body Harness to I/P Harness
Connector 17: X201 Body Harness to I/P Harness (A45 with N38)
Connector 18: X202 Instrument Panel Harness to the Steering Wheel Column Harness
Connector 19: X203 Body Harness to Inflatable Restraint Steering Wheel Coil Harness
Connector 20: X204 Sunload Sensor Jumper Harness to I/P Harness
Connector 21: X210 I/P Harness to the Steering Wheel Column Harness (N38)
Connector 22: X215 Instrument Panel Harness to the Instrument Panel Jumper (WXS)
Connector 23: X220 Body Harness to I/P Harness
Connector 24: X225 Body Harness to I/P Harness
Connector 25: X235 Body Harness to the Instrument Panel Harness
Connector 26: X240 I/P Harness to Clutch Pedal Position Sensor Jumper (MV7)
Connector 27: X254 Inflatable Restraint Module to Body Harness (Passenger)
Connector 28: X260 Body Harness to I/P Harness Right
Connector 29: X270 Body Harness to I/P Harness Right (XA7)
Connector 30: X300 Body Harness to Driver Seat Harness (A45 with N38)
Connector 31: X301 Body Harness to Driver Seat Harness
Connector 32: X303 Body Harness to I/P Harness
Connector 33: X305 Headliner Harness to Body Harness
Connector 34: X307 Body Harness to Front Passenger Seat Harness
Connector 35: X308 Headliner Harness Right to Body Harness
Connector 36: X312 Console Harness to Body Harness
Connector 37: X315 Console Harness to IP Harness (UQA or U2S/UAV/U2X/U2Y)
Connector 38: X345 Driver Seat Harness to Body Harness
Connector 39: X350 Front Passenger Seat harness to Body Harness
Connector 40: X401 (C3U/UE1) Body Harness to Sunroof Harness
Connector 41: X420 Body Harness to Fuel Tank Harness
Connector 42: X425 Rear Fascia Harness to Body Harness (T79/UD7/UHA/UHF)
Connector 43: X430 Rear Fascia Harness to Body Harness (UH3)
Connector 44: X500 Body Harness to Left Front Door Harness
Connector 45: X501 Left Front Door Harness to Left Front Door Trim Harness
Connector 46: X505 Left Front Door Harness to Left Front Door Trim Harness
Connector 47: X600 Body to Right Front Door
Connector 48: X601 Front Passenger Door Harness to the Front Passenger Door Trim Harness
Connector 49: X605 Front Right Door Harness to Front Right Trim Harness
Connector 50: X700 Body Harness to Left Rear Door Harness
Connector 51: X701 Left Rear Door Harness to Left Rear Trim Harness
Connector 52: X800 Body Harness to Right Rear Door Harness
Connector 53: X801 Right Rear Door Harness to the Right Rear Door Trim Harness
Connector 54: X900 Body Harness to License Lamp Harness

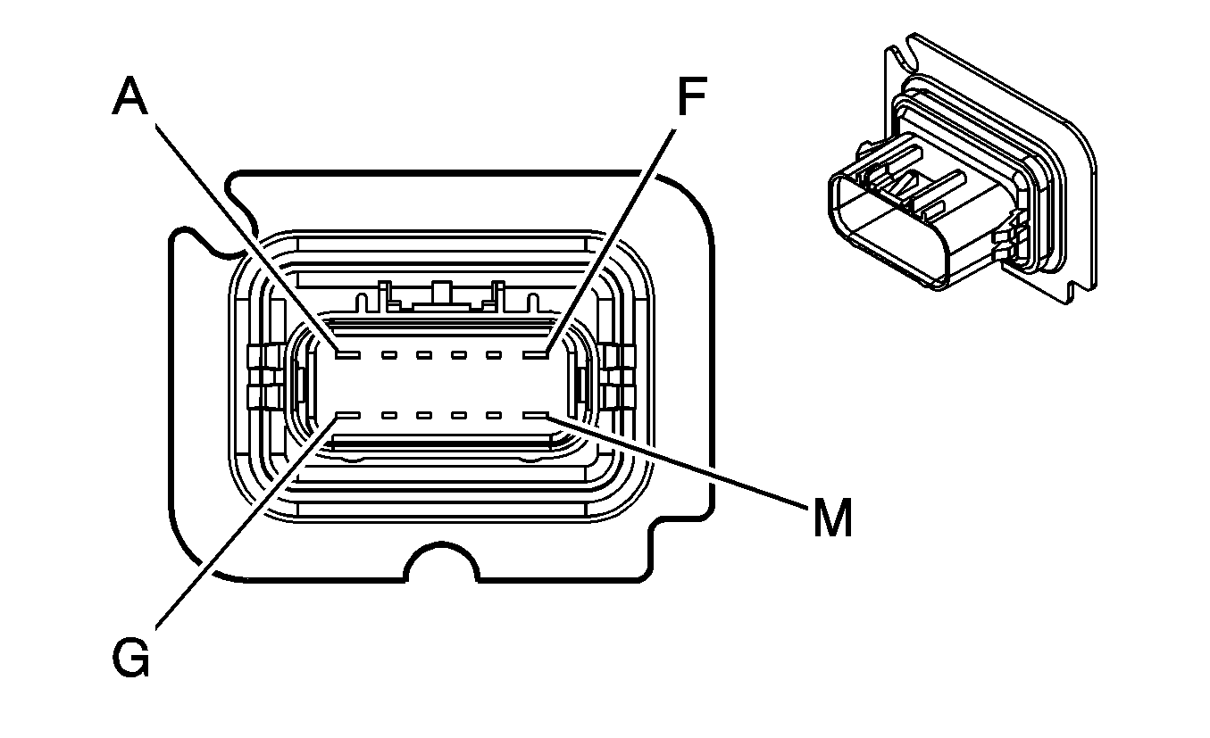
X101 Body Harness to Engine Harness


Object Number: 888600  Size: CH

Object Number: 823284  Size: CH

Connector Part Information

  • OEM: 7283-5545-10
  • Service: 88952445
  • Description: 12-Way F YESC/USCAR Class III Series Sealed (D-GY)

Connector Part Information

  • OEM: 7282-5545-10
  • Service: 88952435
  • Description: 12-Way M 1.5 Series Weather Pack Sealed (D-GY)

Terminal Part Information

  • Pins: 1-7, 9-12
  • Terminal/Tray: 7116-4102-08/9
  • Core/Insulation Crimp: E/1
  • Release Tool/Test Probe: 12094430/J-35616-2A (GY)
  • Pins: 8
  • Terminal/Tray: 7116-4103-08/9
  • Core/Insulation Crimp: E/1
  • Release Tool/Test Probe: 12094430/J-35616-2A (GY)

Terminal Part Information

  • Terminal/Tray: See Terminal Repair Kit
  • Core/Insulation Crimp: See Terminal Repair Kit
  • Release Tool/Test Probe: See Terminal Repair Kit

X101 Body Harness to Engine Harness

Pin

Wire

Circuit

Function

Pin

Wire

Circuit

Function

1

0.35 PU

6432

CAN Bus Low Serial Data

1

0.35 PU

6432

CAN Bus Low Serial Data

2

0.35 D-BU

6433

CAN Bus High Serial Data

2

0.35 D-BU

6433

CAN Bus High Serial Data

3

0.35 GY/BK

1337

5-Volt Reference

3

0.35 GY/BK

1337

5-Volt Reference

4

0.5 D-GN/WH

465

Fuel Pump Relay Control - Primary

4

0.5 D-GN/WH

465

Fuel Pump Relay Control - Primary

5

0.5 GY/BN

7345

Manual Transmission Clutch Position Sensor Low Reference

5

0.5 GY/BN

7345

Manual Transmission Clutch Position Sensor Low Reference

6

0.5 D-GN

890

Fuel Tank Pressure Sensor Signal

6

0.5 D-GN

890

Fuel Tank Pressure Sensor Signal

7

0.5 BU/YE

7346

Manual Transmission Clutch Position Sensor 5-Volt Reference

7

0.5 BU/YE

7346

Manual Transmission Clutch Position Sensor 5-Volt Reference

8

0.8 WH

1310

EVAP Canister Vent Solenoid Control

8

0.8 WH

1310

EVAP Canister Vent Solenoid Control

9

0.8 D-BU

1936

Fuel Level Sensor Signal - Secondary

9

0.8 D-BU

1936

Fuel Level Sensor Signal - Secondary

10

0.5 L-BU

1937

Secondary Fuel Level Sensor Signal

10

0.5 L-BU

1937

Secondary Fuel Level Sensor Signal

11

0.5 TN/WH

2500

High Speed GMLAN Serial Data Bus+

11

0.5 TN/WH

2500

High Speed GMLAN Serial Data Bus+

12

0.5 TN

2501

High Speed GMLAN Serial Data Bus-

12

0.5 TN

2501

High Speed GMLAN Serial Data Bus-

X104 Engine Harness to the I/P Harness


Object Number: 888600  Size: CH

Object Number: 823284  Size: CH

Connector Part Information

  • OEM: 7283-5545-10
  • Service: 88952445
  • Description: 12-Way F YESC/USCAR Class III Series Sealed (D-GY)

Connector Part Information

  • OEM: 7282-5545-10
  • Service: 88952435
  • Description: 12-Way M 1.5 Series Weather Pack Sealed (D-GY)

Terminal Part Information

  • Pins: 1-11
  • Terminal/Tray: 7116-4102-08/9
  • Core/Insulation Crimp: E/1
  • Release Tool/Test Probe: 12094430/J-35616-2A (GY)
  • Pins: 9, 12
  • Terminal/Tray: 7116-4103-08/9
  • Core/Insulation Crimp: E/1
  • Release Tool/Test Probe: 12094430/J-35616-2A (GY)

Terminal Part Information

  • Terminal/Tray: See Terminal Repair Kit
  • Core/Insulation Crimp: See Terminal Repair Kit
  • Release Tool/Test Probe: See Terminal Repair Kit

X104 Engine Harness to the I/P Harness

Pin

Wire

Circuit

Function

Pin

Wire

Circuit

Function

1

0.5 BN/WH

419

MIL Control (LP1/LY7)

1

0.35 BN/WH

419

MIL Control

2

0.5 PU

1272

Low Reference

2

0.35 PU

1272

Low Reference

3

0.5 TN

1274

5-Volt Reference

3

0.35 TN

1274

5-Volt Reference

4

0.5 L-BU

1162

APP Sensor 2 Signal

4

0.35 L-BU

1162

APP Sensor 2 Signal

5

0.5 BN

1271

Low Reference

5

0.35 BN

1271

Low Reference

6

0.5 WH/BK

1164

5-Volt Reference

6

0.35 WH/BK

1164

5-Volt Reference

7

0.5 D-BU

1161

APP Sensor 1 Signal

7

0.35 D-BU

1161

APP Sensor 1 Signal

8

0.35 D-GN/WH

817

Vehicle Speed Signal (UAV/U2X/U2Y)

8

0.35 D-GN/WH

817

Vehicle Speed Signal (UAV/U2X/U2Y)

9

0.5 OG

340

Battery Positive Voltage

9

1 OG

340

Battery Positive Voltage

10

0.35 GY

1056

Steering Wheel Position Sensor 5-Volt Reference

10

0.35 GY

1056

Steering Wheel Position Sensor 5-Volt Reference

11

0.5 OG

740

Battery Positive Voltage (LLT)

11

0.5 RD/WH

740

Battery Positive Voltage (LLT)

12

1 OG

240

Battery Positive Voltage (LLT)

12

1 OG

240

Battery Positive Voltage (LLT)

X105 Engine Harness to the I/P Harness


Object Number: 1413042  Size: CH

Object Number: 1413074  Size: CH

Connector Part Information

  • OEM: 7283-5553-10
  • Service: 88988402
  • Description: 6-Way F YESC/USCAR Class III Series Sealed (D-GY)

Connector Part Information

  • OEM: 7282-5553-10
  • Service: 88988399
  • Description: 6-Way M YESC/USCAR Class III Series Sealed (D-GY)

Terminal Part Information

  • Pins: 1-3, 5, 6
  • Terminal/Tray: 7116-4102-08/9
  • Core/Insulation Crimp: E/1
  • Release Tool/Test Probe: 12094430/J-35616-2A (GY)
  • Pins: 3, 4
  • Terminal/Tray: 7116-4103-08/9
  • Core/Insulation Crimp: E/1
  • Release Tool/Test Probe: 12094430/J-35616-2A (GY)

Terminal Part Information

  • Terminal/Tray: See Terminal Repair Kit
  • Core/Insulation Crimp: See Terminal Repair Kit
  • Release Tool/Test Probe: See Terminal Repair Kit

X105 Engine Harness to the I/P Harness

Pin

Wire

Circuit

Function

Pin

Wire

Circuit

Function

1

0.5 GN

7481

Clutch Calibration Resistor Signal (MX7)

1

0.35 GN

7481

Clutch Calibration Resistor Signal (MX7)

0.5 BU/YE

7346

Manual Transmission Clutch Position Sensor Volt Reference (MV7)

0.35 BU/YE

7346

Manual Transmission Clutch Position Sensor Volt Reference (MV7)

2

0.5 GN/BK

7480

Clutch Calibration Resistor 5-Volt Reference (MX7)

2

0.35 GN/BK

7480

Clutch Calibration Resistor 5-Volt Reference (MX7)

0.5 GY/BN

7345

Manual Transmission Clutch Position Sensor Low Reference (MV7)

0.35 GY/BN

7345

Manual Transmission Clutch Position Sensor Low Reference (MV7)

3

1 YE/WH

7483

Clutch Coil Control (MX7)

3

1 YE/WH

7483

Clutch Coil Control (MX7)

0.5 TN

6338

Manual Transmission Clutch Position Sensor Signal Position (MV7)

0.35 TN

6338

Manual Transmission Clutch Position Sensor Signal Position (MV7)

4

1 YE/BK

7482

Clutch Coil Return (MX7)

4

1 YE/BK

7482

Clutch Coil Return (MX7)

5

0.5 TN

7485

Oil Temperature Sensor Signal (MX7)

5

0.35 TN

7485

Oil Temperature Sensor Signal (MX7)

6

0.5 OG

7484

Oil Temperature Sensor 5-Volt Reference (MX7)

6

0.35 OG

7484

Oil Temperature Sensor 5-Volt Reference (MX7)

X110 Front End Lighting Harness to the Left Front Repeater Lamp Jumper Harness (T90)


Object Number: 781760  Size: CH

Object Number: 258174  Size: CH

Connector Part Information

  • OEM: 12015792
  • Service: See Catalog
  • Description: 2-Way F Weather Pack Series Sealed (BK)

Connector Part Information

  • OEM: 12010973
  • Service: See Catalog
  • Description: 2-Way M Weather Pack Series Sealed (BK)

Terminal Part Information

  • Terminal/Tray: 12089188/3
  • Core/Insulation Crimp: E/5
  • Release Tool/Test Probe: 12014012-1/J-35616-8 (OG)

Terminal Part Information

  • Terminal/Tray: See Terminal Repair Kit
  • Core/Insulation Crimp: See Terminal Repair Kit
  • Release Tool/Test Probe: See Terminal Repair Kit

X110 Front End Lighting Harness to the Left Front Repeater Lamp Jumper Harness (T90)

Pin

Wire

Circuit

Function

Pin

Wire

Circuit

Function

A

0.5 L-BU/WH

1314

Left Front Turn Signal Lamp Supply Voltage

A

0.35 L-BU/WH

1314

Left Front Turn Signal Lamp Supply Voltage

B

0.5 BK

150

Ground

B

0.5 BK

150

Ground

X111 Front End Lighting Harness to the Right Front Repeater Lamp Jumper Harness (T90)


Object Number: 781760  Size: CH

Object Number: 258174  Size: CH

Connector Part Information

  • OEM: 12015792
  • Service: See Catalog
  • Description: 2-Way F Weather Pack Series Sealed (BK)

Connector Part Information

  • OEM: 12010973
  • Service: See Catalog
  • Description: 2-Way M Weather Pack Series Sealed (BK)

Terminal Part Information

  • Terminal/Tray: 12089188/3
  • Core/Insulation Crimp: E/5
  • Release Tool/Test Probe: 12014012-1/J-35616-8 (OG)

Terminal Part Information

  • Terminal/Tray: See Terminal Repair Kit
  • Core/Insulation Crimp: See Terminal Repair Kit
  • Release Tool/Test Probe: See Terminal Repair Kit

X111 Front End Lighting Harness to the Right Front Repeater Lamp Jumper Harness (T90)

Pin

Wire

Circuit

Function

Pin

Wire

Circuit

Function

A

0.5 D-BU/WH

1315

Right Front Turn Signal Lamp Supply Voltage/Right Turn Signal Indicator Lamp Supply Voltage

A

0.35 D-BU/WH

1315

Right Front Turn Signal Lamp Supply Voltage/Right Turn Signal Indicator Lamp Supply Voltage

B

0.5 BK

250

Ground

B

0.5 BK

250

Ground

X114 Front End Lighting Harness to the Left Front Headlamp Harness


Object Number: 831375  Size: CH

Object Number: 1986143  Size: CH

Connector Part Information

  • OEM: 15326939
  • Service: See Catalog
  • Description: 12-Way F GT 150 280 Series Sealed (BK)

Connector Part Information

  • OEM: 15373526
  • Service: See Catalog
  • Description: 12-Way M GT 150 280 Series Sealed (BK)

Terminal Part Information

  • Terminal/Tray: See Terminal Repair Kit
  • Core/Insulation Crimp: See Terminal Repair Kit
  • Release Tool/Test Probe: See Terminal Repair Kit

Terminal Part Information

  • Terminal/Tray: See Terminal Repair Kit
  • Core/Insulation Crimp: See Terminal Repair Kit
  • Release Tool/Test Probe: See Terminal Repair Kit

X114 Front End Lighting Harness to the Left Front Headlamp Harness

Pin

Wire

Circuit

Function

Pin

Wire

Circuit

Function

A

1 YE

712

Left Headlamp Low Beam Supply Voltage

A

1 BK

712

Left Headlamp Low Beam Supply Voltage

B

0.35 D-BU

5364

Left DRL/Turn Supply Voltage (TT6/TT7/TT8)

B

0.5 BK

5364

Left DRL/Turn Supply Voltage (TT6/TT7/TT8)

C

0.35 PU

709

Left Park Lamp Supply Voltage (without T90)

C

0.35 BK

709

Left Park Lamp Supply Voltage (without T90)

D

0.35 PU

709

Left Park Lamp Supply Voltage

D

0.35 BK

709

Left Park Lamp Supply Voltage

E

0.35 L-BU/WH

1314

Left Front Turn Signal Lamp Supply Voltage

E

0.8 BK

1314

Left Front Turn Signal Lamp Supply Voltage

F

0.5 D-GN/WH

711

Left Headlamp High Beam Supply Voltage

F

0.5 BK

711

Left Headlamp High Beam Supply Voltage

G

0.35 BK

813

Drain Wire (TT6/TT7/TT8)

G

0.35 BK

813

Drain Wire (TT6/TT7/TT8)

H

0.35 BN

7129

Left Front Headlamp Adaptive Forward Lighting System (AFS) Motor Signal 1 (TT6/TT7/TT8)

H

0.35 BK

7129

Left Front Headlamp Adaptive Forward Lighting System (AFS) Motor Signal 1 (TT6/TT7/TT8)

J

0.35 L-BU

7130

Left Front Headlamp Adaptive Forward Lighting System (AFS) Motor Signal 2 (TT6/TT7/TT8)

J

0.35 BK

7130

Left Front Headlamp Adaptive Forward Lighting System (AFS) Motor Signal 2 (TT6/TT7/TT8)

K

0.35 D-GN

7131

Left Front Headlamp Adaptive Forward Lighting System (AFS) Motor Signal 3 (TT6/TT7/TT8)

K

0.35 BK

7131

Left Front Headlamp Adaptive Forward Lighting System (AFS) Motor Signal 3 (TT6/TT7/TT8)

L

0.35 GY

7132

Left Front Headlamp Adaptive Forward Lighting System (AFS) Motor Signal 4 (TT6/TT7/TT8)

L

0.35 BK

7132

Left Front Headlamp Adaptive Forward Lighting System (AFS) Motor Signal 4 (TT6/TT7/TT8)

M

1 BK

150

Ground

M

1 BK

150

Ground

X115 Front End Lighting Harness to the Right Front Headlamp Harness


Object Number: 831375  Size: CH

Object Number: 1986143  Size: CH

Connector Part Information

  • OEM: 15326939
  • Service: See Catalog
  • Description: 12-Way F GT 150 280 Series Sealed (BK)

Connector Part Information

  • OEM: 15373526
  • Service: See Catalog
  • Description: 12-Way M GT 150 280 Series Sealed (BK)

Terminal Part Information

  • Terminal/Tray: See Terminal Repair Kit
  • Core/Insulation Crimp: See Terminal Repair Kit
  • Release Tool/Test Probe: See Terminal Repair Kit

Terminal Part Information

  • Terminal/Tray: See Terminal Repair Kit
  • Core/Insulation Crimp: See Terminal Repair Kit
  • Release Tool/Test Probe: See Terminal Repair Kit

X115 Front End Lighting Harness to the Right Front Headlamp Harness

Pin

Wire

Circuit

Function

Pin

Wire

Circuit

Function

A

1 TN/WH

312

Right Headlamp Low Beam Supply Voltage

A

1 BK

312

Right Headlamp Low Beam Supply Voltage

B

0.35 D-GN

5365

Right DRL/Turn Supply Voltage (TT6/TT7/TT8)

B

0.5 BK

5365

Right DRL/Turn Supply Voltage (TT6/TT7/TT8)

C

0.35 BN/WH

309

Right Park Lamp Supply Voltage (without T90)

C

0.35 BK

309

Right Park Lamp Supply Voltage (without T90)

D

0.35 BN/WH

309

Right Park Lamp Supply Voltage

D

0.35 BK

309

Right Park Lamp Supply Voltage

E

0.35 D-BU/WH

1315

Right Front Turn Signal Lamp Supply Voltage

E

0.5 BK

1315

Right Front Turn Signal Lamp Supply Voltage

F

0.5 L-GN/BK

311

Right Headlamp High Beam Supply Voltage

F

0.5 BK

311

Right Headlamp High Beam Supply Voltage

G

0.35 BK

814

Drain Wire (TT6/TT7/TT8)

G

0.35 BK

814

Drain Wire (TT6/TT7/TT8)

H

0.35 OG

7133

Right Front Headlamp Adaptive Forward Lighting System (AFS) Motor Signal 1 (TT6/TT7/TT8)

H

0.35 BK

7133

Right Front Headlamp Adaptive Forward Lighting System (AFS) Motor Signal 1 (TT6/TT7/TT8)

J

0.35 PK

7134

Right Front Headlamp Adaptive Forward Lighting System (AFS) Motor Signal 2 (TT6/TT7/TT8)

J

0.35 BK

7134

Right Front Headlamp Adaptive Forward Lighting System (AFS) Motor Signal 2 (TT6/TT7/TT8)

K

0.35 TN

7135

Right Front Headlamp Adaptive Forward Lighting System (AFS) Motor Signal 3 (TT6/TT7/TT8)

K

0.35 BK

7135

Right Front Headlamp Adaptive Forward Lighting System (AFS) Motor Signal 3 (TT6/TT7/TT8)

L

0.35 YE

7136

Right Front Headlamp Adaptive Forward Lighting System (AFS) Motor Signal 4 (TT6/TT7/TT8)

L

0.35 BK

7136

Right Front Headlamp Adaptive Forward Lighting System (AFS) Motor Signal 4 (TT6/TT7/TT8)

M

1 BK

250

Ground

M

1 BK

250

Ground

X121 Engine Harness to Fuel Injector Harness (LP1/LY7)


Object Number: 1849822  Size: CH

Object Number: 1480280  Size: CH

Connector Part Information

  • OEM: 1-967189-1
  • Service: 88988927
  • Description: 10-Way F Junior Power Timer Series Sealed (BK)

Connector Part Information

  • OEM: 1-962352-1
  • Service: See Catalog
  • Description: 10-Way M Junior Power Timer Series Sealed (BK)

Terminal Part Information

  • Pins: 1-8
  • Terminal/Tray: 4-964286-1/16
  • Core/Insulation Crimp: E/1
  • Release Tool/Test Probe: 12093647/J-35616-4A (PU)

Terminal Part Information

  • Terminal/Tray: See Terminal Repair Kit
  • Core/Insulation Crimp: See Terminal Repair Kit
  • Release Tool/Test Probe: See Terminal Repair Kit

X121 Engine Harness to Fuel Injector Harness (LP1/LY7)

Pin

Wire

Circuit

Function

Pin

Wire

Circuit

Function

1

1 PK/BK

5291

Ignition 1 Voltage

1

0.8 WH

5291

Ignition 1 Voltage

2

1 PK/BK

5292

Ignition 1 Voltage

2

0.8 WH

5292

Ignition 1 Voltage

3

0.8 BK

1744

Fuel Injector 1 Control

3

0.75 TN

1744

Fuel Injector 1 Control

4

0.8 PK/BK

1746

Fuel Injector 3 Control

4

0.75 PK/BK

1746

Fuel Injector 3 Control

5

0.8 BK/WH

845

Fuel Injector 5 Control

5

0.75 TN/WH

845

Fuel Injector 5 Control

6

0.8 L-GN/BK

1745

Fuel Injector 2 Control

6

0.75 L-GN/BK

1745

Fuel Injector 2 Control

7

0.8 L-BU/BK

844

Fuel Injector 4 Control

7

0.75 L-BU/BK

844

Fuel Injector 4 Control

8

0.8 YE/BK

846

Fuel Injector 6 Control

8

0.75 YE/BK

846

Fuel Injector 6 Control

9-10

--

--

Not Used

9-10

--

--

Not Used

X135 Body Harness to Engine Harness


Object Number: 1479640  Size: CH

Object Number: 1479634  Size: CH

Connector Part Information

  • OEM: 7283-5889-30
  • Service: 19153169
  • Description: 4-Way F YESC/USCAR Class 3 Sealed (BK)

Connector Part Information

  • OEM: 7282-5889-30
  • Service: See Catalog
  • Description: 4-Way M YESC/USCAR Class III Series Sealed (BK)

Terminal Part Information

  • Terminal/Tray: 7116-4102-08/9
  • Core/Insulation Crimp: E/1
  • Release Tool/Test Probe: 12094430/J-35616-2A (GY)

Terminal Part Information

  • Terminal/Tray: See Terminal Repair Kit
  • Core/Insulation Crimp: See Terminal Repair Kit
  • Release Tool/Test Probe: See Terminal Repair Kit

X135 Body Harness to Engine Harness

Pin

Wire

Circuit

Function

Pin

Wire

Circuit

Function

1

0.5 RD

885

Left Rear Wheel Speed Sensor Low Reference

1

0.5 RD

885

Left Rear Wheel Speed Sensor Low Reference

2

0.5 BK

884

Left Rear Wheel Speed Sensor Signal

2

0.5 BK

884

Left Rear Wheel Speed Sensor Signal

3

0.5 WH

883

Right Rear Wheel Speed Sensor Low Reference

3

0.5 WH

883

Right Rear Wheel Speed Sensor Low Reference

4

0.5 BN

882

Right Rear Wheel Speed Sensor Signal

4

0.5 BN

882

Right Rear Wheel Speed Sensor Signal

X160 Engine Harness to the Fuel Injector Harness (LLT)


Object Number: 1986157  Size: CH

Object Number: 1986159  Size: CH

Connector Part Information

  • OEM: 33472-0606
  • Service: See Catalog
  • Description: 6-Way F Sealed (BK)

Connector Part Information

  • OEM: 33482-0601
  • Service: See Catalog
  • Description: 6-Way M Sealed (BK)

Terminal Part Information

  • Pins: 2- 5, 8-10, 11, 12
  • Terminal/Tray: 33012-1002/26
  • Core/Insulation Crimp: Pins: 5, 11, 12 : E/C
  • Core/Insulation Crimp: Pins: 2-4, 8-10 : See Terminal Repair Kit
  • Release Tool/Test Probe: 12094429/J-35616-14 (GN)

Terminal Part Information

  • Terminal/Tray: See Terminal Repair Kit
  • Core/Insulation Crimp: See Terminal Repair Kit
  • Release Tool/Test Probe: See Terminal Repair Kit

X160 Engine Harness to the Fuel Injector Harness (LLT)

Pin

Wire

Circuit

Function

Pin

Wire

Circuit

Function

1

1 D-BU

4802

Direct Fuel Injector (DFI) High Voltage Control Cylinder 2

1

1 BK

4802

Direct Fuel Injector (DFI) High Voltage Control Cylinder 2

2

1 D-BU/WH

4902

Direct Fuel Injector (DFI) High Voltage Supply Cylinder 2

2

1 TN

4902

Direct Fuel Injector (DFI) High Voltage Supply Cylinder 2

3

1 L-BU

4804

Direct Fuel Injector (DFI) High Voltage Control Cylinder 4

3

1 BK

4804

Direct Fuel Injector (DFI) High Voltage Control Cylinder 4

4

1 L-BU/WH

4904

Direct Fuel Injector (DFI) High Voltage Supply Cylinder 4

4

1 TN

4904

Direct Fuel Injector (DFI) High Voltage Supply Cylinder 4

5

1 PU

4806

Direct Fuel Injector (DFI) High Voltage Control Cylinder 6

5

1 BK

4806

Direct Fuel Injector (DFI) High Voltage Control Cylinder 6

6

1 PU/WH

4906

Direct Fuel Injector (DFI) High Voltage Supply Cylinder 6

6

1 TN

4906

Direct Fuel Injector (DFI) High Voltage Supply Cylinder 6

X161 Engine Harness to the Fuel Injector Harness (LLT)


Object Number: 1825165  Size: CH

Object Number: 1825167  Size: CH

Connector Part Information

  • OEM: 33472-1236
  • Service: See Catalog
  • Description: 12-Way MX150 Series F Sealed (BK)

Connector Part Information

  • OEM: 33482-1216
  • Service: See Catalog
  • Description: 12-Way MX150 Series M Sealed (BK)

Terminal Part Information

  • Pins: 2-5, 8-10
  • Terminal/Tray: 33012-1002/26
  • Core/Insulation Crimp: Pins: 5, 11, 12 : E/C
  • Core/Insulation Crimp: Pins: 2-5, 8-10 : See Terminal Repair Kit
  • Release Tool/Test Probe: 12094429/J-35616-14 (GN)

Terminal Part Information

  • Terminal/Tray: See Terminal Repair Kit
  • Core/Insulation Crimp: See Terminal Repair Kit
  • Release Tool/Test Probe: See Terminal Repair Kit

X161 Engine Harness to the Fuel Injector Harness (LLT)

Pin

Wire

Circuit

Function

Pin

Wire

Circuit

Function

1

--

--

Not Used

1

--

--

Not Used

2

1 BN

4801

Direct Fuel Injector (DFI) High Voltage Control Cylinder 1

2

1 TN

4801

Direct Fuel Injector (DFI) High Voltage Control Cylinder 1

3

1 D-GN

4803

Direct Fuel Injector (DFI) High Voltage Control Cylinder 3

3

1 TN

4803

Direct Fuel Injector (DFI) High Voltage Control Cylinder 3

4

1 L-GN

4805

Direct Fuel Injector (DFI) High Voltage Control Cylinder 5

4

1 TN

4805

Direct Fuel Injector (DFI) High Voltage Control Cylinder 5

5

0.5 BK

808

Low Reference

5

0.5 L-BU

808

Low Reference

6-7

--

--

Not Used

6-7

--

--

Not Used

8

1 BN/WH

4901

Direct Fuel Injector (DFI) High Voltage Supply Cylinder 1

8

1 BK

4901

Direct Fuel Injector (DFI) High Voltage Supply Cylinder 1

9

1 D-GN/WH

4903

Direct Fuel Injector (DFI) High Voltage Supply Cylinder 3

9

1 BK

4903

Direct Fuel Injector (DFI) High Voltage Supply Cylinder 3

10

1 L-GN/WH

4905

Direct Fuel Injector (DFI) High Voltage Supply Cylinder 5

10

1 BK

4905

Direct Fuel Injector (DFI) High Voltage Supply Cylinder 5

11

0.5 GY

598

5-Volt Reference

11

0.5 GY

598

5-Volt Reference

12

0.5 YE

2918

FRP Sensor Signal

12

0.5 BK

2918

FRP Sensor Signal

X163 I/P Harness to Body Harness


Object Number: 1856772  Size: CH

Object Number: 1856773  Size: CH

Connector Part Information

  • OEM: 7123-4210-30
  • Service: 12162870
  • Description: 1-Way F 375 Series Sealed (BK)

Connector Part Information

  • OEM: 7222-4210-30
  • Service: 19167742
  • Description: 1-Way M Y Type, Sealed (L-GY)

Terminal Part Information

  • Terminal/Tray: 7116-3250/10
  • Core/Insulation Crimp: G/3
  • Release Tool/Test Probe: 12094430/J-35616-22 (RD)

Terminal Part Information

  • Terminal/Tray: See Terminal Repair Kit
  • Core/Insulation Crimp: See Terminal Repair Kit
  • Release Tool/Test Probe: See Terminal Repair Kit

X163 I/P Harness to Body Harness

Pin

Wire

Circuit

Function

Pin

Wire

Circuit

Function

1

5 PU

293

Rear Defog Element Supply Voltage

1

5 PU

293

Rear Defog Element Supply Voltage

X165 Forward Lamp Harness to Body Harness


Object Number: 888600  Size: CH

Object Number: 823284  Size: CH

Connector Part Information

  • OEM: 7283-5545-10
  • Service: 88952445
  • Description: 12-Way F YESC/USCAR Class III Series Sealed (D-GY)

Connector Part Information

  • OEM: 7282-5545-10
  • Service: 88952435
  • Description: 12-Way M 1.5 Series Weather Pack Sealed (D-GY)

Terminal Part Information

  • Pins: 1-8, 11, 12
  • Terminal/Tray: 7116-4102-08/9
  • Core/Insulation Crimp: E/1
  • Release Tool/Test Probe: 12094430/J-35616-2A (GY)

Terminal Part Information

  • Terminal/Tray: See Terminal Repair Kit
  • Core/Insulation Crimp: See Terminal Repair Kit
  • Release Tool/Test Probe: See Terminal Repair Kit

X165 Forward Lamp Harness to Body Harness

Pin

Wire

Circuit

Function

Pin

Wire

Circuit

Function

1

0.35 L-GN/BK

1209

Left Rear Suspension Position Sensor Low Reference (TR7)

1

0.35 L-GN/BK

1209

Left Rear Suspension Position Sensor Low Reference (TR7)

2

0.35 L-GN/WH

1210

Left Rear Suspension Position Sensor Signal (TR7)

2

0.35 L-GN/WH

1210

Left Rear Suspension Position Sensor Signal (TR7)

3

0.35 RD/BK

1208

Left Rear Suspension Position Sensor Voltage Reference (TR7)

3

0.35 RD/BK

1208

Left Rear Suspension Position Sensor Voltage Reference (TR7)

4

0.35 L-BU

5986

Serial Data Communication Enable

4

0.35 L-BU

5986

Serial Data Communication Enable

5

0.5 TN/WH

2500

High Speed GMLAN Serial Data Bus+

5

0.5 TN/WH

2500

High Speed GMLAN Serial Data Bus+

6

0.5 TN

2501

High Speed GMLAN Serial Data Bus-

6

0.5 TN

2501

High Speed GMLAN Serial Data Bus-

7

0.5 PU

709

Left Park Lamp Supply Voltage

7

0.5 PU

709

Left Park Lamp Supply Voltage

8

0.5 BN/WH

309

Right Park Lamp Supply Voltage

8

0.5 BN/WH

309

Right Park Lamp Supply Voltage

9-10

--

--

Not Used

9-10

--

--

Not Used

11

0.5 TN/WH

2500

High Speed GMLAN Serial Data Bus+

11

0.5 TN/WH

2500

High Speed GMLAN Serial Data Bus+

12

0.5 TN

2501

High Speed GMLAN Serial Data Bus-

12

0.5 TN

2501

High Speed GMLAN Serial Data Bus-

X170 Body Harness to Forward Lamp Harness (UH3)


Object Number: 1479640  Size: CH

Object Number: 1479634  Size: CH

Connector Part Information

  • OEM: 7283-5889-30
  • Service: 19153169
  • Description: 4-Way F YESC/USCAR Class III Series, Sealed (BK)

Connector Part Information

  • OEM: 7282-5889-30
  • Service: See Catalog
  • Description: 4-Way M YESC/USCAR Class III Series, Sealed (BK)

Terminal Part Information

  • Terminal/Tray: 7116-4102-08/9
  • Core/Insulation Crimp: E/1
  • Release Tool/Test Probe: 12094430/J-35616-2A (GY)

Terminal Part Information

  • Terminal/Tray: See Terminal Repair Kit
  • Core/Insulation Crimp: See Terminal Repair Kit
  • Release Tool/Test Probe: See Terminal Repair Kit

X170 Body Harness to Forward Lamp Harness (UH3)

Pin

Wire

Circuit

Function

Pin

Wire

Circuit

Function

1

0.35 L-GN/BK

5731

Tire Pressure Receiver Low Reference

1

0.35 L-GN/BK

5731

Tire Pressure Receiver Low Reference

2

0.35 L-BU/BK

5732

Tire Pressure Receiver Supply Voltage

2

0.35 L-BU/BK

5732

Tire Pressure Receiver Supply Voltage

3

0.35 GY

5733

Left Front Tire Pressure Receiver Signal

3

0.35 GY

5733

Left Front Tire Pressure Receiver Signal

4

0.35 OG

5734

Right Front Tire Pressure Receiver Signal

4

0.35 OG

5734

Right Front Tire Pressure Receiver Signal

X175 Front Pedestrian Protection Harness to the Instrument Panel Harness (B3T)


Object Number: 1413042  Size: CH

Object Number: 1413074  Size: CH

Connector Part Information

  • OEM: 7283-5553-10
  • Service: See Catalog
  • Description: 6-Way F YESC/USCAR Class III Series, (D-GY)

Connector Part Information

  • OEM: 7282-5553-10
  • Service: See Catalog
  • Description: 6-Way M YESC/USCAR Class III Series, (D-GY)

Terminal Part Information

  • Terminal/Tray: See Terminal Repair Kit
  • Core/Insulation Crimp: See Terminal Repair Kit
  • Release Tool/Test Probe: See Terminal Repair Kit

Terminal Part Information

  • Terminal/Tray: See Terminal Repair Kit
  • Core/Insulation Crimp: See Terminal Repair Kit
  • Release Tool/Test Probe: See Terminal Repair Kit

X175 Front Pedestrian Protection Harness to the Instrument Panel Harness (B3T)

Pin

Wire

Circuit

Function

Pin

Wire

Circuit

Function

1

0.35 GY/BK

2260

SIR Forward Sensor Low Reference

1

0.35 GY/BK

2260

SIR Forward Sensor Low Reference

2

0.35 BK

407

Low Reference

2

0.35 BK

407

Low Reference

3

0.35 GY

349

Discriminating Sensor - Left - Signal

3

0.35 GY

349

Discriminating Sensor - Left - Signal

4

0.35 YE/BK

2160

Front End Discriminating Sensor Signal

4

0.35 YE/BK

2160

Front End Discriminating Sensor Signal

5

0.35 YE

1834

Forward Discriminating Sensor Signal

5

0.35 YE

1834

Forward Discriminating Sensor Signal

6

0.35 D-GN/WH

6620

Left Middle Side Impact Sensing Module Signal

6

0.35 D-GN/WH

6620

Left Middle Side Impact Sensing Module Signal

X200 Body Harness to I/P Harness


Object Number: 823290  Size: CH

Object Number: 1283905  Size: CH

Connector Part Information

  • OEM: 7283-6447-40
  • Service: 88956524
  • Description: 14-Way F Hybrid Series (L-GY)

Connector Part Information

  • OEM: 7282-6447-40
  • Service: 88956523
  • Description: 14-Way M Hybrid Series (L-GY)

Terminal Part Information

  • Pins: 1, 8, 14
  • Terminal/Tray: 7116-4110-02/9
  • Core/Insulation Crimp: E/C
  • Release Tool/Test Probe: 12094430/J-35616-4A (PU)
  • Pins: 2-6, 9-13
  • Terminal/Tray: 7116-4100-08/9
  • Core/Insulation Crimp: E/C
  • Release Tool/Test Probe: 12094430/J-35616-2A (GY)
  • Pins: 2, 3, 5, 6, 8, 9, 12, 13
  • Terminal/Tray: 7116-4101-08/9
  • Core/Insulation Crimp: Pins: 8 : C/A
  • Core/Insulation Crimp: Pins: 2, 5, 6, 9, 12, 13 : E/A
  • Core/Insulation Crimp: Pins: 3, 12, 13 : See Terminal Repair Kit
  • Release Tool/Test Probe: 12094430/J-35616-2A (GY)
  • Pins: 1, 7, 8
  • Terminal/Tray: 7116-4112-02/9
  • Core/Insulation Crimp: C/D
  • Release Tool/Test Probe: 12094430/J-35616-35 (VT)

Terminal Part Information

  • Terminal/Tray: See Terminal Repair Kit
  • Core/Insulation Crimp: See Terminal Repair Kit
  • Release Tool/Test Probe: See Terminal Repair Kit

X200 Body Harness to I/P Harness

Pin

Wire

Circuit

Function

Pin

Wire

Circuit

Function

1

0.35 PK

539

Ignition 1 Voltage (KB6/UA2)

1

0.35 PK

539

Ignition 1 Voltage (KB6/UA2)

2

0.5 PK

1739

Ignition 1 Voltage

2

0.5 PK

1739

Ignition 1 Voltage

0.5 PK

1739

Ignition 1 Voltage

3

0.35 WH

7066

Entertainment Remote Enable Signal

3

0.35 WH

7066

Entertainment Remote Enable Signal

4

0.35 L-BU

5986

Serial Data Communication Enable

4

0.35 L-BU

5986

Serial Data Communication Enable

5

0.8 BK/WH

351

Ground

5

0.8 BK/WH

351

Ground

6

1 BK/WH

851

Ground

6

1 BK/WH

851

Ground

7

3 BK

350

Ground

7

3 BK

350

Ground

8

2 OG

1040

Battery Positive Voltage

8

1 OG

1040

Battery Positive Voltage

9

0.8 L-BU

14

Left Turn Signal Lamps Supply Voltage (T90)

9

0.8 L-BU

14

Left Turn Signal Lamps Supply Voltage (T90)

0.8 YE

18

Left Rear Stop/Turn Lamp Supply Voltage (without T90)

0.8 YE

18

Left Rear Stop/Turn Lamp Supply Voltage (without T90)

10

0.5 YE

1860

Front Center Speaker Output (+)

10

0.5 YE

1860

Front Center Speaker Output (+)

11

0.5 L-BU

1960

Front Center Speaker Output (-)

11

0.5 L-BU

1960

Front Center Speaker Output (-)

12

0.5 YE

1956

Left Front Tweeter Speaker Output (-) (UQS)

12

0.5 YE

1956

Left Front Tweeter Speaker Output (-) (UQS)

0.5 GY

118

Left Front Speaker Output (-) (UQA)

0.5 GY

118

Left Front Speaker Output (-) (UQA)

13

0.5 BK

1856

Left Front Tweeter Speaker Output (+) (UQS)

13

0.5 BK

1856

Left Front Tweeter Speaker Output (+) (UQS)

13

0.5 TN

201

Left Front Speaker Output (+) (UQA)

13

0.5 TN

201

Left Front Speaker Output (+) (UQA)

14

0.35 YE

1977

Rear Fog Lamps Switch Signal (T79)

14

0.35 YE

1977

Rear Fog Lamps Switch Signal (T79)

X201 Body Harness to I/P Harness (A45 with N38)


Object Number: 1540775  Size: CH

Object Number: 1283905  Size: CH

Connector Part Information

  • OEM: 7283-5623-60
  • Service: 19167675
  • Description: 14-Way F YESC/USCAR Class III (GN)

Connector Part Information

  • OEM: 7282-5623-60
  • Service: 19167670
  • Description: 14-Way M Hybrid Series (GN)

Terminal Part Information

  • Pins: 2-5, 9-13
  • Terminal/Tray: 7116-4100-08/9
  • Core/Insulation Crimp: E/C
  • Release Tool/Test Probe: 12094430/J-35616-2A (GY)
  • Pins: 1, 7, 8, 14
  • Terminal/Tray: 7116-4111-02/9
  • Core/Insulation Crimp: C/A
  • Release Tool/Test Probe: 12094430/J-35616-4A (PU)

Terminal Part Information

  • Terminal/Tray: See Terminal Repair Kit
  • Core/Insulation Crimp: See Terminal Repair Kit
  • Release Tool/Test Probe: See Terminal Repair Kit

X201 Body Harness to I/P Harness (A45 with N38)

Pin

Wire

Circuit

Function

Pin

Wire

Circuit

Function

1

1 RD

2098

Steering Column Telescope Motor Forward

1

1 RD

2098

Steering Column Telescope Motor Forward

2

0.35 TN

6207

Memory Sensor High Reference

2

0.35 TN

6207

Memory Sensor High Reference

3

0.35 GY

6206

Memory Sensor Low Reference

3

0.35 GY

6206

Memory Sensor Low Reference

4

0.35 OG

2153

Steering Column Telescope Sensor Signal

4

0.35 OG

2153

Steering Column Telescope Sensor Signal

5

0.35 OG

2154

Steering Column Tilt Sensor Signal

5

0.35 OG

2154

Steering Column Tilt Sensor Signal

6

--

--

Not Used

6

--

--

Not Used

7

1 RD

2111

Steering Column Tilt Motor Control - Up

7

1 RD

2111

Steering Column Tilt Motor Control - Up

8

1 BK

2110

Steering Column Telescope Motor Control - Reverse

8

1 BK

2110

Steering Column Telescope Motor Control - Reverse

9

0.35 PU/WH

6205

Driver Position Switch High Reference

9

0.35 PU/WH

6205

Driver Position Switch High Reference

10

0.35 PK

2094

Steering Column Tilt and Telescope Forward Switch Signal

10

0.35 PK

2094

Steering Column Tilt and Telescope Forward Switch Signal

11

0.35 OG

2095

Steering Column Tilt and Telescope Reverse Switch Signal

11

0.35 OG

2095

Steering Column Tilt and Telescope Reverse Switch Signal

12

0.35 GY

2096

Steering Column Tilt and Telescope Up Switch Signal

12

0.35 GY

2096

Steering Column Tilt and Telescope Up Switch Signal

13

0.35 YE

2097

Steering Column Tilt and Telescope Down Switch Signal

13

0.35 YE

2097

Steering Column Tilt and Telescope Down Switch Signal

14

1 BK

2112

Steering Column Tilt Motor Control - Down

14

1 BK

2112

Steering Column Tilt Motor Control - Down

X202 Instrument Panel Harness to the Steering Wheel Column Harness


Object Number: 1483282  Size: CH

Object Number: 1483279  Size: CH

Connector Part Information

  • OEM: 7283-6388-40
  • Service: See Catalog
  • Description: 20-Way F 0.64 Series (L-GY)

Connector Part Information

  • OEM: 7282-6568-40
  • Service: See Catalog
  • Description: 20-Way M 0.64 Series (GY)

Terminal Part Information

  • Terminal/Tray: See Terminal Repair Kit
  • Core/Insulation Crimp: See Terminal Repair Kit
  • Release Tool/Test Probe: See Terminal Repair Kit

Terminal Part Information

  • Terminal/Tray: See Terminal Repair Kit
  • Core/Insulation Crimp: See Terminal Repair Kit
  • Release Tool/Test Probe: See Terminal Repair Kit

X202 Instrument Panel Harness to the Steering Wheel Column Harness

Pin

Wire

Circuit

Function

Pin

Wire

Circuit

Function

1

0.35 PU/WH

1630

Steering Column Key Cylinder Lock Solenoid Control (MYB)

1

0.35 PU/WH

1630

Steering Column Key Cylinder Lock Solenoid Control (MYB)

2

0.35 WH

103

Headlamp Switch Headlamps On Signal

2

0.35 WH

103

Headlamp Switch Headlamps On Signal

3

0.35 BN/WH

301

Rear Park Lamps Supply Voltage

3

0.35 BN/WH

301

Rear Park Lamps Supply Voltage

4

--

--

Not Used

4

--

--

Not Used

5

0.35 PU/WH

7005

LED Dimming Signal

5

0.35 PU/WH

7005

LED Dimming Signal

6

0.35 L-GN

80

Key In Ignition Switch Signal (UHA/UHF)

6

0.35 L-GN

80

Key In Ignition Switch Signal (UHA/UHF)

7

0.35 D-GN

5060

Low Speed GMLAN Serial Data (without Y41)

7

0.35 D-GN

5060

Low Speed GMLAN Serial Data (without Y41)

8

0.35 PK

94

Windshield Washer Switch Signal (XA7)

8

0.35 PK

94

Windshield Washer Switch Signal (XA7)

9

0.35 L-BU

187

Rear Fog Lamp Switch Signal (T79)

9

0.35 L-BU

187

Rear Fog Lamp Switch Signal (T79)

10

0.35 GY

1056

Steering Wheel Position Sensor 5-Volt Reference Voltage

10

0.35 GY

1056

Steering Wheel Position Sensor 5-Volt Reference Voltage

11

0.35 PU

1375

Remote Radio Control Supply Voltage (MYB)

11

0.35 PU

1375

Remote Radio Control Supply Voltage (MYB)

12

0.35 OG

1940

Battery Positive Voltage

12

0.35 OG

1940

Battery Positive Voltage

13

0.35 PU

5526

Tap Up/Tap Down Switch Signal (MYB)

13

0.35 PU

5526

Tap Up/Tap Down Switch Signal (MYB)

14

0.35 L-GN/BK

6432

CAN Bus Low Serial Data

14

0.35 L-GN/BK

6432

CAN Bus Low Serial Data

15

0.35 TN/WH

6433

CAN Bus High Serial Data

15

0.35 TN/WH

6433

CAN Bus High Serial Data

16

0.35 GN/WH

7158

Cruise Control Indicator Dimming Signal

16

0.35 GN/WH

7158

Cruise Control Indicator Dimming Signal

17

0.35 PU/WH

5905

Key Capture/Column Lock Shift Position Signal (UHA/UHF)

17

0.35 PU/WH

5905

Key Capture/Column Lock Shift Position Signal (UHA/UHF)

18

0.35 BK

28

Horn Relay Control

18

0.35 BK

28

Horn Relay Control

19

0.5 BK

350

Ground

19

0.5 BK

350

Ground

20

0.35 BK/WH

351

Ground

20

0.35 BK/WH

351

Ground

X203 Body Harness to Inflatable Restraint Steering Wheel Coil Harness


Object Number: 594473  Size: CH

Object Number: 684931  Size: CH

Connector Part Information

  • OEM: 15336479
  • Service: See Catalog
  • Description: 4-Way F Metri-Pack 280 Series (YE)

Connector Part Information

  • OEM: 15336476
  • Service: See Catalog
  • Description: 4-Way M Metri-Pack 280 Series (YE)

Terminal Part Information

  • Terminal/Tray: See Terminal Repair Kit
  • Core/Insulation Crimp: See Terminal Repair Kit
  • Release Tool/Test Probe: See Terminal Repair Kit

Terminal Part Information

  • Terminal/Tray: See Terminal Repair Kit
  • Core/Insulation Crimp: See Terminal Repair Kit
  • Release Tool/Test Probe: See Terminal Repair Kit

X203 Body Harness to Inflatable Restraint Steering Wheel Coil Harness

Pin

Wire

Circuit

Function

Pin

Wire

Circuit

Function

A1

0.35 TN

3021

Steering Wheel Module - Stage 1 - High Control

A1

0.35 TN

3021

Steering Wheel Module - Stage 1 - High Control

A2

0.35 BN

3020

Steering Wheel Module - Stage 1 - Low Control

A2

0.35 BN

3020

Steering Wheel Module - Stage 1 - Low Control

B1

0.35 WH

3023

Steering Wheel Module - Stage 2 - High Control

B1

0.35 WH

3023

Steering Wheel Module - Stage 2 - High Control

B2

0.35 PK

3022

Steering Wheel Module - Stage 2 - Low Control

B2

0.35 PK

3022

Steering Wheel Module - Stage 2 - Low Control

X204 Sunload Sensor Jumper Harness to I/P Harness


Object Number: 1787798  Size: CH

Object Number: 1787797  Size: CH

Connector Part Information

  • OEM: 7283-6449-40
  • Service: See Catalog
  • Description: 4-Way F Kaizen YESC Series (L-GY)

Connector Part Information

  • OEM: 7282-6449-40
  • Service: 19149534
  • Description: 4-Way M Kaizen YESC Series (L-GY)

Terminal Part Information

  • Terminal/Tray: 7116-4100-08/9
  • Core/Insulation Crimp: E/C
  • Release Tool/Test Probe: 12094430/J-35616-2A (GY)

Terminal Part Information

  • Terminal/Tray: See Terminal Repair Kit
  • Core/Insulation Crimp: See Terminal Repair Kit
  • Release Tool/Test Probe: See Terminal Repair Kit

X204 Sunload Sensor Jumper Harness to I/P Harness

Pin

Wire

Circuit

Function

Pin

Wire

Circuit

Function

1

0.35 GY

1548

Passenger Sunload Sensor Signal

1

0.35 GY

1548

Passenger Sunload Sensor Signal

2

0.35 L-BU/BK

590

Driver Sunload Sensor Signal

2

0.35 L-BU/BK

590

Driver Sunload Sensor Signal

3

0.35 YE

61

Low Reference

3

0.35 YE

61

Low Reference

4

0.35 L-GN/BK

1137

DRL Ambient Light Sensor Signal

4

0.35 L-GN/BK

1137

DRL Ambient Light Sensor Signal

X210 I/P Harness to the Steering Wheel Column Harness (N38)


Object Number: 823290  Size: CH

Object Number: 1283905  Size: CH

Connector Part Information

  • OEM: 7283-6447-40
  • Service: See Catalog
  • Description: 14-Way F Hybrid Series (L-GY)

Connector Part Information

  • OEM: 7282-6447-40
  • Service: See Catalog
  • Description: 14-Way M Hybrid Series (L-GY)

Terminal Part Information

  • Terminal/Tray: Terminal Repair Kit
  • Core/Insulation Crimp: See Terminal Repair Kit
  • Release Tool/Test Probe: See Terminal Repair Kit

Terminal Part Information

  • Terminal/Tray: See Terminal Repair Kit
  • Core/Insulation Crimp: See Terminal Repair Kit
  • Release Tool/Test Probe: See Terminal Repair Kit

X210 I/P Harness to the Steering Wheel Column Harness (N38)

Pin

Wire

Circuit

Function

Pin

Wire

Circuit

Function

1

1 RD

2098

Steering Column Telescope Motor Forward

1

1 RD

2098

Steering Column Telescope Motor Forward

2

0.35 TN

6207

Memory Sensor High Reference

2

0.35 TN

6207

Memory Sensor High Reference

3

0.35 GY

6206

Memory Sensor Low Reference

3

0.35 GY

6206

Memory Sensor Low Reference

4

0.35 OG

2153

Steering Column Telescope Sensor Signal (A45/N38)

4

0.35 OG

2153

Steering Column Telescope Sensor Signal (A45/N38)

5

0.35 OG

2154

Steering Column Tilt Sensor Signal (A45/N38)

5

0.35 OG

2154

Steering Column Tilt Sensor Signal (A45/N38)

6

--

--

Not Used

6

--

--

Not Used

7

1 RD

2111

Steering Column Tilt Motor Control - Up

7

1 RD

2111

Steering Column Tilt Motor Control - Up

8

1 BK

2110

Steering Column Telescope Motor Control - Reverse

8

1 BK

2110

Steering Column Telescope Motor Control - Reverse

9

0.35 PU/WH

6205

Driver Position Switch High Reference

9

0.35 PU/WH

6205

Driver Position Switch High Reference

10

0.35 PK

2094

Steering Column Tilt and Telescope Forward Switch Signal

10

0.35 PK

2094

Steering Column Tilt and Telescope Forward Switch Signal

11

0.35 OG

2095

Steering Column Tilt and Telescope Reverse Switch Signal

11

0.35 OG

2095

Steering Column Tilt and Telescope Reverse Switch Signal

12

0.35 GY

2096

Steering Column Tilt and Telescope Up Switch Signal

12

0.35 GY

2096

Steering Column Tilt and Telescope Up Switch Signal

13

0.35 YE

2097

Steering Column Tilt and Telescope Down Switch Signal

13

0.35 YE

2097

Steering Column Tilt and Telescope Down Switch Signal

14

1 BK

2112

Steering Column Tilt Motor Control - Down

14

1 BK

2112

Steering Column Tilt Motor Control - Down

X215 Instrument Panel Harness to the Instrument Panel Jumper (WXS)


Object Number: 647976  Size: CH

Object Number: 847286  Size: CH

Connector Part Information

  • OEM: 15332161
  • Service: See Catalog
  • Description: 12-Way F GT 150 Series (BK)

Connector Part Information

  • OEM: 15332166
  • Service: See Catalog
  • Description: 12-Way M GT 150 Series (BK)

Terminal Part Information

  • Terminal/Tray: Terminal Repair Kit
  • Core/Insulation Crimp: See Terminal Repair Kit
  • Release Tool/Test Probe: See Terminal Repair Kit

Terminal Part Information

  • Terminal/Tray: See Terminal Repair Kit
  • Core/Insulation Crimp: See Terminal Repair Kit
  • Release Tool/Test Probe: See Terminal Repair Kit

X215 Instrument Panel Harness to the Instrument Panel Jumper (WXS)

Pin

Wire

Circuit

Function

Pin

Wire

Circuit

Function

A

0.5 OG

1040

Battery Positive Voltage

A

--

--

Hands Free Phone Accommodation

B

0.35 PK

539

Ignition 1 Voltage

B

--

--

Hands Free Phone Accommodation

C

0.35 GY

655

Cellular Microphone Signal

C

0.35 GY

655

Cellular Microphone Signal

D

0.35 BARE

514

Ground

D

0.35 BARE

514

Ground

E

0.35 BK/WH

351

Ground

E

--

--

Hands Free Phone Accommodation

F

0.35 GY

655

Cellular Microphone Signal

F

0.35 GY

655

Cellular Microphone Signal

G

0.35 GY

514

Ground

G

0.35 GY

514

Ground

H

0.35 OG/BK

1406

Remote Playback Device Left Audio Signal

H

--

--

Hands Free Phone Accommodation

J

0.35 L-BU

1405

Remote Playback Device Audio Common Signal

J

--

--

Hands Free Phone Accommodation

K

0.35 OG

5748

Radio Audio Mute Signal

K

--

--

Hands Free Phone Accommodation

L

0.35 BARE

2012

Drain Wire

L

--

--

Hands Free Phone Accommodation

M

--

--

Not Used

M

--

--

Not Used

X220 Body Harness to I/P Harness


Object Number: 1664488  Size: CH

Object Number: 1707495  Size: CH

Connector Part Information

  • OEM: 7283-9078-80
  • Service: 15136074
  • Description: 16-Way F Kaizen 0.64 Series (BN)

Connector Part Information

  • OEM: 7282-9072-80
  • Service: 89047490
  • Description: 16-Way M YESC Kaizen 0.64 Unsealed (BN)

Terminal Part Information

  • Terminal/Tray: SAITS-A03T-M064
  • Core/Insulation Crimp: Pins: 1-9. 11-13, 16 : P/P
  • Core/Insulation Crimp: Pins: 14, 15 : See Terminal Repair Kit
  • Release Tool/Test Probe: See Terminal Repair Kit

Terminal Part Information

  • Terminal/Tray: See Terminal Repair Kit
  • Core/Insulation Crimp: See Terminal Repair Kit
  • Release Tool/Test Probe: See Terminal Repair Kit

X220 Body Harness to I/P Harness

Pin

Wire

Circuit

Function

Pin

Wire

Circuit

Function

1

0.35 BN/WH

367

Remote Radio Left Audio Signal (U2X/U2Y)

1

0.35 BN/WH

367

Remote Radio Left Audio Signal (U2X/U2Y)

2

0.35 BK/WH

372

Remote Radio Audio Output (+) (U2X/U2Y)

2

0.35 BK/WH

372

Remote Radio Audio Output (+) (U2X/U2Y)

3

0.35 BARE

5345

Drain Wire (U2X/U2Y)

3

0.35 BARE

5345

Drain Wire (U2X/U2Y)

4

0.35 D-GN/WH

368

Remote Radio Right Audio Signal (U2X/U2Y)

4

0.35 D-GN/WH

368

Remote Radio Right Audio Signal (U2X/U2Y)

5

0.35 GY

388

Remote Radio Right Audio Signal (U2X/U2Y)

5

0.35 GY

388

Remote Radio Right Audio Signal (U2X/U2Y)

6

0.35 BARE

1792

Drain Wire (UAV and UE1)

6

0.35 BARE

1792

Drain Wire (UAV and UE1)

7

0.35 PK/BK

5152

Voice Recognition Audio Low Reference (UAV/UE1)

7

0.35 PK/BK

5152

Voice Recognition Audio Low Reference (UAV/UE1)

0.35 BARE

514

Ground (WXS)

0.35 BARE

514

Ground (WXS)

8

0.35 GY

655

Cellular Microphone Low Reference (WXS)

8

0.35 GY

655

Cellular Microphone Low Reference (WXS)

0.35 PK

5149

Voice Recognition Audio Signal (UAV/UE1)

0.35 PK

5149

Voice Recognition Audio Signal (UAV/UE1)

9

0.35 YE

--

COAX (U2X)

9

0.35 YE

--

COAX (U2X)

10

--

--

Not Used

10

--

--

Not Used

11

0.35 L-BU

1405

Remote Playback Device Audio Common Signal (UE1)

11

0.35 L-BU

1405

Remote Playback Device Audio Common Signal (UE1)

0.35 GY

--

COAX (U2X)

0.35 GY

--

COAX (U2X)

12

0.35 BARE

1782

Drain Wire (U2X)

12

0.35 BARE

1782

Drain Wire (U2X)

0.35 OG/BK

1406

Remote Playback Device Left Audio Signal (UE1)

0.35 OG/BK

1406

Remote Playback Device Left Audio Signal (UE1)

13

0.35 BARE

814

Drain Wire (UE1)

13

0.35 BARE

814

Drain Wire (UE1)

0.35 BN

--

COAX (U2X)

0.35 BN

--

COAX (U2X)

14

0.5 GY

--

COAX (U2X/U2Y)

14

0.5 GY

--

COAX (U2X/U2Y)

15

0.5 BK

--

COAX (U2X/U2Y)

15

0.5 BK

--

COAX (U2X/U2Y)

16

0.35 PK

539

Ignition 1 Voltage (UH3)

16

0.35 PK

539

Ignition 1 Voltage (UH3)

X225 Body Harness to I/P Harness


Object Number: 823290  Size: CH

Object Number: 1283905  Size: CH

Connector Part Information

  • OEM: 7283-6447-40
  • Service: 88956524
  • Description: 14-Way F Hybrid Series (L-GY)

Connector Part Information

  • OEM: 7282-6447-40
  • Service: 88956523
  • Description: 14-Way M Hybrid Series (L-GY)

Terminal Part Information

  • Pins: 8
  • Terminal/Tray: 7116-4110-02/9
  • Core/Insulation Crimp: E/C
  • Release Tool/Test Probe: 12094430/J-35616-4A (PU)
  • Pins: 2, 3, 9-11, 13
  • Terminal/Tray: 7116-4100-08/9
  • Core/Insulation Crimp: E/C
  • Release Tool/Test Probe: 12094430/J-35616-2A (GY)
  • Pins: 4, 6, 9, 10, 12
  • Terminal/Tray: 7116-4101-08/9
  • Core/Insulation Crimp: E/A
  • Release Tool/Test Probe: 12094430/J-35616-2A (GY)
  • Pins: 1, 14
  • Terminal/Tray: 7116-4111-02/9
  • Core/Insulation Crimp: Pins: 1 : C/A
  • Core/Insulation Crimp: Pins: 14 : E/A
  • Release Tool/Test Probe: 12094430/J-35616-4A (PU)
  • Pins: 7
  • Terminal/Tray: 7116-4112-02/9
  • Core/Insulation Crimp: C/D
  • Release Tool/Test Probe: 12094430/J-35616-35 (VT)
  • Pins: 9, 10
  • Terminal/Tray: SAITS-A03T-M064
  • Core/Insulation Crimp: See Terminal Repair Kit
  • Release Tool/Test Probe: See Terminal Repair Kit

Terminal Part Information

  • Terminal/Tray: See Terminal Repair Kit
  • Core/Insulation Crimp: See Terminal Repair Kit
  • Release Tool/Test Probe: See Terminal Repair Kit

X225 Body Harness to I/P Harness

Pin

Wire

Circuit

Function

Pin

Wire

Circuit

Function

1

1 OG

340

Battery Positive Voltage

1

1 OG

340

Battery Positive Voltage

2

0.35 WH

1080

Park Lamp Relay Control (T90)

2

0.35 WH

1080

Park Lamp Relay Control (T90)

3

0.5 L-BU

1320

CHMSL Supply Voltage/Stop Lamp Supply Voltage

3

0.8 L-BU

1320

CHMSL Supply Voltage/Stop Lamp Supply Voltage

4

0.8 L-GN

24

Backup Lamp Supply Voltage

4

0.8 L-GN

24

Backup Lamp Supply Voltage

5

--

--

Not Used

5

--

--

Not Used

6

0.8 D-GN

19

Right Rear Stop/Turn Lamp Supply Voltage (without T90)

6

0.8 D-GN

19

Right Rear Stop/Turn Lamp Supply Voltage (without T90)

0.8 D-BU

15

Right Turn Signal Lamps Supply Voltage (T90)

0.8 D-BU

15

Right Turn Signal Lamps Supply Voltage (T90)

7

3 BK

450

Ground

7

3 BK

450

Ground

8

0.35 BK/WH

451

Ground

8

0.35 BK/WH

451

Ground

9

0.8 D-GN

117

Right Front Speaker Output (-) (UQA)

9

0.5 D-GN

117

Right Front Speaker Output (-) (UQA)

0.5 PU

1952

Right Front Tweeter Speaker Output (-) (UQS)

0.5 PU

1952

Right Front Tweeter Speaker Output (-) (UQS)

10

0.8 L-GN

200

Right Front Speaker Output (+) (UQA)

10

0.5 L-GN

200

Right Front Speaker Output (+) (UQA)

0.5 L-GN

1852

Right Front Tweeter Speaker Output (+) (UQS)

0.5 L-GN

1852

Right Front Tweeter Speaker Output (+) (UQS)

11

0.35 PU/WH

5905

Key Capture/Column Lock Shift Position Signal (UHA/UHF)

11

0.35 PU/WH

5905

Key Capture/Column Lock Shift Position Signal (UHA/UHF)

12

0.8 OG

1732

Courtesy Lamps Supply Voltage

12

0.8 OG

1732

Courtesy Lamps Supply Voltage

0.8 OG

1732

Courtesy Lamps Supply Voltage

13

0.5 GY

8

I/P Dimmer Switch Signal

13

0.8 GY

8

I/P Dimmer Switch Signal

14

0.8 GY/BK

690

Courtesy Lamp Supply Voltage

14

0.8 GY/BK

690

Courtesy Lamp Supply Voltage

0.8 GY/BK

690

Courtesy Lamp Supply Voltage

X235 Body Harness to the Instrument Panel Harness


Object Number: 1483282  Size: CH

Object Number: 1483279  Size: CH

Connector Part Information

  • OEM: 7283-6388-40
  • Service: See Catalog
  • Description: 20-Way F 0.64 YESC Series (L-GY)

Connector Part Information

  • OEM: 7282-6568-40
  • Service: See Catalog
  • Description: 20-Way M 0.64 Series (GY)

Terminal Part Information

  • Terminal/Tray: See Terminal Repair Kit
  • Core/Insulation Crimp: See Terminal Repair Kit
  • Release Tool/Test Probe: See Terminal Repair Kit

Terminal Part Information

  • Terminal/Tray: See Terminal Repair Kit
  • Core/Insulation Crimp: See Terminal Repair Kit
  • Release Tool/Test Probe: See Terminal Repair Kit

X235 Body Harness to the Instrument Panel Harness

Pin

Wire

Circuit

Function

Pin

Wire

Circuit

Function

1

0.35 YE

354

Discriminating Sensor - Signal

1

0.35 YE

354

Discriminating Sensor - Signal

2

0.35 TN/OG

5045

Discriminating Sensor - Low Reference

2

0.35 TN/OG

5045

Discriminating Sensor - Low Reference

3

0.35 YE

43

Accessory Voltage

3

0.35 YE

43

Accessory Voltage

4

0.35 D-GN

168

Power Window Master Switch Left Rear Up Signal

4

0.35 D-GN

168

Power Window Master Switch Left Rear Up Signal

5

0.35 D-GN

169

Power Window Master Switch Left Rear Down Signal

5

0.35 PU

169

Power Window Master Switch Left Rear Down Signal

6

0.35 D-BU

1307

Power Window Master Switch Lockout Control

6

0.35 D-BU

1307

Power Window Master Switch Lockout Control

7

0.35 TN/WH

6433

CAN Bus High Serial Data

7

0.35 TN/WH

6433

CAN Bus High Serial Data

8

0.35 L-GN/BK

6432

CAN Bus Low Serial Data

8

0.35 L-GN/BK

6432

CAN Bus Low Serial Data

9

0.35 D-GN

6134

Local Interconnect Network 3

9

0.35 D-GN

6134

Local Interconnect Network 3

10

0.35 OG

300

Ignition 3 Voltage

10

0.35 OG

300

Ignition 3 Voltage

11

0.35 D-GN

1409

Discriminating Sensor - Right - Signal

11

0.35 D-GN

1409

Discriminating Sensor - Right - Signal

12

0.35 GY

5600

Right Front Discriminating Sensor Low Reference

12

0.35 GY

5600

Right Front Discriminating Sensor Low Reference

13

0.35 WH

901

IC 2 Control (TSQ)

13

0.35 WH

901

IC 2 Control (TSQ)

14

0.35 YE

5356

Left Tail Lamp Outage Detection Signal

14

0.35 YE

5356

Left Tail Lamp Outage Detection Signal

15

0.35 D-GN

5060

Low Speed GMLAN Serial Data

15

0.35 D-GN

5060

Low Speed GMLAN Serial Data

16

0.35 L-BU/BK

747

Left Rear Door Ajar Switch Signal

16

0.35 L-BU/BK

747

Left Rear Door Ajar Switch Signal

17

0.35 D-BU/WH

1179

Left Rear Door Open Switch Signal

17

0.35 D-BU/WH

1179

Left Rear Door Open Switch Signal

18

0.35 GY

728

Security Indicator Control (UA2)

18

0.35 GY

728

Security Indicator Control (UA2)

19

0.35 TN/WH

2500

High Speed GMLAN Serial Data Bus+ (UE1)

19

0.35 TN/WH

2500

High Speed GMLAN Serial Data Bus+ (UE1)

0.35 YE

5058

Intrusion Sensor Armed Signal (UA2)

0.35 YE

5058

Intrusion Sensor Armed Signal (UA2)

20

0.35 TN

2501

High Speed GMLAN Serial Data Bus- (UE1)

20

0.35 TN

2501

High Speed GMLAN Serial Data Bus- (UE1)

0.35 PU

5059

Intrusion Sensor Alarm On Signal (UA2)

0.35 PU

5059

Intrusion Sensor Alarm On Signal (UA2)

X240 I/P Harness to Clutch Pedal Position Sensor Jumper (MV7)


Object Number: 1413042  Size: CH

Object Number: 1413074  Size: CH

Connector Part Information

  • OEM: 7283-5553-10
  • Service: See Catalog
  • Description: 6-Way F YESC/USCAR Class III Series (D-GY)

Connector Part Information

  • OEM: 7282-5553-10
  • Service: See Catalog
  • Description: 6-Way M YESC/USCAR Class III Series (D-GY)

Terminal Part Information

  • Terminal/Tray: See Terminal Repair Kit
  • Core/Insulation Crimp: See Terminal Repair Kit
  • Release Tool/Test Probe: See Terminal Repair Kit

Terminal Part Information

  • Terminal/Tray: See Terminal Repair Kit
  • Core/Insulation Crimp: See Terminal Repair Kit
  • Release Tool/Test Probe: See Terminal Repair Kit

X240 I/P Harness to Clutch Pedal Position Sensor Jumper (MV7)

Pin

Wire

Circuit

Function

Pin

Wire

Circuit

Function

1

0.35 GY/BN

7345

Manual Transmission Clutch Position Sensor Low Reference

1

0.35 GY/BN

7345

Manual Transmission Clutch Position Sensor Low Reference

2

0.35 TN

6338

Manual Transmission Clutch Position Sensor Signal Position

2

0.35 TN

6338

Manual Transmission Clutch Position Sensor Signal Position

3

0.35 BU/YE

7346

Manual Transmission Clutch Position Sensor Volt Reference

3

0.35 BU/YE

7346

Manual Transmission Clutch Position Sensor Volt Reference

4-6

--

--

Not Used

4-6

--

--

Not Used

X254 Inflatable Restraint Module to Body Harness (Passenger)


Object Number: 684936  Size: CH

Object Number: 684931  Size: CH

Connector Part Information

  • OEM: 15336478
  • Service: 88953348
  • Description: 4-Way F Metri-Pack 280 Series (YE)

Connector Part Information

  • OEM: 15336476
  • Service: 15306363
  • Description: 4-Way M Metri-Pack 280 Series (YE)

Terminal Part Information

  • Terminal/Tray: See Terminal Repair Kit
  • Core/Insulation Crimp: See Terminal Repair Kit
  • Release Tool/Test Probe: See Terminal Repair Kit

Terminal Part Information

  • Terminal/Tray: 12034047/2
  • Core/Insulation Crimp: E/A
  • Release Tool/Test Probe: 12094430/J-35616-5 (PU)

X254 Inflatable Restraint Module to Body Harness (Passenger)

Pin

Wire

Circuit

Function

Pin

Wire

Circuit

Function

A1

0.5 YE

3025

Passenger I/P Module High Control

A1

0.5 YE

3025

Passenger I/P Module High Control

A2

0.5 OG

3024

Passenger I/P Module Low Control

A2

0.5 OG

3024

Passenger I/P Module Low Control

B1

0.5 GY

3027

Passenger I/P Module Stage 2 High Control

B1

0.5 GY

3027

Passenger I/P Module Stage 2 High Control

B2

0.5 PU

3026

Passenger I/P Module Stage 2 Low Control

B2

0.5 PU

3026

Passenger I/P Module Stage 2 Low Control

X260 Body Harness to I/P Harness Right


Object Number: 1483282  Size: CH

Object Number: 1483279  Size: CH

Connector Part Information

  • OEM: 7283-6388-40
  • Service: 88988264
  • Description: 20-Way F 0.64 YESC Series (L-GY)

Connector Part Information

  • OEM: 7282-6568-40
  • Service: 88988270
  • Description: 20-Way M (L-GY)

Terminal Part Information

  • Pins: 19, 20
  • Terminal/Tray: 12191819/8
  • Core/Insulation Crimp: E/A
  • Release Tool/Test Probe: 15315247/J-35616-2A (GY)
  • Terminal/Tray: 7116-4720-02/14
  • Core/Insulation Crimp: Pins: 1-18 : H/H
  • Core/Insulation Crimp: Pins: 19, 20 : J/J
  • Release Tool/Test Probe: 15315247/J-35616-64B (L-BU)

Terminal Part Information

  • Terminal/Tray: See Terminal Repair Kit
  • Core/Insulation Crimp: See Terminal Repair Kit
  • Release Tool/Test Probe: See Terminal Repair Kit

X260 Body Harness to I/P Harness Right

Pin

Wire

Circuit

Function

Pin

Wire

Circuit

Function

1

0.35 D-BU

45

Park Lamp Supply Voltage/Marker Lamp Supply Voltage

1

0.35 D-BU

45

Park Lamp Supply Voltage/Marker Lamp Supply Voltage

2

0.35 L-GN

80

Key In Ignition Switch Signal (UHA/UHF)

2

0.35 L-GN

80

Key In Ignition Switch Signal (UHA/UHF)

3

0.35 L-GN

170

Power Window Master Switch Right Rear Up Signal

3

0.35 L-GN

170

Power Window Master Switch Right Rear Up Signal

4

0.35 PU

171

Power Window Master Switch Right Rear Down Signal

4

0.35 PU

171

Power Window Master Switch Right Rear Down Signal

5

0.35 L-BU/WH

280

Power Window Master Switch Lockout Right Rear Signal

5

0.35 L-BU/WH

280

Power Window Master Switch Lockout Right Rear Signal

6

0.35 L-GN

1391

Driver Door Unlock Relay Control

6

0.35 L-GN

1391

Driver Door Unlock Relay Control

7

0.35 D-GN

801

RAP Fuse Supply Voltage (C3U/CE1)

7

0.35 D-GN

801

RAP Fuse Supply Voltage (C3U/CE1)

8

0.35 PK/BK

1303

Door Ajar Switch Signal

8

0.35 PK/BK

1303

Door Ajar Switch Signal

9

0.35 L-GN/BK

748

Right Rear Door Ajar Switch Signal

9

0.35 L-GN/BK

748

Right Rear Door Ajar Switch Signal

10

0.35 L-BU

5921

Driver Door Unlock Relay Control

10

0.35 L-BU

5921

Driver Door Unlock Relay Control

11

0.35 BK

79

Fuel Door Release Solenoid Control (NO8)

11

0.35 PK/BK

79

Fuel Door Release Solenoid Control (NO8)

12

0.35 WH

5075

Current Sensor Signal

12

0.35 WH

5075

Current Sensor Signal

13

0.35 PK

5076

Current Sensor Supply Voltage

13

0.35 PK

5076

Current Sensor Supply Voltage

14

0.35 BN

5077

Current Sensor Low Reference

14

0.35 BN

5077

Current Sensor Low Reference

15

0.35 TN

6188

Lift Glass/Trunk Motor Release Control

15

0.35 TN

6188

Lift Glass/Trunk Motor Release Control

16

0.35 BK

481

Windshield Outside Moisture Sensor Signal 1 (CE1)

16

0.35 BK

481

Windshield Outside Moisture Sensor Signal 1 (CE1)

17

0.35 L-GN

482

Windshield Outside Moisture Sensor Signal 2 (CE1)

17

0.35 L-GN

482

Windshield Outside Moisture Sensor Signal 2 (CE1)

18

0.35 OG

140

Battery Positive Voltage

18

0.35 OG

140

Battery Positive Voltage

19

0.5 TN/WH

2500

High Speed GMLAN Serial Data Bus+

19

0.5 TN/WH

2500

High Speed GMLAN Serial Data Bus+

20

0.5 TN

2501

High Speed GMLAN Serial Data Bus-

20

0.5 TN

2501

High Speed GMLAN Serial Data Bus-

X270 Body Harness to I/P Harness Right (XA7)


Object Number: 1849808  Size: CH

Object Number: 1849807  Size: CH

Connector Part Information

  • OEM: 7283-3441-40
  • Service: 19153166
  • Description: 8-Way F Kaizen YESC Series (L-GY)

Connector Part Information

  • OEM: 7282-3441-40
  • Service: 19153162
  • Description: 8-Way M Kaizen YESC Series (L-GY)

Terminal Part Information

  • Pins: 5
  • Terminal/Tray: 7116-4100-08/9
  • Core/Insulation Crimp: See Terminal Repair Kit
  • Release Tool/Test Probe: See Terminal Repair Kit

Terminal Part Information

  • Terminal/Tray: See Terminal Repair Kit
  • Core/Insulation Crimp: See Terminal Repair Kit
  • Release Tool/Test Probe: See Terminal Repair Kit

X270 Body Harness to I/P Harness Right (XA7)

Pin

Wire

Circuit

Function

Pin

Wire

Circuit

Function

1

0.35 L-GN

6096

Washer Fluid Heated Control Switch Signal

1

0.35 L-GN

6096

Washer Fluid Heated Control Switch Signal

2

0.35 D-BU/WH

5970

Washer Fluid Heated Control Switch LED Supply Voltage

2

0.35 D-BU/WH

5970

Washer Fluid Heated Control Switch LED Supply Voltage

3

0.35 BK/WH

351

Ground

3

0.35 BK/WH

351

Ground

4

0.35 PK

94

Windshield Washer Switch Signal

4

0.35 PK

94

Windshield Washer Switch Signal

5

0.35 D-GN

300

Ignition 3 Voltage

5

0.35 OG

300

Ignition 3 Voltage

6-8

--

--

Not Used

6-8

--

--

Not Used

X300 Body Harness to Driver Seat Harness (A45 with N38)


Object Number: 1540775  Size: CH

Object Number: 1283905  Size: CH

Connector Part Information

  • OEM: 7283-5623-60
  • Service: 19167675
  • Description: 14-Way F YESC/USCAR Class III (GN)

Connector Part Information

  • OEM: 7282-5623-30
  • Service: See Catalog
  • Description: 14-Way M YESC/USCAR Class III (BK)

Terminal Part Information

  • Terminal/Tray: See Terminal Repair Kit
  • Core/Insulation Crimp: See Terminal Repair Kit
  • Release Tool/Test Probe: See Terminal Repair Kit

Terminal Part Information

  • Terminal/Tray: See Terminal Repair Kit
  • Core/Insulation Crimp: See Terminal Repair Kit
  • Release Tool/Test Probe: See Terminal Repair Kit

X300 Body Harness to Driver Seat Harness (A45 with N38)

Pin

Wire

Circuit

Function

Pin

Wire

Circuit

Function

1

1 RD

2111

Steering Column Tilt Motor Control - Up

1

1 PK

2111

Steering Column Tilt Motor Control - Up

2

0.35 YE

2097

Steering Column Tilt and Telescope Down Switch Signal

2

0.35 YE

2097

Steering Column Tilt and Telescope Down Switch Signal

3

--

--

Not Used

3

--

--

Not Used

4

0.35 OG

2154

Steering Column Tilt Sensor Signal

4

0.35 OG

2154

Steering Column Tilt Sensor Signal

5

0.35 OG

2153

Steering Column Telescope Sensor Signal

5

0.35 OG

2153

Steering Column Telescope Sensor Signal

6

0.35 GY

2096

Steering Column Tilt and Telescope Up Switch Signal

6

0.35 GY

2096

Steering Column Tilt and Telescope Up Switch Signal

7

1 RD

2098

Steering Column Telescope Motor Forward

7

1 RD/WH

2098

Steering Column Telescope Motor Forward

8

1 BK

2110

Steering Column Telescope Motor Control - Reverse

8

1 TN

2110

Steering Column Telescope Motor Control - Reverse

9

0.35 PU/WH

6205

Driver Position Switch High Reference

9

0.35 PU/WH

6205

Driver Position Switch High Reference

10

0.35 GY

6206

Memory Sensor Low Reference

10

0.35 GY

6206

Memory Sensor Low Reference

11

0.35 TN

6207

Memory Sensor High Reference

11

0.35 TN

6207

Memory Sensor High Reference

12

0.35 OG

2095

Steering Column Tilt and Telescope Reverse Switch Signal

12

0.35 OG

2095

Steering Column Tilt and Telescope Reverse Switch Signal

13

0.35 PK

2094

Steering Column Tilt and Telescope Forward Switch Signal

13

0.35 PK

2094

Steering Column Tilt and Telescope Forward Switch Signal

14

1 BK

2112

Steering Column Tilt Motor Control - Down

14

1 BK

2112

Steering Column Tilt Motor Control - Down

X301 Body Harness to Driver Seat Harness


Object Number: 823290  Size: CH

Object Number: 1283905  Size: CH

Connector Part Information

  • OEM: 7283-6447-40
  • Service: 88956524
  • Description: 14-Way F Hybrid Series (L-GY)

Connector Part Information

  • OEM: 7282-6447-40
  • Service: See Catalog
  • Description: 14-Way M Hybrid Series (L-GY)

Terminal Part Information

  • Terminal/Tray: See Terminal Repair Kit
  • Core/Insulation Crimp: See Terminal Repair Kit
  • Release Tool/Test Probe: See Terminal Repair Kit

Terminal Part Information

  • Terminal/Tray: See Terminal Repair Kit
  • Core/Insulation Crimp: See Terminal Repair Kit
  • Release Tool/Test Probe: See Terminal Repair Kit

X301 Body Harness to Driver Seat Harness

Pin

Wire

Circuit

Function

Pin

Wire

Circuit

Function

1

3 OG

3840

Battery Positive Voltage

1

3 RD/WH

3840

Battery Positive Voltage

2

0.35 D-BU

5915

Passenger Seat Blower Speed Control (KB6)

2

0.35 D-BU

5915

Passenger Seat Blower Speed Control (KB6)

3

0.8 D-BU

2479

Passenger Seat Cushion Heated/Cool Ventilation Module Heat Control (A45/KA1)

3

0.8 D-BU

2479

Passenger Seat Cushion Heated/Cool Ventilation Module Heat Control (A45/KA1)

4

0.8 PK

2480

Passenger Seat Cushion Heated/Cool Ventilation Module Cool Control (A45/KA1)

4

0.8 PK

2480

Passenger Seat Cushion Heated/Cool Ventilation Module Cool Control (A45/KA1)

5

0.35 GY

2434

Passenger Seat Cushion Temperature Sensor Signal (A45/KA1)

5

0.35 GY

2434

Passenger Seat Cushion Temperature Sensor Signal (A45/KA1)

6

0.35 PK

2435

Passenger Seat Cushion Temperature Sensor Low Reference (A45/KA1)

6

0.35 PK

2435

Passenger Seat Cushion Temperature Sensor Low Reference (A45/KA1)

7

0.5 OG

3740

Battery Positive Voltage (A45 with N38)

7

0.5 RD/WH

3740

Battery Positive Voltage (A45 with N38)

8

0.35 OG

3140

Battery Positive Voltage (A45)

8

0.35 RD/WH

3140

Battery Positive Voltage (A45)

9

0.35 WH

901

IC 2 Control (TSQ)

9

0.35 WH

901

IC 2 Control (TSQ)

10

0.35 PK

539

Ignition 1 Voltage (KB6)

10

0.35 PK

539

Ignition 1 Voltage (KB6)

0.35 PK

539

Ignition 1 Voltage (KB6 without UA2)

11

0.35 D-GN

5060

Low Speed GMLAN Serial Data (A45)

11

0.35 D-GN

5060

Low Speed GMLAN Serial Data (A45)

12

0.35 PK

5057

Seat Position Sensor - Low Reference

12

0.35 PK

5057

Seat Position Sensor - Low Reference

13

0.35 D-GN

5016

Seat Belt Switch - Left - Signal

13

0.35 D-GN

5016

Seat Belt Switch - Left - Signal

14

3 BK

350

Ground

14

3 BK

350

Ground

X303 Body Harness to I/P Harness


Object Number: 1483282  Size: CH

Object Number: 1483279  Size: CH

Connector Part Information

  • OEM: 7283-6388-40
  • Service: 88988264
  • Description: 20-Way F 0.64 YESC Series (L-GY)

Connector Part Information

  • OEM: 7282-6568-40
  • Service: 88988270
  • Description: 20-Way M (L-GY)

Terminal Part Information

  • Terminal/Tray: See Terminal Repair Kit
  • Core/Insulation Crimp: See Terminal Repair Kit
  • Release Tool/Test Probe: See Terminal Repair Kit

Terminal Part Information

  • Terminal/Tray: See Terminal Repair Kit
  • Core/Insulation Crimp: See Terminal Repair Kit
  • Release Tool/Test Probe: See Terminal Repair Kit

X303 Body Harness to I/P Harness

Pin

Wire

Circuit

Function

Pin

Wire

Circuit

Function

1

0.35 OG

5748

Radio Audio Mute Signal (UQA)

1

0.35 OG

5748

Radio Audio Mute Signal (UQA)

0.35 D-BU

6760

Center Channel Low Level Audio Signal (UQS)

0.35 D-BU

6760

Center Channel Low Level Audio Signal (UQS)

2

0.35 OG

6761

Center Channel Low Level Audio Signal (-) (UQS)

2

0.35 OG

6761

Center Channel Low Level Audio Signal (-) (UQS)

3

0.35 BARE

6759

Discrete Audio Drain Wire (UQS)

3

0.35 BARE

6759

Discrete Audio Drain Wire (UQS)

4

0.35 WH

6763

Subwoofer Low Level Audio Signal (UQS)

4

0.35 WH

6763

Subwoofer Low Level Audio Signal (UQS)

5

0.35 PK

6762

Subwoofer Low Level Audio (-) (UQS)

5

0.35 PK

6762

Subwoofer Low Level Audio (-) (UQS)

6

0.35 BN

599

Left Rear Low Level Audio Signal (+)

6

0.35 BN

599

Left Rear Low Level Audio Signal (+)

7

0.35 BN

1999

Left Rear Low Level Audio Signal (-)

7

0.35 BN

1999

Left Rear Low Level Audio Signal (-)

8

0.35 BARE

1574

Drain Wire

8

0.35 BARE

1574

Drain Wire

9

0.35 D-BU

546

Right Rear Low Level Audio Signal (+)

9

0.35 D-BU

546

Right Rear Low Level Audio Signal (+)

10

0.35 BK

1946

Right Rear Low Level Audio Signal (-)

10

0.35 BK

1946

Right Rear Low Level Audio Signal (-)

11

0.35 TN

511

Left Front Low Level Audio Signal (+)

11

0.35 TN

511

Left Front Low Level Audio Signal (+)

12

0.35 D-GN

1947

Left Front Low Level Audio Signal (-)

12

0.35 D-GN

1947

Left Front Low Level Audio Signal (-)

13

0.35 BARE

1573

Drain Wire

13

0.35 BARE

1573

Drain Wire

14

0.35 L-GN

512

Right Front Low Level Audio Signal (+)

14

0.35 L-GN

512

Right Front Low Level Audio Signal (+)

15

0.35 L-GN

1948

Right Front Low Level Audio Signal (-)

15

0.35 L-GN

1948

Right Front Low Level Audio Signal (-)

16

0.35 PU

5357

Right Tail Lamp Outage Detection Signal

16

0.35 PU

5357

Right Tail Lamp Outage Detection Signal

17

0.35 YE

--

COAX (U2X)

17

0.35 YE

--

COAX (U2X)

18

0.35 YE

5342

Navigation Audio Signal (+) (UQS with UAV/U2X/U2Y)

18

0.5 YE

5342

Navigation Audio Signal (+) (UQS with UAV/U2X/U2Y)

19

0.35 WH

5343

Navigation Audio Signal (-) (UQS with UAV/U2X/U2Y)

19

0.5 WH

5343

Navigation Audio Signal (-) (UQS with UAV/U2X/U2Y)

20

0.35 BARE

5344

Drain Wire (UQS with UAV/U2X/U2Y)

20

0.35 BARE

5344

Drain Wire (UQS with UAV/U2X/U2Y)

X305 Headliner Harness to Body Harness


Object Number: 1664488  Size: CH

Object Number: 1707495  Size: CH

Connector Part Information

  • OEM: 7283-9078-80
  • Service: See Catalog
  • Description: 16-Way F YESC Kaizen 0.64 Unsealed (BN)

Connector Part Information

  • OEM: 7282-9072-80
  • Service: 89047490
  • Description: 16-Way M YESC Kaizen 0.64 Unsealed (BN)

Terminal Part Information

  • Terminal/Tray: See Terminal Repair Kit
  • Core/Insulation Crimp: See Terminal Repair Kit
  • Release Tool/Test Probe: See Terminal Repair Kit

Terminal Part Information

  • Terminal/Tray: See Terminal Repair Kit
  • Core/Insulation Crimp: See Terminal Repair Kit
  • Release Tool/Test Probe: See Terminal Repair Kit

X305 Headliner Harness to Body Harness

Pin

Wire

Circuit

Function

Pin

Wire

Circuit

Function

1

0.35 YE

43

Accessory Voltage

1

0.35 YE

43

Accessory Voltage

2

0.35 BK

481

Windshield Outside Moisture Sensor Signal 1 (CE1)

2

0.35 BK

481

Windshield Outside Moisture Sensor Signal 1 (CE1)

3

0.35 L-GN

482

Windshield Outside Moisture Sensor Signal 2 (CE1)

3

0.35 L-GN

482

Windshield Outside Moisture Sensor Signal 2 (CE1)

4

0.35 BARE

514

Drain (UE1/WXS)

4

0.35 BARE

514

Drain (UE1/WXS)

5

0.35 GY

655

Cellular Microphone Low Reference (UE1/WXS)

5

0.35 GY

655

Cellular Microphone Low Reference (UE1/WXS)

6

0.35 WH

901

IC 2 Control (TSQ)

6

0.35 WH

901

IC 2 Control (TSQ)

7

0.35 D-GN

1488

Noise Compensation Microphone Supply Voltage (UQS)

7

0.35 D-GN

1488

Noise Compensation Microphone Supply Voltage (UQS)

8

0.35 BARE

1489

Drain Wire (UQS)

8

0.35 BARE

1489

Drain Wire (UQS)

9

0.35 WH

2370

Telltale Assembly Supply Voltage (UD7)

9

0.35 WH

2370

Telltale Assembly Supply Voltage (UD7)

10

0.35 OG

2371

Left Amber Indicator Control (UD7)

10

0.35 OG

2371

Left Amber Indicator Control (UD7)

11

0.35 D-BU

2372

Center Amber Indicator Control (UD7)

11

0.35 D-BU

2372

Center Amber Indicator Control (UD7)

12

0.35 GY

2373

Red Indicator Control (UD7)

12

0.35 GY

2373

Red Indicator Control (UD7)

13

0.35 D-GN/WH

2514

Keypad Signal (UE1)

13

0.35 D-GN/WH

2514

Keypad Signal (UE1)

14

0.35 L-GN/BK

2515

Keypad Supply Voltage (UE1)

14

0.35 L-GN/BK

2515

Keypad Supply Voltage (UE1)

15

0.35 YE/BK

2516

Keypad Green LED Signal (UE1)

15

0.35 YE/BK

2516

Keypad Green LED Signal (UE1)

0.35 PU

5059

Intrusion Sensor Alarm On Signal (UA2)

0.35 PU

5059

Intrusion Sensor Alarm On Signal (UA2)

16

0.35 YE

5058

Intrusion Sensor Armed Signal (UA2)

16

0.35 YE

5058

Intrusion Sensor Armed Signal (UA2)

0.35 BN/WH

2517

Keypad Red LED Signal (UE1)

0.35 BN/WH

2517

Keypad Red LED Signal (UE1)

X307 Body Harness to Front Passenger Seat Harness


Object Number: 823290  Size: CH

Object Number: 1283905  Size: CH

Connector Part Information

  • OEM: 7283-6447-40
  • Service: 88956524
  • Description: 14-Way F Hybrid Series (L-GY)

Connector Part Information

  • OEM: 7282-6447-40
  • Service: See Catalog
  • Description: 14-Way M Hybrid Series (L-GY)

Terminal Part Information

  • Terminal/Tray: See Terminal Repair Kit
  • Core/Insulation Crimp: See Terminal Repair Kit
  • Release Tool/Test Probe: See Terminal Repair Kit

Terminal Part Information

  • Terminal/Tray: See Terminal Repair Kit
  • Core/Insulation Crimp: See Terminal Repair Kit
  • Release Tool/Test Probe: See Terminal Repair Kit

X307 Body Harness to Front Passenger Seat Harness

Pin

Wire

Circuit

Function

Pin

Wire

Circuit

Function

1

3 OG

3940

Battery Positive Voltage (AH8)

1

3 OG

3940

Battery Positive Voltage (AH8)

2

0.35 D-BU

5915

Passenger Seat Blower Speed Control (KB6)

2

0.35 D-BU

5915

Passenger Seat Blower Speed Control (KB6)

3

0.8 D-BU

2479

Passenger Seat Cushion Heated/Cool Ventilation Module Heat Control (A45 and KA1)

3

0.8 D-BU

2479

Passenger Seat Cushion Heated/Cool Ventilation Module Heat Control (A45 and KA1)

4

0.8 PK

2480

Passenger Seat Cushion Heated/Cool Ventilation Module Cool Control (A45 and KA1)

4

0.8 PK

2480

Passenger Seat Cushion Heated/Cool Ventilation Module Cool Control (A45 and KA1)

5

0.35 GY

2434

Passenger Heated Seat Cushion Temperature Sensor Signal (A45 and KA1)

5

0.35 GY

2434

Passenger Heated Seat Cushion Temperature Sensor Signal (A45 and KA1)

6

0.35 PK

2435

Passenger Seat Cushion Temperature Sensor Low Reference (A45 and KA1)

6

0.35 PK

2435

Passenger Seat Cushion Temperature Sensor Low Reference (A45 and KA1)

7

0.35 PK

539

Ignition 1 Voltage (KB6)

7

0.35 PK

539

Ignition 1 Voltage (KB6)

8

0.35 OG

1740

Battery Positive Voltage (AH8)

8

0.35 OG

1740

Battery Positive Voltage (AH8)

9

0.35 WH

901

IC 2 Control (TSQ)

9

0.35 WH

901

IC 2 Control (TSQ)

10

0.35 BK/WH

451

Ground (AH8)

10

0.35 BK/WH

451

Ground (AH8)

11

0.5 D-GN

5060

Low Speed GMLAN Serial Data (AH8)

11

0.5 D-GN

5060

Low Speed GMLAN Serial Data (AH8)

0.5 D-GN

5060

Low Speed GMLAN Serial Data (AH8)

12

0.35 PK

5057

Seat Position Sensor - Low Reference (AH8)

12

0.35 PK

5057

Seat Position Sensor - Low Reference (AH8)

13

0.35 RD

1362

Seat Belt Switch - Right - Signal (AH8)

13

0.35 RD

1362

Seat Belt Switch - Right - Signal (AH8)

14

3 BK

450

Ground (AH8)

14

3 BK

450

Ground (AH8)

X308 Headliner Harness Right to Body Harness


Object Number: 823290  Size: CH

Object Number: 1283905  Size: CH

Connector Part Information

  • OEM: 7283-6447-40
  • Service: See Catalog
  • Description: 14-Way F Hybrid Series (L-GY)

Connector Part Information

  • OEM: 7282-6447-40
  • Service: 88956523
  • Description: 14-Way M Hybrid Series (L-GY)

Terminal Part Information

  • Terminal/Tray: See Terminal Repair Kit
  • Core/Insulation Crimp: See Terminal Repair Kit
  • Release Tool/Test Probe: See Terminal Repair Kit

Terminal Part Information

  • Terminal/Tray: See Terminal Repair Kit
  • Core/Insulation Crimp: See Terminal Repair Kit
  • Release Tool/Test Probe: See Terminal Repair Kit

X308 Headliner Harness Right to Body Harness

Pin

Wire

Circuit

Function

Pin

Wire

Circuit

Function

1

0.8 GY/BK

690

Courtesy Lamp Supply Voltage

1

0.8 GY/BK

690

Courtesy Lamp Supply Voltage

2

0.8 OG

1732

Courtesy Lamps Supply Voltage

2

0.8 OG

1732

Courtesy Lamps Supply Voltage

3

0.35 GY

8

I/P Dimmer Switch Signal (UG1/C3U)

3

0.35 GY

8

I/P Dimmer Switch Signal (UG1/C3U)

4

0.35 OG

5029

Sunroof Switch - Data 1 (C3U)

4

0.35 L-BU

5029

Sunroof Switch - Data 1 (C3U)

5

0.35 L-BU

5027

Sunroof Switch - Data 1 (C3U)

5

0.35 L-BU

5027

Sunroof Switch - Data 1 (C3U)

6

0.35 BK

1051

Ground

6

0.35 BK

1051

Ground

7

0.35 OG

4540

Battery Positive Voltage (UA2/UG1)

7

0.35 OG

4540

Battery Positive Voltage (UA2/UG1)

8

0.5 L-GN

24

Backup Lamp Supply Voltage (DD8)

8

0.5 L-GN

24

Backup Lamp Supply Voltage (DD8)

9-10

--

--

Not Used

9-10

--

--

Not Used

11

0.35 TN

5030

Sunroof Switch - Data 4 (C3U)

11

0.35 TN

5030

Sunroof Switch - Data 4 (C3U)

12

0.35 PU

5032

Sunroof Switch - Data 6 (C3U)

12

0.35 PU

5032

Sunroof Switch - Data 6 (C3U)

13

0.35 D-GN

801

RAP Fuse Supply Voltage (CE1)

13

0.35 D-GN

801

RAP Fuse Supply Voltage (CE1)

14

0.8 BK

1050

Ground

14

0.8 BK

1050

Ground

X312 Console Harness to Body Harness


Object Number: 1851891  Size: CH

Object Number: 1851890  Size: CH

Connector Part Information

  • OEM: 7283-6459-40
  • Service: See Catalog
  • Description: 10-Way F YESC Kaizen Series (L-GY)

Connector Part Information

  • OEM: 7282-6459-40
  • Service: 89047070
  • Description: 10-Way M YESC Kaizen Series (L-GY)

Terminal Part Information

  • Terminal/Tray: See Terminal Repair Kit
  • Core/Insulation Crimp: See Terminal Repair Kit
  • Release Tool/Test Probe: See Terminal Repair Kit

Terminal Part Information

  • Terminal/Tray: See Terminal Repair Kit
  • Core/Insulation Crimp: See Terminal Repair Kit
  • Release Tool/Test Probe: See Terminal Repair Kit

X312 Console Harness to Body Harness

Pin

Wire

Circuit

Function

Pin

Wire

Circuit

Function

1

1 BK

450

Ground

1

1 BK

450

Ground

2

--

--

Not Used

2

--

--

Not Used

3

0.35 PU/WH

5715

Keyless Entry Active Antenna Supply Voltage (UHA/UHF)

3

0.35 PU/WH

5715

Keyless Entry Active Antenna Supply Voltage (UHA/UHF)

4

0.35 L-BU

5716

Keyless Entry Active Antenna Clock Signal (UHA/UHF)

4

0.35 L-BU

5716

Keyless Entry Active Antenna Clock Signal (UHA/UHF)

5

0.35 PU

218

Keyless Entry/Tire Pressure Antenna Signal (UHA/UHF)

5

0.35 PU

218

Keyless Entry/Tire Pressure Antenna Signal (UHA/UHF)

6

1 OG

4140

Battery Positive Voltage

6

1 OG

4140

Battery Positive Voltage

1 OG

4140

Battery Positive Voltage

7

--

--

Not Used

7

--

--

Not Used

8

0.35 GY

5717

Keyless Entry Active Antenna Data Signal (UHA/UHF)

8

0.35 GY

5717

Keyless Entry Active Antenna Data Signal (UHA/UHF)

9

0.35 OG/BK

5718

Keyless Entry Active Antenna Low Reference (UHA/UHF)

9

0.35 OG/BK

5718

Keyless Entry Active Antenna Low Reference (UHA/UHF)

10

0.35 TN

219

Keyless Entry Antenna Low Reference (UHA/UHF)

10

0.35 TN

219

Keyless Entry Antenna Low Reference (UHA/UHF)

X315 Console Harness to IP Harness (UQA or U2S/UAV/U2X/U2Y)


Object Number: 1711011  Size: CH

Object Number: 1849803  Size: CH

Connector Part Information

  • OEM: 7283-9088-30
  • Service: See Catalog
  • Description: 10-Way F Kaizen 0.64 Series (BK)

Connector Part Information

  • OEM: 7282-9082-30
  • Service: 89047070
  • Description: 10-Way M YESC Kaizen Series (BK)

Terminal Part Information

  • Terminal/Tray: See Terminal Repair Kit
  • Core/Insulation Crimp: See Terminal Repair Kit
  • Release Tool/Test Probe: See Terminal Repair Kit

Terminal Part Information

  • Terminal/Tray: See Terminal Repair Kit
  • Core/Insulation Crimp: See Terminal Repair Kit
  • Release Tool/Test Probe: See Terminal Repair Kit

X315 Console Harness to IP Harness (UQA or U2S/UAV/U2X/U2Y)

Pin

Wire

Circuit

Function

Pin

Wire

Circuit

Function

1-3

--

--

Not Used

1-3

--

--

Not Used

4

0.35 BARE

5842

Auxiliary Audio Shield

4

0.35 BARE

5842

Auxiliary Audio Shield

5

0.35 D-BU

5843

Auxiliary Audio Common Signal

5

0.35 D-BU

5843

Auxiliary Audio Common Signal

6

0.35 L-GN

5839

Left Auxiliary Audio Signal

6

0.35 L-GN

5839

Left Auxiliary Audio Signal

7

0.35 D-GN/WH

5841

Right Auxiliary Audio Signal

7

0.35 D-GN/WH

5841

Right Auxiliary Audio Signal

8

0.35 PK

2060

Auxiliary Detection Signal

8

0.35 PK

2060

Auxiliary Detection Signal

9-10

--

--

Not Used

9-10

--

--

Not Used

X345 Driver Seat Harness to Body Harness


Object Number: 1409645  Size: CH

Object Number: 258658  Size: CH

Connector Part Information

  • OEM: 15304656
  • Service: See Catalog
  • Description: 2-Way F 280 Series (YE)

Connector Part Information

  • OEM: 15304653
  • Service: See Catalog
  • Description: 4-Way F GT 150/280 Series (YE)

Connector Part Information

  • OEM: 15304649
  • Service: See Catalog
  • Description: 6-Way M GT 150/280 Series (YE)

Terminal Part Information

  • Terminal/Tray: See Terminal Repair Kit
  • Core/Insulation Crimp: See Terminal Repair Kit
  • Release Tool/Test Probe: See Terminal Repair Kit

Terminal Part Information

  • Terminal/Tray: See Terminal Repair Kit
  • Core/Insulation Crimp: See Terminal Repair Kit
  • Release Tool/Test Probe: See Terminal Repair Kit

X345 Driver Seat Harness to Body Harness

Pin

Wire

Circuit

Function

Pin

Wire

Circuit

Function

A

--

--

Not Used

A

--

--

Not Used

B

0.35 L-GN

5055

Seat Position Sensor - Left - Signal

B

0.35 L-GN

5055

Seat Position Sensor - Left - Signal (without A45)

C

0.35 YE/BK

2138

Side Impact Module - Left Front - Low Control

C

0.35 YE/BK

2138

Side Impact Module - Left Front - Low Control

D

0.35 BN

2137

Side Impact Module - Left Front - High Control

D

0.35 BN

2137

Side Impact Module - Left Front - High Control

E

0.35 PK

5057

Seat Position Sensor - Low Reference

E

0.35 PK

5057

Seat Position Sensor - Low Reference (without A45)

F

--

--

Not Used

F

--

--

Not Used

X350 Front Passenger Seat harness to Body Harness


Object Number: 1409645  Size: CH

Object Number: 258658  Size: CH

Connector Part Information

  • OEM: 15304656
  • Service: See Catalog
  • Description: 2-Way F 280 Series (YE)

Connector Part Information

  • OEM: 15304653
  • Service: See Catalog
  • Description: 4-Way F GT 150/280 Series (YE)

Connector Part Information

  • OEM: 15304649
  • Service: See Catalog
  • Description: 6-Way M GT 150/280 Series (YE)

Terminal Part Information

  • Terminal/Tray: See Terminal Repair Kit
  • Core/Insulation Crimp: See Terminal Repair Kit
  • Release Tool/Test Probe: See Terminal Repair Kit

Terminal Part Information

  • Terminal/Tray: See Terminal Repair Kit
  • Core/Insulation Crimp: See Terminal Repair Kit
  • Release Tool/Test Probe: See Terminal Repair Kit

X350 Front Passenger Seat harness to Body Harness

Pin

Wire

Circuit

Function

Pin

Wire

Circuit

Function

A

--

--

Not Used

A

--

--

Not Used

B

0.35 L-BU

5056

Seat Position Sensor - Right - Signal (without AH8)

B

0.35 L-BU

5056

Seat Position Sensor - Right - Signal (without A45)

C

0.35 YE/BK

2136

Side Impact Module - Right Front - Low Control (without AH8)

C

0.35 L-GN

2136

Side Impact Module - Right Front - Low Control

D

0.35 BN

2135

Side Impact Module - Right Front - High Control (without AH8)

D

0.35 BK/WH

2135

Side Impact Module - Right Front - High Control

E

0.35 PK

5057

Seat Position Sensor - Low Reference (without AH8)

E

0.35 PK

5057

Seat Position Sensor - Low Reference (without A45)

F

--

--

Not Used

F

--

--

Not Used

X401 (C3U/UE1) Body Harness to Sunroof Harness


Object Number: 1851891  Size: CH

Object Number: 1851890  Size: CH

Connector Part Information

  • OEM: 7283-6459-40
  • Service: See Catalog
  • Description: 10-Way F YESC Kaizen Series (L-GY)

Connector Part Information

  • OEM: 7282-6459-40
  • Service: See Catalog
  • Description: 10-Way M YESC Kaizen Series (L-GY)

Terminal Part Information

  • Terminal/Tray: See Terminal Repair Kit
  • Core/Insulation Crimp: See Terminal Repair Kit
  • Release Tool/Test Probe: See Terminal Repair Kit

Terminal Part Information

  • Terminal/Tray: See Terminal Repair Kit
  • Core/Insulation Crimp: See Terminal Repair Kit
  • Release Tool/Test Probe: See Terminal Repair Kit

X401 (C3U/UE1) Body Harness to Sunroof Harness

Pin

Wire

Circuit

Function

Pin

Wire

Circuit

Function

1

3 BK

1050

Ground (C3U)

1

3 BK

1050

Ground (C3U)

2

0.35 L-BU

5027

Sunroof Switch - Data 1 (C3U)

2

0.35 OG

5027

Sunroof Switch - Data 1 (C3U)

3

0.35 L-BU

5029

Sunroof Switch - Data 3 (C3U)

3

0.35 L-BU

5029

Sunroof Switch - Data 3 (C3U)

4

--

--

Not Used

4

--

--

Not Used

5

3 OG

3240

Battery Positive Voltage (C3U)

5

3 RD/WH

3240

Battery Positive Voltage (C3U)

6

0.35 D-GN

801

RAP Fuse Supply Voltage (CE1)

6

0.35 D-GN

801

RAP Fuse Supply Voltage (C3U/CE1)

0.35 D-GN

801

RAP Fuse Supply Voltage (C3U/CE1)

7

0.35 PU

5032

Sunroof Switch - Data 6 (C3U)

7

0.35 PU

5032

Sunroof Switch - Data 6 (C3U)

8

0.35 TN

5030

Sunroof Switch - Data 4 (C3U)

8

0.35 TN

5030

Sunroof Switch - Data 4 (C3U)

9

--

--

Not Used

9

--

--

Not Used

10

--

--

Not Used

10

0.35 D-GN/WH

7006

Inter Device Dedicated Bus Serial Data

X420 Body Harness to Fuel Tank Harness


Object Number: 655815  Size: CH

Object Number: 655819  Size: CH

Connector Part Information

  • OEM: 15326660
  • Service: See Catalog
  • Description: 10-Way F GT 280 5.8 Series Sealed (BK)

Connector Part Information

  • OEM: 15326661
  • Service: See Catalog
  • Description: 10-Way M GT 280 5.8 Series Sealed

Terminal Part Information

  • Terminal/Tray: See Terminal Repair Kit
  • Core/Insulation Crimp: See Terminal Repair Kit
  • Release Tool/Test Probe: See Terminal Repair Kit

Terminal Part Information

  • Terminal/Tray: See Terminal Repair Kit
  • Core/Insulation Crimp: See Terminal Repair Kit
  • Release Tool/Test Probe: See Terminal Repair Kit

X420 Body Harness to Fuel Tank Harness

Pin

Wire

Circuit

Function

Pin

Wire

Circuit

Function

A

1 GY

120

Fuel Pump Supply Voltage

A

1 GY

120

Fuel Pump Supply Voltage

B

0.5 D-GN

890

Fuel Tank Pressure Sensor Signal

B

0.5 D-GN

890

Fuel Tank Pressure Sensor Signal

C

0.5 BU/YE

7346

5-Volt Reference

C

0.5 GY

7346

5-Volt Reference

D

0.8 WH

1310

EVAP Canister Vent Solenoid Control

D

0.8 WH

1310

EVAP Canister Vent Solenoid Control

E

0.5 GY/BN

7345

Low Reference

E

0.5 TN

7345

Low Reference

F

0.5 D-BU

1936

Fuel Level Sensor Signal - Primary

F

0.5 D-BU

1936

Fuel Level Sensor Signal -Primary

G

0.5 L-BU

1937

Secondary Fuel Level Sensor Signal

G

0.5 L-BU

1937

Secondary Fuel Level Sensor Signal

H

--

--

Not Used

H

--

--

Not Used

J

0.5 OG

2940

Battery Positive Voltage

J

0.8 RD

1540

Battery Positive Voltage

K

1 BK

1050

Ground

K

1 BK

1050

Ground

X425 Rear Fascia Harness to Body Harness (T79/UD7/UHA/UHF)


Object Number: 888606  Size: CH

Object Number: 823302  Size: CH

Connector Part Information

  • OEM: 7283-5946-30
  • Service: 88988239
  • Description: 10-Way F YESC/USCAR Class III Series Sealed (BK)

Connector Part Information

  • OEM: 7282-5946-30
  • Service: 88952440
  • Description: 10-Way M YESC/USCAR Class III Series Sealed (BK)

Terminal Part Information

  • Terminal/Tray: See Terminal Repair Kit
  • Core/Insulation Crimp: See Terminal Repair Kit
  • Release Tool/Test Probe: See Terminal Repair Kit

Terminal Part Information

  • Terminal/Tray: See Terminal Repair Kit
  • Core/Insulation Crimp: See Terminal Repair Kit
  • Release Tool/Test Probe: See Terminal Repair Kit

X425 Rear Fascia Harness to Body Harness (T79/UD7/UHA/UHF)

Pin

Wire

Circuit

Function

Pin

Wire

Circuit

Function

1

0.35 D-BU

2374

Object Sensor Supply Voltage (UD7)

1

0.35 D-BU

2374

Object Sensor Supply Voltage (UD7)

2

0.35 YE

2375

Left Rear Corner Object Sensor Signal (UD7)

2

0.35 YE

2375

Left Rear Corner Object Sensor Signal (UD7)

3

0.35 GY

2379

Object Sensor Low Reference (UD7)

3

0.35 GY

2379

Object Sensor Low Reference (UD7)

4

0.35 OG

2376

Left Rear Middle Object Sensor Signal (UD7)

4

0.35 OG

2376

Left Rear Middle Object Sensor Signal (UD7)

5

0.35 D-GN

2377

Right Rear Middle Object Sensor Signal (UD7)

5

0.35 D-GN

2377

Right Rear Middle Object Sensor Signal (UD7)

6

0.35 RD

2378

Right Rear Corner Object Sensor Signal (UD7)

6

0.35 RD

2378

Right Rear Corner Object Sensor Signal (UD7)

7

0.35 OG

5708

Keyless Entry Antenna Signal (UHA/UHF)

7

0.35 OG

5708

Keyless Entry Antenna Signal (UHA/UHF)

8

0.35 OG/BK

5712

Keyless Entry Antenna Low Reference (UHA/UHF)

8

0.35 OG/BK

5712

Keyless Entry Antenna Low Reference (UHA/UHF)

9

0.35 RD

122

Fog Lamps Supply Voltage 1 (T79)

9

0.35 RD

122

Fog Lamps Supply Voltage 1 (T79)

10

0.5 BK

1050

Ground (T79)

10

0.5 BK

1050

Ground (T79)

X430 Rear Fascia Harness to Body Harness (UH3)


Object Number: 1559992  Size: CH

Object Number: 1702000  Size: CH

Connector Part Information

  • OEM: 7283-5543-10
  • Service: 88988502
  • Description: 4-Way F YESC Sealed (D-GY)

Connector Part Information

  • OEM: 7282-5543-10
  • Service: 88988509
  • Description: 4-Way M YESC/USCAR Class III Sealed Series (D-GY)

Terminal Part Information

  • Terminal/Tray: See Terminal Repair Kit
  • Core/Insulation Crimp: See Terminal Repair Kit
  • Release Tool/Test Probe: See Terminal Repair Kit

Terminal Part Information

  • Terminal/Tray: See Terminal Repair Kit
  • Core/Insulation Crimp: See Terminal Repair Kit
  • Release Tool/Test Probe: See Terminal Repair Kit

X430 Rear Fascia Harness to Body Harness (UH3)

Pin

Wire

Circuit

Function

Pin

Wire

Circuit

Function

1

0.35 L-GN/BK

5731

Tire Pressure Receiver Low Reference

1

0.35 L-GN/BK

5731

Tire Pressure Receiver Low Reference

2

0.35 L-BU/BK

5732

Tire Pressure Receiver Supply Voltage

2

0.35 L-BU/BK

5732

Tire Pressure Receiver Supply Voltage

3

0.35 YE

5736

Left Rear Tire Pressure Receiver Signal

3

0.35 YE

5736

Left Rear Tire Pressure Receiver Signal

4

0.35 PU

5735

Right Rear Tire Pressure Receiver Signal

4

0.35 PU

5735

Right Rear Tire Pressure Receiver Signal

X500 Body Harness to Left Front Door Harness


Object Number: 823290  Size: CH

Object Number: 1485995  Size: CH

Connector Part Information

  • OEM: 7283-6447-40
  • Service: 88956524
  • Description: 14-Way F Hybrid Series (L-GY)

Connector Part Information

  • OEM: 7282-6385-40
  • Service: See Catalog
  • Description: 14-Way M (L-GY)

Terminal Part Information

  • Terminal/Tray: See Terminal Repair Kit
  • Core/Insulation Crimp: See Terminal Repair Kit
  • Release Tool/Test Probe: See Terminal Repair Kit

Terminal Part Information

  • Terminal/Tray: See Terminal Repair Kit
  • Core/Insulation Crimp: See Terminal Repair Kit
  • Release Tool/Test Probe: See Terminal Repair Kit

X500 Body Harness to Left Front Door Harness

Pin

Wire

Circuit

Function

Pin

Wire

Circuit

Function

1

2 OG

4340

Battery Positive Voltage

1

2 OG

4340

Battery Positive Voltage

2

1 OG

4240

Battery Positive Voltage

2

1 OG

4240

Battery Positive Voltage

3-4

--

--

Not Used

3-4

--

--

Not Used

5

1 GY

118

Left Front Speaker Output (-)

5

1 GY

118

Left Front Speaker Output (-)

6

1 TN

201

Left Front Speaker Output (+)

6

1 TN

201

Left Front Speaker Output (+)

7

3 BK

350

Ground

7

3 BK

350

Ground

8

0.35 D-BU

5882

Left Front Door Handle Switch Signal (UHA/UHF)

8

0.35 D-BU

5882

Left Front Door Handle Switch Signal (UHA/UHF)

0.35 D-BU

5882

Left Front Door Handle Switch Signal (UHA/UHF)

9

0.35 PK

5709

Keyless Entry Antenna Signal (UHA/UHF)

9

0.35 PK

5709

Keyless Entry Antenna Signal (UHA/UHF)

10

0.35 PK/BK

5713

Keyless Entry Antenna Low Reference (UHA/UHF)

10

0.35 PK/BK

5713

Keyless Entry Antenna Low Reference (UHA/UHF)

11

1 GY

5133

Left Rear Passenger Door Lock Actuator Deadbolt Control (UA2)

11

1 GY

5133

Left Rear Passenger Door Lock Actuator Deadbolt Control (UA2)

12

1 TN

294

Door Lock Actuator Unlock Control (UA2)

12

1 TN

294

Door Lock Actuator Unlock Control (UA2)

13

0.35 D-GN

5060

Low Speed GMLAN Serial Data

13

0.35 D-GN

5060

Low Speed GMLAN Serial Data

14

--

--

Not Used

14

--

--

Not Used

X501 Left Front Door Harness to Left Front Door Trim Harness


Object Number: 823304  Size: CH

Object Number: 889498  Size: CH

Connector Part Information

  • OEM: 7283-4848-30
  • Service: See Catalog
  • Description: 12-Way (BK)

Connector Part Information

  • OEM: 7282-4848-30
  • Service: See Catalog
  • Description: 12-Way M Dock and Lock (BK)

Terminal Part Information

  • Terminal/Tray: See Terminal Repair Kit
  • Core/Insulation Crimp: See Terminal Repair Kit
  • Release Tool/Test Probe: See Terminal Repair Kit

Terminal Part Information

  • Terminal/Tray: See Terminal Repair Kit
  • Core/Insulation Crimp: See Terminal Repair Kit
  • Release Tool/Test Probe: See Terminal Repair Kit

X501 Left Front Door Harness to Left Front Door Trim Harness

Pin

Wire

Circuit

Function

Pin

Wire

Circuit

Function

1

0.5 WH

606

Driver Mirror Heating Element Supply Voltage

1

0.5 WH

606

Driver Mirror Heating Element Supply Voltage

2

0.35 YE

190

Driver Folding Mirror Motor Extend Control (DL7/D26)

2

0.35 YE

190

Driver Folding Mirror Motor Extend Control (DL7/D26)

3

0.35 L-BU

191

Driver Folding Mirror Motor Retract Control (DL7/D26)

3

0.35 L-BU

191

Driver Folding Mirror Motor Retract Control (DL7/D26)

4

0.35 D-GN

784

Driver Mirror Vertical Position Sensor Signal (A45)

4

0.35 D-GN

784

Driver Mirror Vertical Position Sensor Signal (A45)

5

0.35 D-BU/WH

6160

Outside Left Mirror Vertical Position Control

5

0.35 D-BU/WH

6160

Outside Left Mirror Vertical Position Control

6

0.35 WH

7197

Outside Left Mirror Drive Motor Common

6

0.35 WH

7197

Outside Left Mirror Drive Motor Common

7

0.35 D-GN/WH

6159

Outside Left Mirror Horizontal Position Control

7

0.35 D-GN/WH

6159

Outside Left Mirror Horizontal Position Control

8

0.35 BN

673

Low Reference (A45)

8

0.35 BN

673

Low Reference (A45)

9

0.35 GY

786

Driver Mirror Horizontal Position Sensor Signal (A45)

9

0.35 GY

786

Driver Mirror Horizontal Position Sensor Signal (A45)

10

0.35 D-BU

672

5-Volt Reference (A45)

10

0.35 D-BU

672

5-Volt Reference (A45)

11-12

--

--

Not Used

11-12

--

--

Not Used

X505 Left Front Door Harness to Left Front Door Trim Harness


Object Number: 823304  Size: CH

Object Number: 889498  Size: CH

Connector Part Information

  • OEM: 7283-4848-30
  • Service: See Catalog
  • Description: 12-Way (BK)

Connector Part Information

  • OEM: 7282-4848-30
  • Service: See Catalog
  • Description: 12-Way M Dock and Lock (BK)

Terminal Part Information

  • Terminal/Tray: See Terminal Repair Kit
  • Core/Insulation Crimp: See Terminal Repair Kit
  • Release Tool/Test Probe: See Terminal Repair Kit

Terminal Part Information

  • Terminal/Tray: See Terminal Repair Kit
  • Core/Insulation Crimp: See Terminal Repair Kit
  • Release Tool/Test Probe: See Terminal Repair Kit

X505 Left Front Door Harness to Left Front Door Trim Harness

Pin

Wire

Circuit

Function

Pin

Wire

Circuit

Function

1

0.5 OG

4240

Battery Positive Voltage

1

0.5 OG

4240

Battery Positive Voltage

2

0.8 BK

350

Ground

2

0.8 BK

350

Ground

3

0.35 L-GN

262

Driver Door Key Switch Signal

3

0.35 L-GN

262

Driver Door Key Switch Signal

4

0.35 TN

126

Left Front Door Open Switch Signal

4

0.35 TN

126

Left Front Door Open Switch Signal

5

0.35 GY/BK

745

Left Front Door Ajar Switch Signal

5

0.35 GY/BK

745

Left Front Door Ajar Switch Signal

6

0.35 D-GN

5060

Low Speed GMLAN Serial Data

6

0.35 D-GN

5060

Low Speed GMLAN Serial Data

7

0.5 BN

6132

Local Interconnect Network 1

7

0.5 BN

6132

Local Interconnect Network 1

8

0.5 TN

694

Driver Door Lock Actuator Unlock Control

8

0.5 TN

694

Driver Door Lock Actuator Unlock Control

9

0.5 L-GN/BK

5703

Driver Door Latch Enable Control

9

0.5 L-GN/BK

5703

Driver Door Latch Enable Control

10

--

--

Not Used

10

--

--

Not Used

11

0.35 BN

5881

Left Front Door Handle Switch Unlatch Enable

11

0.35 BN

5881

Left Front Door Handle Switch Unlatch Enable

12

0.35 D-BU

5882

Left Front Door Handle Switch Lift

12

0.35 D-BU

5882

Left Front Door Handle Switch Lift

X600 Body to Right Front Door


Object Number: 823290  Size: CH

Object Number: 1485995  Size: CH

Connector Part Information

  • OEM: 7283-6447-40
  • Service: 88956524
  • Description: 14-Way F Hybrid Series (L-GY)

Connector Part Information

  • OEM: 7282-6385-40
  • Service: See Catalog
  • Description: 14-Way M Hybrid Series (L-GY)

Terminal Part Information

  • Terminal/Tray: See Terminal Repair Kit
  • Core/Insulation Crimp: See Terminal Repair Kit
  • Release Tool/Test Probe: See Terminal Repair Kit

Terminal Part Information

  • Terminal/Tray: See Terminal Repair Kit
  • Core/Insulation Crimp: See Terminal Repair Kit
  • Release Tool/Test Probe: See Terminal Repair Kit

X600 Body to Right Front Door

Pin

Wire

Circuit

Function

Pin

Wire

Circuit

Function

1

2 OG

4340

Battery Positive Voltage

1

2 OG

4340

Battery Positive Voltage

2

0.8 OG

4040

Battery Positive Voltage

2

0.8 OG

4040

Battery Positive Voltage

3-4

--

--

Not Used

3-4

--

--

Not Used

5

0.5 D-GN

117

Right Front Speaker Output (-)

5

0.5 D-GN

117

Right Front Speaker Output (-)

6

0.5 L-GN

200

Right Front Speaker Output (+)

6

0.5 L-GN

200

Right Front Speaker Output (+)

7

3 BK

450

Ground

7

3 BK

450

Ground

8

0.35 PK

5879

Right Front Door Handle Switch Signal (UHA/UHF)

8

0.35 PK

5879

Right Front Door Handle Switch Signal (UHA/UHF)

0.35 PK

5879

Right Front Door Handle Switch Signal (UHA/UHF)

9

0.35 YE

5710

Keyless Entry Antenna Signal (UHA/UHF)

9

0.35 YE

5710

Keyless Entry Antenna Signal (UHA/UHF)

10

0.35 YE/BK

5714

Keyless Entry Antenna Low Reference (UHA/UHF)

10

0.35 YE/BK

5714

Keyless Entry Antenna Low Reference (UHA/UHF)

11

1 GY

5133

Left Rear Passenger Door Lock Actuator Deadbolt Control (UA2)

11

1 GY

5133

Left Rear Passenger Door Lock Actuator Deadbolt Control (UA2)

12

1 TN

294

Door Lock Actuator Unlock Control (UA2)

12

1 TN

294

Door Lock Actuator Unlock Control (UA2)

13

0.35 D-GN

5060

Low Speed GMLAN Serial Data

13

0.35 D-GN

5060

Low Speed GMLAN Serial Data

14

--

--

Not Used

14

--

--

Not Used

X601 Front Passenger Door Harness to the Front Passenger Door Trim Harness


Object Number: 823304  Size: CH

Object Number: 889498  Size: CH

Connector Part Information

  • OEM: 7283-4848-30
  • Service: See Catalog
  • Description: 12-Way F (BK)

Connector Part Information

  • OEM: 7282-4848-30
  • Service: See Catalog
  • Description: 12-Way M (BK)

Terminal Part Information

  • Terminal/Tray: See Terminal Repair Kit
  • Core/Insulation Crimp: See Terminal Repair Kit
  • Release Tool/Test Probe: See Terminal Repair Kit

Terminal Part Information

  • Terminal/Tray: See Terminal Repair Kit
  • Core/Insulation Crimp: See Terminal Repair Kit
  • Release Tool/Test Probe: See Terminal Repair Kit

X601 Front Passenger Door Harness to the Front Passenger Door Trim Harness

Pin

Wire

Circuit

Function

Pin

Wire

Circuit

Function

1

0.5 PU

607

Passenger Mirror Heating Element Supply Voltage

1

0.5 PU

607

Passenger Mirror Heating Element Supply Voltage

2

0.35 YE

5004

Passenger Folding Mirror Motor Extend Control (DL7/D26)

2

0.35 YE

5004

Passenger Folding Mirror Motor Extend Control (DL7/D26)

3

0.35 L-BU

5023

Passenger Folding Mirror Motor Retract Control (DL7/D26)

3

0.35 L-BU

5023

Passenger Folding Mirror Motor Retract Control (DL7/D26)

4

0.35 BN

787

Passenger Mirror Vertical Position Sensor Signal (A45)

4

0.35 BN

787

Passenger Mirror Vertical Position Sensor Signal (A45)

5

0.35 OG/BK

6162

Outside Right Mirror Vertical Position Control

5

0.35 OG/BK

6162

Outside Right Mirror Vertical Position Control

6

0.35 WH

7196

Outside Right Mirror Drive Motor Common

6

0.35 WH

7196

Outside Right Mirror Drive Motor Common

7

0.35 GY/BK

6161

Outside Right Mirror Horizontal Position Control

7

0.35 GY/BK

6161

Outside Right Mirror Horizontal Position Control

8

0.35 L-GN

675

Low Reference (A45)

8

0.35 L-GN

675

Low Reference (A45)

9

0.35 L-BU/BK

785

Passenger Mirror Horizontal Position Sensor Signal (A45)

9

0.35 L-BU/BK

785

Passenger Mirror Horizontal Position Sensor Signal (A45)

10

0.35 YE

674

5-Volt Reference (A45)

10

0.35 YE

674

5-Volt Reference (A45)

11-12

--

--

Not Used

11-12

--

--

Not Used

X605 Front Right Door Harness to Front Right Trim Harness


Object Number: 823304  Size: CH

Object Number: 889498  Size: CH

Connector Part Information

  • OEM: 7283-4848-30
  • Service: See Catalog
  • Description: 12-Way (BK)

Connector Part Information

  • OEM: 7282-4848-30
  • Service: 89046692
  • Description: 12-Way M Dock and Lock (BK)

Terminal Part Information

  • Terminal/Tray: See Terminal Repair Kit
  • Core/Insulation Crimp: See Terminal Repair Kit
  • Release Tool/Test Probe: See Terminal Repair Kit

Terminal Part Information

  • Terminal/Tray: See Terminal Repair Kit
  • Core/Insulation Crimp: See Terminal Repair Kit
  • Release Tool/Test Probe: See Terminal Repair Kit

X605 Front Right Door Harness to Front Right Trim Harness

Pin

Wire

Circuit

Function

Pin

Wire

Circuit

Function

1

0.8 OG

4040

Battery Positive Voltage

1

0.8 OG

4040

Battery Positive Voltage

2

0.8 BK

450

Ground

2

0.8 BK

450

Ground

3

--

--

Not Used

3

--

--

Not Used

4

0.35 L-GN

1177

Right Front Door Open Switch Signal/Door Open Switch Signal

4

0.35 L-GN

1177

Right Front Door Open Switch Signal/Door Open Switch Signal

5

0.35 BK/WH

746

Right Front Door Ajar Switch Signal

5

0.35 BK/WH

746

Right Front Door Ajar Switch Signal

6

0.35 D-GN

5060

Low Speed GMLAN Serial Data

6

0.35 D-GN

5060

Low Speed GMLAN Serial Data

7

0.5 D-BU

6133

Local Interconnect Network 2

7

0.5 D-BU

6133

Local Interconnect Network 2

8

0.5 TN

294

Door Lock Actuator Unlock Control

8

0.5 TN

294

Door Lock Actuator Unlock Control

9

0.5 D-BU

5876

Front Passenger Door Latch Enable Control

9

0.5 D-BU

5876

Front Passenger Door Latch Enable Control

10

--

--

Not Used

10

--

--

Not Used

11

0.35 GY

5878

Right Front Door Handle Switch Signal

11

0.35 GY

5878

Right Front Door Handle Switch Signal

12

0.35 PK

5879

Right Front Door Handle Switch Signal

12

0.35 PK

5879

Right Front Door Handle Switch Signal

X700 Body Harness to Left Rear Door Harness


Object Number: 1851882  Size: CH

Object Number: 1664575  Size: CH

Object Number: 1986162  Size: CH

Connector Part Information

  • OEM: 7283-6448-40
  • Service: See Catalog
  • Description: 8-Way F (L-GY)

Connector Part Information

  • OEM: 7282-0523-30
  • Service: See Catalog
  • Description: 22-Way M (BK)

Terminal Part Information

  • Terminal/Tray: See Terminal Repair Kit
  • Core/Insulation Crimp: See Terminal Repair Kit
  • Release Tool/Test Probe: See Terminal Repair Kit

Connector Part Information

  • OEM: 7283-9068-90
  • Service: See Catalog
  • Description: 14-Way F (BU)

Terminal Part Information

  • Terminal/Tray: See Terminal Repair Kit
  • Core/Insulation Crimp: See Terminal Repair Kit
  • Release Tool/Test Probe: See Terminal Repair Kit

Terminal Part Information

  • Terminal/Tray: See Terminal Repair Kit
  • Core/Insulation Crimp: See Terminal Repair Kit
  • Release Tool/Test Probe: See Terminal Repair Kit

X700 Body Harness to Left Rear Door Harness

Pin

Wire

Circuit

Function

Pin

Wire

Circuit

Function

1

1 RD/WH

4740

Battery Positive Voltage

A1

1 OG

4740

Battery Positive Voltage

2

1 GY

5133

Left Rear Passenger Door Lock Actuator Deadbolt Control (UA2)

A2

1 GY

5133

Left Rear Passenger Door Lock Actuator Deadbolt Control (UA2)

3

1 GY

295

Door Lock Actuator Lock Control

A3

1 GY

295

Door Lock Actuator Lock Control

4

2 BK

350

Ground

A4

2 BK

350

Ground

5

1 TN

294

Door Lock Actuator Unlock Control

A5

1 TN

294

Door Lock Actuator Unlock Control

6

--

--

Not Used

A6

--

--

Not Used

7

0.35 GY

8

I/P Dimmer Switch Signal

A7

0.35 GY

8

I/P Dimmer Switch Signal

8

0.35 GY/BK

690

Courtesy Lamp Supply Voltage

A8

0.35 GY/BK

690

Courtesy Lamp Supply Voltage

1

0.35 L-BU/BK

747

Left Rear Door Ajar Switch Signal

B1

0.35 L-BU/BK

747

Left Rear Door Ajar Switch Signal

2

0.35 D-BU/WH

1179

Left Rear Door Open Switch Signal

B2

0.35 D-BU/WH

1179

Left Rear Door Open Switch Signal

3

0.35 D-BU

1307

Power Window Master Switch Lockout Signal

B3

0.35 D-BU

1307

Power Window Master Switch Lockout Signal

4

0.35 D-GN

169

Power Window Master Switch Left Rear Down Signal

B4

0.35 PU

169

Power Window Master Switch Left Rear Down Signal

5

0.35 D-GN

168

Power Window Master Switch Left Rear Up Signal

B5

0.35 D-GN

168

Power Window Master Switch Left Rear Up Signal

6

0.5 YE

116

Left Rear Speaker Output (-)

B6

0.5 YE

116

Left Rear Speaker Output (-)

7

0.5 BN

199

Left Rear Speaker Output (+)

B7

0.5 BN

199

Left Rear Speaker Output (+)

8

0.35 WH

901

IC 2 Control (TSQ)

B8

0.35 WH

901

IC 2 Control (TSQ)

9-10

--

--

Not Used

B9-B10

--

--

Not Used

11

0.35 L-BU

6622

Left Rear Side Impact Sensing Module Signal

B11

0.35 L-BU

6622

Left Rear Side Impact Sensing Module Signal

12

0.35 L-GN/BK

6623

Left Rear Side Impact Sensing Module Low Reference

B12

0.35 L-GN/BK

6623

Left Rear Side Impact Sensing Module Low Reference

13-14

--

--

Not Used

B13-B14

--

--

Not Used

X701 Left Rear Door Harness to Left Rear Trim Harness


Object Number: 823304  Size: CH

Object Number: 889498  Size: CH

Connector Part Information

  • OEM: 7283-4848-30
  • Service: See Catalog
  • Description: 12-Way (BK)

Connector Part Information

  • OEM: 7282-4848-30
  • Service: See Catalog
  • Description: 12-Way M Dock and Lock (BK)

Terminal Part Information

  • Terminal/Tray: See Terminal Repair Kit
  • Core/Insulation Crimp: See Terminal Repair Kit
  • Release Tool/Test Probe: See Terminal Repair Kit

Terminal Part Information

  • Terminal/Tray: See Terminal Repair Kit
  • Core/Insulation Crimp: See Terminal Repair Kit
  • Release Tool/Test Probe: See Terminal Repair Kit

X701 Left Rear Door Harness to Left Rear Trim Harness

Pin

Wire

Circuit

Function

Pin

Wire

Circuit

Function

1

1 OG

4740

Battery Positive Voltage

1

1 RD/WH

4740

Battery Positive Voltage

2

0.35 GY

8

I/P Dimmer Switch Signal

2

0.35 GY

8

I/P Dimmer Switch Signal

3

0.35 GY/BK

690

Courtesy Lamp Supply Voltage

3

0.35 GY/BK

690

Courtesy Lamp Supply Voltage

4

0.35 D-GN

168

Power Window Master Switch Left Rear Up Signal

4

0.35 L-GN

168

Power Window Master Switch Left Rear Up Signal

5

1 D-BU

668

Power Window Motor Left Rear Up Control

5

1 D-BU

668

Power Window Motor Left Rear Up Control

6

0.35 WH

901

IC 2 Control (TSQ)

6

0.35 WH

901

IC 2 Control (TSQ)

7

0.5 YE

116

Left Rear Speaker Output (-)

7

0.5 L-BU

116

Left Rear Speaker Output (-)

8

0.5 BN

199

Left Rear Speaker Output (+)

8

0.5 D-BU

199

Left Rear Speaker Output (+)

9

1 BN

669

Power Window Motor Left Rear Down Control

9

1 BN

669

Power Window Motor Left Rear Down Control

10

0.35 D-BU

1307

Power Window Master Switch Lockout Control

10

0.35 L-BU/WH

1307

Power Window Master Switch Lockout Control

11

0.35 PU

169

Power Window Master Switch Left Rear Down Signal

11

0.35 PU

169

Power Window Master Switch Left Rear Down Signal

12

1 BK

350

Ground

12

1 BK

350

Ground

X800 Body Harness to Right Rear Door Harness


Object Number: 1851882  Size: CH

Object Number: 1664575  Size: CH

Object Number: 1986162  Size: CH

Connector Part Information

  • OEM: 7283-6448-40
  • Service: See Catalog
  • Description: 8-Way F (L-GY)

Connector Part Information

  • OEM: 7282-0523-30
  • Service: See Catalog
  • Description: 22-Way M (BK)

Terminal Part Information

  • Terminal/Tray: See Terminal Repair Kit
  • Core/Insulation Crimp: See Terminal Repair Kit
  • Release Tool/Test Probe: See Terminal Repair Kit

Connector Part Information

  • OEM: 7283-9068-90
  • Service: 15127038
  • Description: 14-Way F (BU)

Terminal Part Information

  • Terminal/Tray: See Terminal Repair Kit
  • Core/Insulation Crimp: See Terminal Repair Kit
  • Release Tool/Test Probe: See Terminal Repair Kit

Terminal Part Information

  • Terminal/Tray: See Terminal Repair Kit
  • Core/Insulation Crimp: See Terminal Repair Kit
  • Release Tool/Test Probe: See Terminal Repair Kit

X800 Body Harness to Right Rear Door Harness

Pin

Wire

Circuit

Function

Pin

Wire

Circuit

Function

1

1 RD/WH

4640

Battery Positive Voltage

A1

1 RD/WH

4640

Battery Positive Voltage

2

1 GY

5133

Left Rear Passenger Door Lock Actuator Deadbolt Control (UA2)

A2

1 GY

5133

Left Rear Passenger Door Lock Actuator Deadbolt Control (UA2)

3

1 GY

295

Door Lock Actuator Lock Control

A3

1 GY

295

Door Lock Actuator Lock Control

4

2 BK

450

Ground

A4

2 BK

450

Ground

5

1 TN

294

Door Lock Actuator Unlock Control

A5

1 TN

294

Door Lock Actuator Unlock Control

6

--

--

Not Used

A6

--

--

Not Used

7

0.35 GY

8

I/P Dimmer Switch Signal

A7

0.35 GY

8

I/P Dimmer Switch Signal

8

0.35 GY/BK

690

Courtesy Lamp Supply Voltage

A8

0.35 GY/BK

690

Courtesy Lamp Supply Voltage

1

0.35 L-GN/BK

748

Right Rear Door Ajar Switch Signal

B1

0.35 L-GN/BK

748

Right Rear Door Ajar Switch Signal

2

0.35 D-BU/WH

1179

Left Rear Door Open Switch Signal

B2

0.35 D-BU/WH

1179

Left Rear Door Open Switch Signal

3

0.35 L-BU/WH

280

Power Window Master Switch Lockout Right Rear Signal

B3

0.35 L-BU/WH

280

Power Window Master Switch Lockout Right Rear Signal

4

0.35 PU

171

Power Window Master Switch Right Rear Down Signal

B4

0.35 PU

171

Power Window Master Switch Right Rear Down Signal

5

0.35 L-GN

170

Power Window Master Switch Right Rear Up Signal

B5

0.35 L-GN

170

Power Window Master Switch Right Rear Up Signal

6

0.5 L-BU

115

Right Rear Speaker Output (-)

B6

0.5 L-BU

115

Right Rear Speaker Output (-)

7

0.5 D-BU

46

Right Rear Speaker Output (+)

B7

0.5 D-BU

46

Right Rear Speaker Output (+)

8

0.35 WH

901

IC 2 Control (TSQ)

B8

0.35 WH

901

IC 2 Control (TSQ)

9-10

--

--

Not Used

B9-B10

--

--

Not Used

11

0.35 L-BU/WH

6626

Right Rear Side Impact Sensing Module Signal

B11

0.35 L-BU/WH

6626

Right Rear Side Impact Sensing Module Signal

12

0.35 PK/BK

6627

Right Rear Side Impact Sensing Module Low Reference

B12

0.35 PK/BK

6627

Right Rear Side Impact Sensing Module Low Reference

13-14

--

--

Not Used

B13-B14

--

--

Not Used

X801 Right Rear Door Harness to the Right Rear Door Trim Harness


Object Number: 823304  Size: CH

Object Number: 889498  Size: CH

Connector Part Information

  • OEM: 7283-4848-30
  • Service: See Catalog
  • Description: 12-Way (BK)

Connector Part Information

  • OEM: 7282-4848-30
  • Service: See Catalog
  • Description: 12-Way M Dock and Lock (BK)

Terminal Part Information

  • Terminal/Tray: See Terminal Repair Kit
  • Core/Insulation Crimp: See Terminal Repair Kit
  • Release Tool/Test Probe: See Terminal Repair Kit

Terminal Part Information

  • Terminal/Tray: See Terminal Repair Kit
  • Core/Insulation Crimp: See Terminal Repair Kit
  • Release Tool/Test Probe: See Terminal Repair Kit

X801 Right Rear Door Harness to the Right Rear Door Trim Harness

Pin

Wire

Circuit

Function

Pin

Wire

Circuit

Function

1

1 RD/WH

4640

Battery Positive Voltage

1

1 RD/WH

4640

Battery Positive Voltage

2

0.35 GY

8

I/P Dimmer Switch Signal

2

0.35 GY

8

I/P Dimmer Switch Signal

3

0.35 GY/BK

690

Courtesy Lamp Supply Voltage

3

0.35 GY/BK

690

Courtesy Lamp Supply Voltage

4

0.35 L-GN

170

Power Window Master Switch Right Rear Up Signal

4

0.35 L-GN

170

Power Window Master Switch Right Rear Up Signal

5

1 D-BU

670

Power Window Motor Right Rear Up Control

5

1 D-BU

670

Power Window Motor Right Rear Up Control

6

0.35 WH

901

IC 2 Control (TSQ)

6

0.35 WH

901

IC 2 Control (TSQ)

7

0.5 L-BU

115

Right Rear Speaker Output (-)

7

0.5 L-BU

115

Right Rear Speaker Output (-)

8

0.5 D-BU

46

Right Rear Speaker Output (+)

8

0.5 D-BU

46

Right Rear Speaker Output (+)

9

1 BN

671

Power Window Motor Right Rear Down Control

9

1 BN

671

Power Window Motor Right Rear Down Control

10

0.35 L-BU/WH

280

Power Window Master Switch Lockout Right Rear Signal

10

0.35 L-BU/WH

280

Power Window Master Switch Lockout Right Rear Signal

11

0.35 PU

171

Power Window Master Switch Right Rear Down Signal

11

0.35 PU

171

Power Window Master Switch Right Rear Down Signal

12

1 BK

450

Ground

12

1 BK

450

Ground

X900 Body Harness to License Lamp Harness


Object Number: 39660  Size: CH

Object Number: 39661  Size: CH

Connector Part Information

  • OEM: 12047785
  • Service: See Catalog
  • Description: 4-Way F Metri-Pack 150 Series (BK)

Connector Part Information

  • OEM: 12047786
  • Service: See Catalog
  • Description: 4-Way M Metri-Pack 150 Series (BK)

Terminal Part Information

  • Terminal/Tray: See Terminal Repair Kit
  • Core/Insulation Crimp: See Terminal Repair Kit
  • Release Tool/Test Probe: See Terminal Repair Kit

Terminal Part Information

  • Terminal/Tray: See Terminal Repair Kit
  • Core/Insulation Crimp: See Terminal Repair Kit
  • Release Tool/Test Probe: See Terminal Repair Kit

X900 Body Harness to License Lamp Harness

Pin

Wire

Circuit

Function

Pin

Wire

Circuit

Function

A

0.35 BN

2209

Rear Park Lamp Supply Voltage (T90)

A

0.35 BN/WH

309

Rear Park Lamps Supply Voltage

0.35 BN/WH

309

Rear Park Lamp Supply Voltage (without T90)

B

0.35 BK

1050

Ground

B

0.5 BK

1050

Ground

C

0.35 L-BU

383

Trunk Release Control (UHA/UHF)

C

0.35 L-BU

383

Trunk Release Control (UHA/UHF)

D

0.35 BK

1051

Ground (UHA/UHF)

D

0.35 BK

1051

Ground (UHA/UHF)