GM Service Manual Online
For 1990-2009 cars only

Rear Seat Back Cushion Frame Replacement with AM9


Object Number: 1970221  Size: MF

Callout

Component Name

Preliminary Procedure

  1. Remove the rear seat back . Refer to Rear Seat Back Replacement .
  2. Remove the rear seat back cushion cover and pad. Refer to Rear Seat Back Cushion Cover and Pad Replacement .
  3. Remove the rear seat armrest, if equipped. Refer to Rear Seat Armrest Replacement .

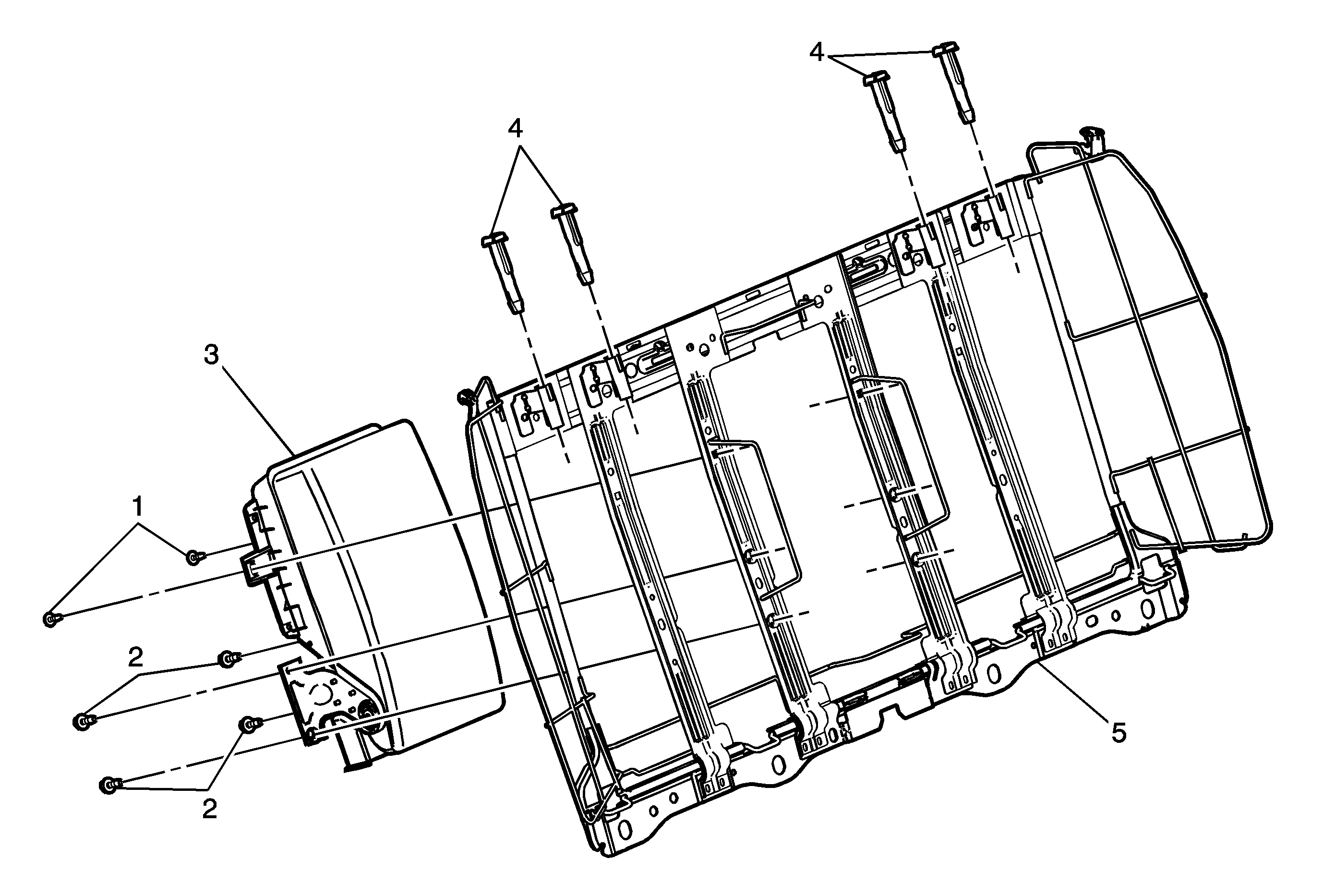
1

Rear Seat Back Cushion Opening Panel

Refer to Rear Seat Back Cushion Opening Panel Replacement .

2

Rear Seat Back Cushion Frame

Rear Seat Back Cushion Frame Replacement without AM9


Object Number: 1970222  Size: MF

Callout

Component Name

Preliminary Procedure

  1. Remove the rear seat back . Refer to Rear Seat Back Replacement .
  2. Reposition the rear seat back trim to gain access to the fasteners.

1

Rear Seat Armrest Screw (Qty: 2)

Notice: Refer to Fastener Notice in the Preface section.

Tighten
3 N·m (27 lb in)

2

Rear Seat Armrest Bolt (Qty: 4)

Tighten
9 N·m (80 lb in)

3

Rear Seat Armrest

4

Rear Seat Head Restraint Guides (Qty: 4)

5

Rear Seat Back Cushion Frame

Procedure

Transfer any remaining components as necessary.